声称中石油品牌的超星润滑油 多级代理模式包含七种奖励?
随着中国经济多年来的高速发展,润滑油市场规模不断扩大。近年来随着创新能力的增强,润滑油行业的精细化程度越来越高,产品品质不断提升。而我国作为全球最大的润滑油消费国,消费者对润滑油产品的需求愈加多元,润滑油总需求量呈现稳增长趋势。在此背景下,越来越多的润滑油中小品牌逐渐出现,其中就包括超星科技的超星润滑油。
据悉,超星科技致力于深耕汽车养护行业,基于长期市场实践的产业互联网积累,通过零成本裂变,快速吸纳创业伙伴。那么,声称打造民族品牌的超星科技到底是何来历?宣称为中石油自主品牌是真是假?其代理制度又有何特色?

公司背景 平台来历
据超星润滑油官方公众号显示,其经营主体为超星(大连)石化科技有限公司。据了解,超星(大连)石化科技有限公司成立于2020年,是一家以产品+全域服务+互联网思维、以人+店+私域流量为商业模式,致力于打造汽车后市场全闭合生态链的创业型企业。公司精准聚焦汽车后市场,搭建一个定位于高端和前沿的创新创业平台,紧紧围绕“人、车、生活、科技”四位一体的战略目标以及“科技赋能、数化标准、精准服务”的智能网联理念,为客户提供精准化汽车推送保养、专业维修与智能加装等产品和服务。

(图片来源:超星(大连)石化科技有限公司官网)
超星科技宣称要让国货出头,要在2022年底做到市场份额的1%也就是30亿人民币。

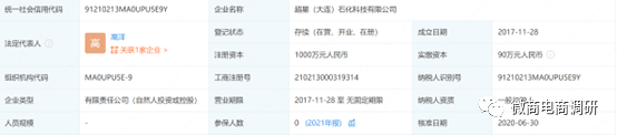
据企查查显示,超星(大连)石化科技有限公司成立于2017年11月28日,法定代表人为高洋,注册资本为1000万元,实缴资本90万元,参保人数0人。

(图片来源:企查查)
值得一提的是,据超星润滑油官方公众号显示,超星(大连)石化科技有限公司的董事长为李秉泽,此人二十一岁进入互联网营销领域,是中国最早的创业二代,拥有十二年以上互联网营销经验,带出大批年收入百万、千万创业者。创造了当年最短时间销售额过亿的行业记录,被誉为企业资源整合、模式创新、战略设计的顶尖高手。


背靠国企 中石油自主品牌?
据超星(大连)石化科技有限公司官网显示,“超星”是中国石油大连石化历经20余年精心打造的高端品牌,该公司也在其官方公众号中多次提到超星润滑油为中石油大连石化的自主品牌。

据企查查显示,中国石油大连石油化工有限公司的股东为中国石油天然气集团有限公司。

(图片来源:企查查)
但是,中国石油大连石油化工有限公司自身风险不断,该公司也曾受到行政处罚及在抽查检查中发现问题。

(图片来源:企查查)
为证实超星(大连)石化科技有限公司与中国石油大连石油化工有限公司之间的关系,我们致电超星(大连)石化科技有限公司,得到的回答是该企业并非中国石油大连石油化工有限公司旗下的企业,仅仅是合作关系。我们在其官方公众号也查到超星(大连)石化科技有限公司宣传其为中国石油大连石油化工有限公司超星润滑油的全国独家经销商。

但是为了进一步确认两个公司之间的关系,我们致电中国石油大连石油化工有限公司,回复称:“并没有听说过超星润滑油。”最后,我们致电中国石油天然气集团客服,该客服也称并未听说过超星润滑油,更多信息需要登记上报才能给予回复。因此,截至目前,超星(大连)石化科技有限公司与中国石油大连石油化工有限公司的关系还无法完全证实,其官方微信公众号宣传的超星(大连)石化科技有限公司为中国石油大连石油化工有限公司的独家经销商的说法也有待进一步的调查。
揭底制度多种奖励
接下来,让我们来了解一下超星科技超星润滑油的制度。据了解,超星科技计划要在全国市场招募10000名授权销售经理,声称要服务100万+客户。

据超星代理商发来的详细资料显示,超星的奖金制度分为两个板块,创业板块和产业板块。创业板块含有 VIP 会员、销售顾问和销售经理三个职称及五项奖励政策。产业板块展示了产业合伙人标准及相应福利分红,具体如下图所示:

上图中第一个奖励是销售提成:
1、用户购买845元套餐即可成为VIP会员,VIP会员销售一张卡奖金是170元;
2、直接销售5张卡升级为销售顾问,从第六张开始奖金是210元;
3、直接销售30张卡晋升为公司授权销售经理,以后所有直接销售奖金是270元。
第二个奖励是培训津贴,包含两个收入模型:
模型一:如果会员甲推广会员乙,会员甲收入是170元,顾问培训津贴是40元,经理培训津贴是60元。
模型二:如果会员甲推广会员乙,会员甲收入是170元,经理培训津贴是100元。

第三个奖励是管理提成:
团队每销售一张卡,不含推荐人,直属上两代(不限职级)各拿3%管理津贴,经理可拿5代。

第四个奖励是全国分红:
新晋经理首月即可享受全国当月销售业绩的3%分红,次月二组销售超过30张卡即可按照销售比例分红,销售越多奖金比例越高。(二组注解:除业绩最大销售团队外,其它所有销售团队的业绩总和。)
第五个奖励是产业合伙人分红:
产业合伙人标准:团队业绩累计达到150万元,5个直属团队有分红经理,即可成为产业合伙人,获得全国当月新增营业额的2%平均分红和全国当月复购营业额的3%平均分红。
第六个奖励是销售经理合作要求及权益:
1、经理加盟身份:个体工商户经营者/个人
2、合作要求:
1)团队累积300张卡,二组不低于100张卡升级经理;
2)直接销售30张卡(直升副卡可过户)。
注:全国前期只开放10000个经理名额,名额有限。
3、合作权益:
1)拥有公司合作门店的推广权及对应推荐奖励;
2)拥有公司市级、区县级代理推广权及对应推荐奖励;
3)获得公司全国批发商代理权及对应奖励;
4)享受公司柴、机油、工业用油订货批发价格;
5)享受晋升公司产业合伙人资格。
第七个奖励是复购提成:
1、成为会员,重复购买时公司补贴300元,15000公里保养礼包只需要花费 545元即可;
2、在团队中,会员复购,顾问拿845元的5%提成,经理拿845元的10%提成。
民营润滑油企业想要拓宽市场渠道、提升品牌价值其实更需要的是满足日渐严苛的消费者需求,避免产品同质化,升级产品质量才是获得市场的保障。而且在大品牌润滑油占有较大市场的情况下,想要通过诱人的奖励制度拓展市场似乎是行不通的。至于“立志打造中国民族品牌的高端润滑油”的超星科技未来会如何发展?对此,微商电商调研将继续保持关注。












