德州市水利工程招投标遭质疑:招标人中标人为同一单位
为了维护公平公正的市场竞争秩序,我国加大了对招投标领域违法违规行为的查处力度,坚决打击招投标过程中的各类乱象,净化市场环境,促进市场经济健康发展。然而,近日有知情人士称,近年来,为数不少项目的招标人和中标人均为德州水利局旗下单位,招投标流程是否公允遭到质疑。
2024年3月2日,德州市马颊河(津期店闸上段)综合治理工程(一期)中标结果通知显示,施工标中标人为德州市水利局水利施工处,招标人为德州市河道管理服务中心,中标价为7558904元。
2024年1月22日,德州市河道管理服务中心水利工程震后维修加固项目成交公告显示, 中标人为德州市水利局水利施工处,招标人为德州市河道管理服务中心,中标价为198.7 万元。

(图源:天眼查)
值得注意的是,上述项目的中标人和招标人均为德州市水利局旗下单位。

(图源:天眼查)
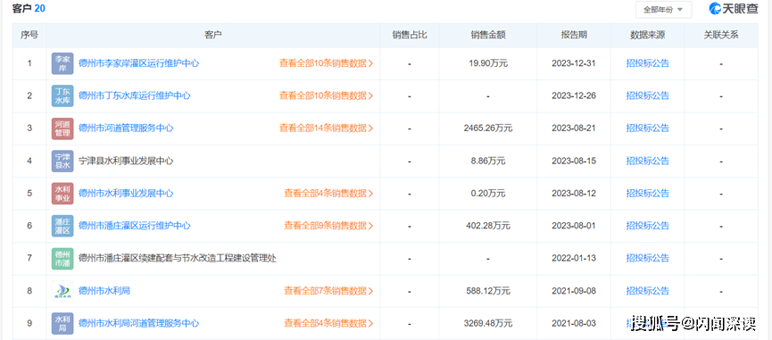
实际上,除了德州市河道管理服务中心外,近年来德州市水利局水利施工处的大部分客户均来自德州市水利局举办的单位。
如,德州市李家岸灌区运行维护中心、德州市丁东水库运行维护中心、德州市水利事业发展中心、德州市潘庄灌区运行维护中心、德州市水利局河道管理服务中心、德州市水利局小王庄扬水站管理所以及德州市水利局芦家河扬水站管理处。
这些近年来常被德州市水利局水利施工处中标的单位,举办单位均为德州市水利局,甚至德州市水利局也曾是德州市水利局水利施工处的客户。
天眼查显示,上述“客户”中,德州市河道管理服务中心对德州市水利局水利施工处的贡献最大,近3年来销售数据为15条,中标金额约为5亿元左右。其他“客户”,也有少则数十万元多则数千万的合作金额。
据了解,《中华人民共和国招标投标法实施条例》早有规定,投标人参加依法必须进行招标的项目的投标,不受地区或者部门的限制,任何单位和个人不得非法干涉。
第三十四条也明确规定,与招标人存在利害关系可能影响招标公正性的法人、其他组织或者个人,不得参加投标。单位负责人为同一人或者存在控股、管理关系的不同单位,不得参加同一标段投标或者未划分标段的同一招标项目投标。 违反前两款规定的,相关投标均无效。
“一个单位下的两家企业,一个招标另一个中标,招投标流程是否公正难免让人产生怀疑。”有业内人士认为。












