贵州安酒“难安”:被曝业绩低迷、高管出走 储酒能力偏低

姜文一句“这酒讲究”,让贵州老牌名酒安酒再度走红,然而似乎好景不长。
近日,蓝鲸财经记者接到爆料称,2022年安酒销售不到2亿元,今年表现比去年还差。业绩下滑致使人心动荡,高管出走,销售人员频现离职。
安酒经历过辉煌、破产,现归于联美集团旗下,这家老名酒能够复兴吗?
人员动荡
6月15日,蓝鲸财经记者接到爆料称,姜文一句“这酒讲究”走红的安酒正遭遇滑铁卢。
据爆料人称:“2022年安酒销售不到2亿元,今年表现比去年还差。业绩下滑致使人心动荡,安酒总裁路通、安酒品牌市场总监赵锐剑近两年相继跳槽,安酒副总裁、销售中心总经理谭小林似也有离意;不仅如此,销售人员大批离职,有的绩效还拿不到。前几年安酒扩大产能,但业绩不好,酒卖不出去,产能提高了但是储酒能力并不匹配,部分生产出来的酒没有地方存储。”
为确认上述爆料,蓝鲸财经记者联系到安酒方面,对方表示,谭小林并未离职,仍然在岗。路通与赵锐剑离职系基于个人发展和个人原因。由于不是上市公司,业绩没有予以公开披露。
对于销售人员离职潮,对方没有正面回答,仅表示,目前经济环境疲软,消费降级,白酒行业销售受到一定影响。
“新厂区是在持续地建设过程,还在有条不紊地推进,关于储酒能力不见得是这样的一个情况,这也可能需要跟基建去做一些确认。”安酒方面称。
蓝鲸财经记者在中国裁决文书网上找到一份安酒与销售人员的劳动争议的审判书,或可为上述爆料提供部分佐证。
该裁决书显示,原告薛群于2021年2月1日入职遵义安酒销售有限公司,任青岛办事处经理,负责青岛、烟台、威海地区的酒水销售及管理工作。双方签订了《劳动合同书》。2021年11月,安酒向原告出具《辞退通知函》后,原告申请了劳动仲裁。其后,原、被告对仲裁裁决均不服起诉至法院。

图片说明:法院判决结果 来源:中国裁决文书网
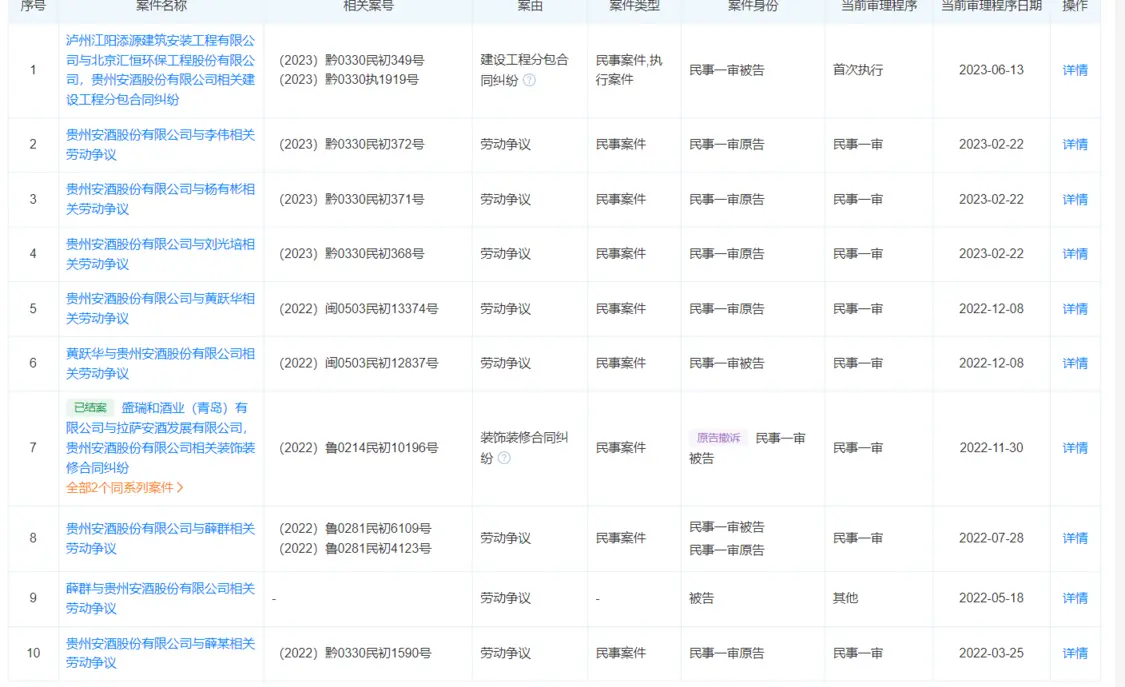
同时,根据天眼查显示,自2022年以来,安酒与多人分别存在劳动争议的案件。

图片来源:天眼查
资深酱酒专家、权图酱酒工作室总经理权图对蓝鲸财经记者表示,今年酱酒行业普遍业绩不太理想,销售下滑是正常的。这是一个需要长周期来看的赛道,长期还是看好安酒,既有老名酒的基因和资金实力,产业基础也比较扎实。
坎坷名酒路
安酒是贵州老八大名酒之一,起源于1930 年,遵义人周绍成创立“醉群芳”酒坊。建国后,1951 年“醉群芳”更名为“安酒”,成为贵州首批国营酒厂。
据媒体报道,1985年贵州安酒联营公司开业销售额为200万,利润26万。而到了1989年,联营公司销售额实现1825万元,利润达到107万,在五年时间里,销售额和利润分别增长8倍和3倍。
公开资料显示,1992年,安酒突然衰落。至于原因,有说法是20世纪90年代安酒决定发往北京、天津等主要销售地区的1万吨安酒,由集团下属分厂、作坊参与勾兑包装。不料想却让“假安酒”钻了空子走向市场,极大地损害了安酒的声誉。也说是因为当时安酒兼并了不少小酒厂,但品控方面没有把好关,使得安酒品质不稳定。再加上经济环境、债务原因等,总之,安酒成为当时贵州名酒中第一家倒闭的酒厂。不过,上述说法并未得到安酒确认。
2008年前后,安顺市中级人民法院裁定宣告贵州安酒集团总公司破产。同时,联美(中国)投资集团全面收购安酒集团,使其成为联美集团旗下公司。
据了解,联美集团成立于1997年,背后集团掌舵人是潮汕首富苏氏家族——苏素玉、苏武雄、苏冠荣、苏壮强、苏壮奇,其产业涵盖综合能源、地产运营、大消费、科创、新能源及产融服务,核心成员企业除了安酒外,还包括两家上市企业联美控股(600167.SH)和兆讯传媒(301102.SZ)等。
蓝鲸财经记者翻阅了两家企业的财报,也并未披露安酒的销售数字,但有关联交易的往来记录。
在联美控股2017年财报中,采购安顺安酒销售有限公司购酒款为29.21万元,但在2018年财报中,该款项上期发生额却变成了47.63万元。
蓝鲸财经记者就两项数字不一致向联美控股董秘办询问,对方表示需与财务确认此事。截至记者发稿尚未得到回复。
此外,根据联美控股财报显示,自2015年至2022年,采购安酒关联购酒款总计612.23元。但出售广告发布关联交易为近4000万元。

来源:联美控股购酒款明细

来源:联美控股广告发布明细
不仅如此,据兆讯传媒财报显示,2020年4月,安酒集团“安酒赤水酒谷”计划正式开启,建成后将实现年产 3万吨大曲酱香制酒、6万吨优质高温大曲,以及18万吨陶坛储酒,为开拓市场,配套的广告投放大幅增加,仅2020年度在兆讯传媒投放1112.87万元的广告。
香颂资本董事沈萌对蓝鲸财经记者表示,从关联交易的数据来看,购酒规模较小,更像是同一实控人集团内部的帮扶,用于上市公司的商务宴请等。












