福华化学被罚26万余元:此前因拟IPO募集60亿资金被质疑
近日,通过“企查查”APP获悉,福华通达化学股份公司(以下简称:福华化学)因未取得建设工程规划许可证进行建设,于2024年7月3日被乐山市五通桥区综合行政执法局依据《中华人民共和国城乡规划法》第六十四条,作出罚款人民币260017.72元的行政处罚(决定书文号:川1112综执处〔2023〕175号)。

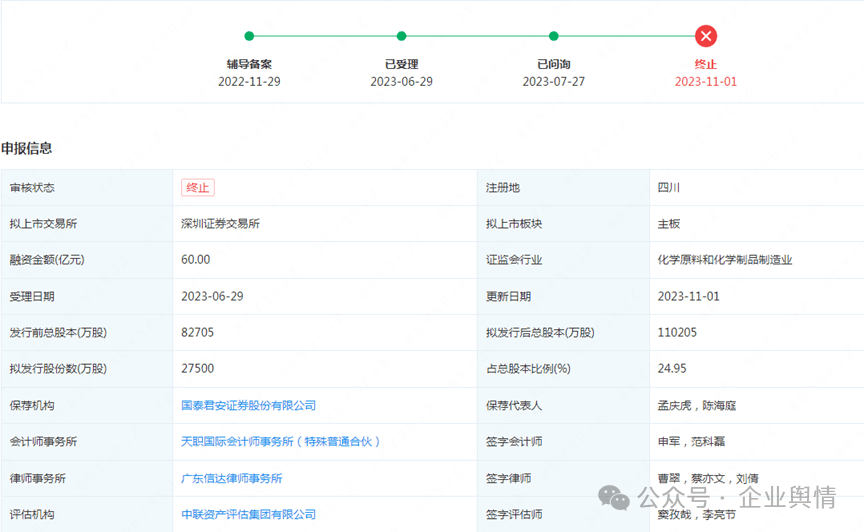
公开信息显示,福华化学于2022年11月29日进行IPO的辅导备案,2023年6月29日被深圳市证券交易所受理,2023年7月27日深圳证券交易所向福华化学发出第一轮审核问询函,其中就公司大额分红的合理性、控股股东将分红所得用于归还所欠公司款项、拟将相当比例募集资金用于补充流动资金及偿还银行贷款等事项,进行了重点审核问询,要求发行人予以充分说明,要求保荐机构、会计师事务所审慎核查并发表明确意见。发出问询函截止23年9月,福华化学的上市申请一直处于“中止审核”状态,直至2023年11月1日,深交所公告决定终止对福华化学的上市审核。

其中,福华化学在申请IPO上市申请前的大额分红问题倍受争议,早在2021年5月,向股东分红7亿元,2022年9月福华化学又审议通过了向股东分红26亿元的议案。而在2022年,福华化学的净利润为27.7亿元,两年时间合计分红33亿余元。
此次IPO上市,福华化学拟募集资金60亿元,招股书披露60亿资金预计用于4个项目投资,其中将27.5亿余元的资金用于补充流动资金及偿还银行贷款。
直至2023年11月1日,深交所发布一则《关于终止对福华通达化学股份公司首次公开发行股票并在主板上市审核的决定》公告后,闹的沸沸扬扬的福华化学IPO才告一段落。
《关于终止对福华通达化学股份公司首次公开发行股票并在主板上市审核的决定》中显示,根据《深圳证券交易所股票发行上市审核规则》第六十二条的有关规定,深交所决定终止对福华通达化学股份公司首次公开发行股票,并在主板上市的审核。












