频遭罚款警告、身背大量诉讼 北京雅靓医疗美容问题多
医美让人更美,但更多时候也会让人变得无语、烦躁、痛苦。
近期,一家名为北京雅靓医疗美容诊所的医美机构引起我们的注意。原因在于,有众多消费者对该机构的服务和体验提出不满,言辞之中不乏有激烈的控诉之意。
值得注意的是,在网络上搜索一圈可以发现,北京雅靓医美早已是消费者“避坑”常客,而且在相关监管机构那里,该医美机构也频频遭遇罚款、警告。
公开信息显示,北京雅靓医美背后的主体公司是北京康得宝医疗技术发展有限公司,成立于2004年。对于这样一家成立至今已经长达20年的老牌医美机构而言,他是如何一步步成为消费者与监管部门的“眼中钉”的呢?
北京雅靓医美,除了便宜“一无是处”?
近期,在美团、大众点评等平台中关于北京雅靓医美的差评接连不断,让人们在看待这家老牌医美机构时,难免多了些唏嘘的意味。
医美市场蓬勃发展的时代背景下,各类新医美机构如雨后春笋一般涌现出来,这决定了医美市场环境竞争激烈,各机构之间也注定会面临相互取代。
不得不说,当一家医美机构开始在品牌口碑层面陷入危机,那么至少在竞争力上,他已经与那些服务更好、体验更佳的医美机构形成了差距,北京雅靓医美目前的表现就是代表。

以最近一年的客户评价为例,消费者对于北京雅靓医美“无明显效果”、“诊疗技术差”、“效果差”、“有推销”、“环境脏乱”等方面的印象值得关注。
“本来是去做热玛吉的,麻药敷完都过敏成那样了医生居然还和我说能做…当时要是听医生的继续做热玛吉现在一定毁容了,想想都后怕”,“价格是真的便宜,效果不太好”,“永远约不上,说就是满了,真的很无语”,“每次预约到了以后都要等一个多小时,服务人员态度很差,建议不要来”,“很差打歪了,很淤青,不解决,医术不精”。
能够看到,在基本的服务体验和专业性上,北京雅靓医美都在面临质疑。
此外,“一点效果都没有,排队时间很长,打的也很疼”,“这家跟流水线作业似的,预约跟没预约一样”,“事实证明,便宜的东西除了便宜之外一无是处”,“跟菜市场一样,一大屋子人等着。买了套餐,接待的销售拽的跟二五八万似的,全程黑脸”,“治疗室里,一个销售直接搬着凳子坐顾客旁边,软磨硬泡的说有考核任务,要求给好评,一直一直磨,直到最后顾客把手机给销售去写的(估计好评都这么来的)”。
面对近乎全方位的客户差评,北京雅靓医美很难把自己“摘”出去。
处罚与诉讼不断,经营风险需警惕
在北京雅靓医美身上,还存在着诸多行政处罚与诉讼。

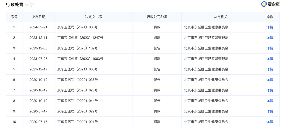
今年2月,北京市东城区卫生健康委员会对北京康得宝医疗技术发展有限公司雅靓医疗美容诊所使用非卫生技术人员从事医疗卫生技术工作案,开出罚款29000元的罚单。
去年底,因涉嫌使用未经注册的医疗器械,北京市东城区市场监督管理局对北京康得宝医疗技术发展有限公司雅靓医疗美容诊所作出行政处罚,责令当事人改正上述违法行为,并处以警告+罚款20000元,同时没收非法财物。
同样是在去年底,北京市东城区卫生健康委员会对北京康得宝医疗技术发展有限公司雅靓医疗美容诊所未按医疗器械使用说明书、未遵守医疗器械适用范围使用医疗器械案作出行政处罚。
去年7月,北京康得宝医疗技术发展有限公司雅靓医疗美容诊所被查处发现经营场所大厅墙上悬挂的有标有“中国医师协会诚信机构——中国医师协会——二零零六年十月”字样的牌匾其实是假的。
经协查,中国医师协会复函称其未向任何机构授予过“中国医师协会诚信机构”名誉称号。北京市东城区市场监督管理局执法人员对当事人被授权人张研研进行询问调查确认了其悬挂上述牌匾涉嫌虚假宣传的事实。当事人称该荣誉授牌于2004年由其委托北京众鑫鼎盛文化广告传媒有限公司代理申请,于2006年颁发,由当时的顾问马慧生在会后拿回其单位,其单位一直认为是中国医师协会颁发授予的。其单位除了在大厅悬挂该牌匾,还在其经营的悦美平台店铺的“店铺介绍”中发布了该牌匾及内容的照片用于宣传。上述事实有现场检查照片、协助调查函复函、情况说明等证据佐证。对此,北京康得宝医疗技术发展有限公司雅靓医疗美容诊所又领到了20万元的巨额罚单。
2021年底,北京市东城区卫生健康委员会针对北京康得宝医疗技术发展有限公司雅靓医疗美容诊所未按规定封存病历资料案,对其处以警告、罚款10000元的行政处罚。
遭遇众多行政处罚之外,北京雅靓医美也身背大量诉讼,涉及融资租赁合同纠纷、医疗服务合同纠纷、民间借贷纠纷、肖像权纠纷等。

整体来看,北京雅靓医美存在着大量问题,不论在服务消费者层面还是在合法合规层面都有待进一步整顿和提升。希望随着医美市场越来越健康透明,北京雅靓医美能够早日摆脱泥潭。












