消费者投诉不断、陷入经营异常 郑州集美美容医院求锤得锤
郑州医美市场中,郑州集美美容医院曾经一度算得上是“臭名昭著”。
作为一家“中原地区经营规模和品牌知名度及技术实力兼具的医美机构”,郑州集美美容医院在2021年前后因医患纠纷而招致了不少媒体的曝光。诸如“霸王条款?郑州集美整形医院:闭不上眼睛?可以先鉴定再投诉!科室承诺没用”、“女子在郑州集美整形医院隆胸后假体移位、无知觉,面临切除风险 医院:跟个人体质有关”的新闻也让这家医美机构在很长一段时间里都面临着消费者的质疑。
值得注意的是,即便一度成为医美市场的曝光典型,郑州集美美容医院似乎却并未引起足够的重视。公开信息查询可以发现,如今的郑州集美美容医院不但已经沦为失信被执行人,而且在消费者投诉层面依旧持续不断。
从某种程度上来看,本就争议在身的郑州集美美容医院也算得上是“求锤得锤”了。只是可惜,在此过程中,不知又有多少消费者遭遇了不愉快的体验。
经营异常,郑州集美风险多
天眼查信息显示,郑州集美美容医院目前已经被标上了“经营异常”、“竞争风险”、“失信被执行人”、“被执行人”、“股权冻结”、“司法案件”等大量风险标签。

而点击风险详情可以发现,关于郑州集美美容医院的各类问题可谓五花八门。
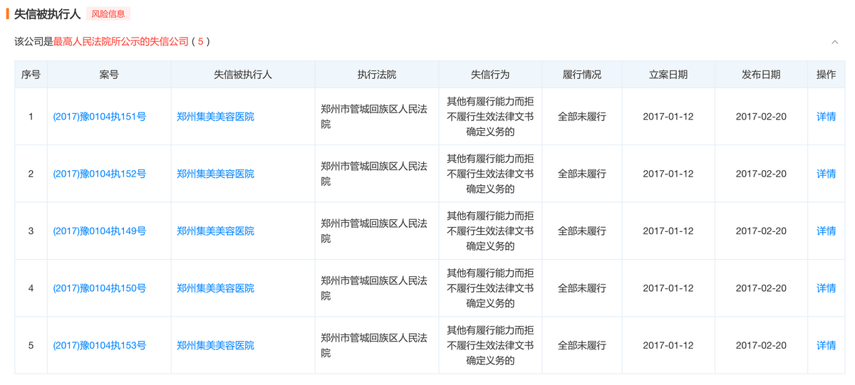
首先,郑州集美美容医院是最高人民法院所公示的失信公司,涉及相关案件多达5条,全部是“有履行能力而拒不履行生效法律文书确定义务”。

其次,还有更多被执行案件正在进行中,从当前郑州集美美容医院还有数个案件未能履行的情况来看,该机构身上的失信被执行人风险还有很多。

由于屡屡成为失信被执行人,郑州集美美容医院及其关联对象吴洪鸣还被法院列为限制高消费企业,也就是我们俗称的“老赖”。
与此同时,在郑州集美美容医院身上,也不缺因违法违规行为而遭受的行政处罚。

2016年至2021年期间,郑州集美美容医院曾多次被当地市场监督管理局等部门处以罚款,涉及原因包括未按照医疗器械说明书和标签标示要求储存医疗器械、使用非卫生技术人员从事医疗卫生技术工作等。
对于这样一家既是“老赖”又拥有众多违法前科的医美机构,消费者该如何信任他?郑州集美美容医院未来又该如何继续凸显自己在医美市场中的专业性、为更多消费者提供良好的消费体验?
消费者投诉不间断,改善服务迫在眉睫
在黑猫投诉等消费者服务平台,我们还能发现关于郑州集美美容医院的消费者投诉从未间断。这也就意味着,不论是过去还是现在,该医美机构都存在着大量的“风险”,而这些风险将长期破坏机构表面风光之下的品牌形象,让消费者在知悉了“真相”之后,难以对机构产生信任。

今年5月,一位消费者投诉郑州集美美容医院“退款流程不合理”。据悉,“我在2021年2月中旬期间先是在新氧app上购买了郑州集美美容医院的美容项目”,“这个项目因为当时皮肤状况一直没做,后来因为工作调动去了其他地方,导致直到现在这个项目也是保留状态,没有消费掉。期间我有在他们来电时表示要退款,可是一直在推脱表示退不了,后来跟我说让我再考虑一个月如果实在不方便回去再来申请退款,那也就是表示是可以线上退的”。“2024年5月28日,也就是今天,他们又来电话表示如果这个项目我要是不做就会逾期作废,就做不了了,也退不了费了,要想退费就本人来店才能退。我表示他们这个退费流程有问题,且单方面决定是否逾期且不退费的这个行为与法律不合,故此投诉”。
无独有偶,另一则题为“郑州集美整形医院充值预收款不退”的投诉也显现出郑州集美美容医院的“退款难”问题。
“2021年10月2日在郑州集美整形医院几名工作人员轮番诱导下,说国庆有充值活动,充值三万元送六千元,因为当时考虑想做鼻整形,就交了钱(没有签署任何合同),后来因为身体原因,不能做,就联系工作人员要求退款,工作人员以各种理由推脱,说我在缴费单上签的有名字,不能退”,“但是我从来未签过任何字,打开缴费单看了一下,竟然连名字都是错别字,把李娣的娣写成了睇,是工作人员冒充我签的确认单,我自己怎么可能写错名字”。“而且后来还发现,我们在医院700元买的针剂,集美医院的美团上只卖260元,我们医院500买的项目,美团只卖79元,瞬间觉得医院太坑人了。我自充值后,没有享受到医院的任何服务,也没有占用医院任何资源,退款合理合法。现在想请求医院退回我充值的三万元”。
去年3月,另一位消费者投诉郑州集美美容医院“恶意营销使我填充过度抑郁”。
按照消费者的说法,“2022年12月25日郑州集美美容医院一位美学设计师恶意推销玻尿酸,效果很不满意后进行溶解,导致我脸发泡,之后一直说脸上量不够需要继续填充,导致脸更加肿胀,身心都处于极度抑郁中,医院相关一直推卸责任说是过度焦虑,我自己的脸自己是最清楚的,利用消费者想要变美的想法过度推销,不顾消费者的权益,填充物正规与否和是否有医师资格证都待调查,本人已经处于极度抑郁中,花钱找罪受,并且对我身心都造成了极大的伤害”。
2022年10月,郑州集美美容医院还曾卷入一起“烧伤顾客脸部不负责任”的投诉。
“10月1日我通过新氧平台下单了郑州集美医疗美容医院的超皮秒订单,术前我的皮肤是有红褐色痘印和一些小雀斑,皮肤完好。在集美做完超皮秒后脸部出现硬币大小灼伤,且面积越来越大”,“该医院张医生说水泡是皮秒术后正常现象,治疗后伤口更严重了又让我买抗菌药治疗。我咨询了医美行业的医生,都说我的灼伤不可能是正常皮秒水泡,而是医院能量用的过高或者用了假机器。该医院美容顾问仅在我术后跟我发了一句多补水注意防晒,我完全按照他们的要求做了,但该美容顾问声称我是自己想象出来的医疗事故,说我是自己没有护理到位”。
问题多多的同时又问题不断,郑州集美美容医院是时候引起足够的反思了。












