达飞云贷非吸案实锤:实控人被限制高消费 关联公司高管被查
继今年3月网传被立案的消息后,日前秦皇岛警方的一纸通告,终于将达飞云贷科技(北京)有限公司(简称:达飞云贷)涉嫌非吸案实锤。
达飞云贷大股东为深圳达飞科技控股有限公司(简称:深圳达飞),实控人为高云红。高云红控股的港股上市公司旭通控股今年来股价已下跌85%,当前股价仅为0.173港元,总市值仅剩2.3亿港元。

警方受理达飞云贷秦皇岛分公司非吸案
12月21日,秦皇岛海港公安分局披露一则案情通告,称已受理海港区达飞秦皇岛西港路分公司等公司非法吸收公众存款案。同时,警方呼吁达飞公司线下出借人积极报案登记,以推进办案。

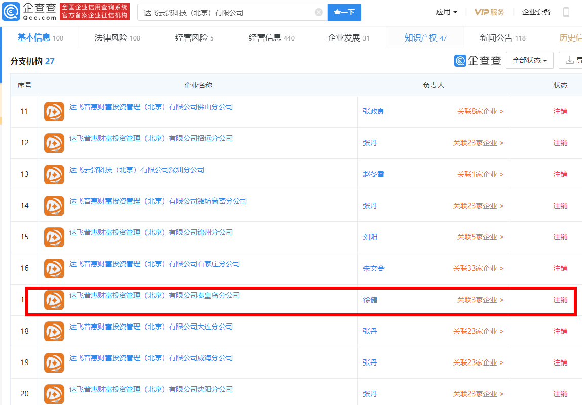
企查查显示,达飞云贷此前的名称叫达飞普惠财富投资管理(北京)有限公司,在国内总共设有27家分公司,现已全部注销。
其中,达飞秦皇岛分公司设立于2013年7月,负责人是徐健,该分公司2017年8月16日被注销,曾经的经营地址就在秦皇岛市海港区西港路。

2012年10月30日,达飞云贷总公司在北京成立,注册资本5亿,法人为张术平,高云红担任经理。据官网信息显示,达飞云贷还是中国互联网金融协会成员,公司主要以P2P为主营业务。
股东方面,达飞云贷的大股东为持股85%的深圳达飞。股权穿透后,高云红间接持股93.58%,为达飞云贷的实际控制人。

事实上,早在今年3月,就曾有北京朝阳警方对达飞云贷以涉嫌非法吸收公众存款罪进行刑事立案的消息传出,但由于未见朝阳警方的正式通报,于是关于达飞云贷被立案的传闻一直未能得到证实。
此次随着秦皇岛警方对达飞云贷分公司的立案受理,达飞云贷涉嫌非吸一案终于实锤。
曾被法院列为“老赖”,高云红被限制高消费
今年5月,在被传立案后,达飞云贷还新增了两条失信信息。
据企查查显示,达飞云贷因与两位出借人之间存在民间借贷纠纷,被法院判决偿还两位出借人合计650万元的借款本金,以及年利率21%为标准的相应利息。
结果,达飞云贷在法院判定的期限内,未能如期向两位出借人履行金钱给付义务,被北京市朝阳区人民法院列为“失信被执行人”(俗称“老赖”),失信的具体情形是“有履行能力而拒不履行生效法律文书确定的金钱给付义务”。

作为达飞云贷的法人,张术平被法院下发限制消费令,不得乘坐飞机、高铁等高消费行为。
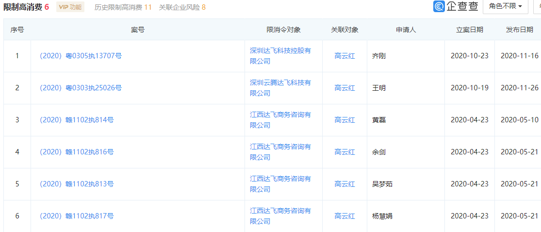
另外,今年以来,作为达飞云贷实际控制人的高云红,也因旗下深圳达飞等公司牵扯的诉讼纠纷,被法院六度下发限制消费令。

高云红控股的旭通控股业绩转亏
事实上,高云红除了是达飞云贷的实际控制人,其还是港股上市公司旭通控股(01826.HK)的创办人、最终控股股东,曾担任旭通控股董事会主席及执行董事。
旭通控股原名为“达飞控股”,2017年11月,达飞控股借壳香港创业板的丰展控股上市,并转板港交所主板交易。彼时据其2018年年报显示,当年达飞控股新增的金融业务收入为7170万港元,毛利为5910万港元,毛利率达到82.3%。
随着金融业务注入上市公司,达飞控股业绩爆发式增长。2019年半年报显示,达飞控股实现收入6.41亿港元,同比增长了109.418%。净利润为1.82亿港元,增长了74.83倍。
不过,随着网贷行业走向没落,达飞云贷于2019年11月6日对外宣布启动战略转型,并停止P2P业务。彼时,实控人高云红及高管团队承诺自愿降薪50%,直至客户兑付全部完成。
今年3月24日,达飞云贷在官方微信号达飞乐投发布公告称,已完成了三期兑付,将启动第四期兑付工作。但是实际兑付进展并不理想。
而就在此前一日,达飞云贷传出被立案消息,而被立案的原因或与兑付迟缓投资人和平台间矛盾激化有关。彼时,达飞控股的股价曾连跌四日,累计下挫69%。
在达飞云贷被传立案前夕,达飞控股还于3月20日发布公告称,公司名字将由达飞控股有限公司改为旭通控股有限公司。
据2020年半年报显示,旭通控股今年上半年的收入仅为2.14亿港元,同比大幅下滑66.7%;公司拥有人应占亏损达9925万港元,而上年同期为盈利8609万港元。

旭通控股前董事会主席被查
事实上,除了达飞云贷,达飞旗下还有达小宝、智惠乐投、币港湾和达达乐投等众多网贷平台。据媒体此前报道,达飞系平台累计待还存量超过80亿。
企查查显示,达飞旗下网贷之一的币港湾,其运营主体为杭州币港湾科技有限公司,成立于2016年5月4日,注册资本5000万元,法人为王晶。
币港湾的大股东是深圳达飞旗下的杭州安飞港投资管理合伙企业(有限合伙),持股60%。股权穿透后,高云红间接持股60.32%为实际控制人。

今年2月24日,达飞控股发布公告称,由于高云红有意专注于其他事务,故已由执行董事及董事会主席调任为非执行董事,而接任者则为王晶。
今年9月16日,杭州市公安局江干区分局通报称,已依法对杭州币港湾科技有限公司涉嫌非法吸收公众存款案立案侦查。彼时,公安机关已对王某等四名犯罪嫌疑人采取刑事强制措施,同时累计查封不动产8处,并冻结相关股权。
11月26日,改名后的旭通控股发布公告称,王晶因个人理由已辞任董事会主席及执行董事职务。原因是其正接受司法机关调查。

彼时,旭通控股极力强调,有关王晶的调查是其个人事务,与旭通控股无关。王晶辞任后,将不再是公司任命委员会主席兼成员。王晶的辞任及调查不会影响公司正常业务营运。
目前,旭通控股公告称公司执行董事已为冯雪莲及吴建韶山(行政总裁)。不过,据旭通控股的官网信息显示,高云红仍为旭通控股董事会主席兼执行董事。













