“中整协”认证体系漏洞百出:莆田系5A级医美机构臭名昭著
近年来,中整协的“A等级医疗美容机构”认证逐渐成为各美容机构的宣传重点,也成为消费者选择服务机构的重要参考。
然而,一美社发现,中国整形美容协会(中整协)的A级认证实为民间自律评价,非官方背书,其认证过程依赖行业内部监督,公信力受质疑。而且中整协曾对参评单位收费,成为会员也需缴纳高额会费,且申请门槛低。部分医美机构利用“中整协会员单位”抬头进行虚假宣传。
同时,中整协多次将莆田系“艺星”美容医院评为5A级机构,但艺星医美多次被媒体曝光整形事故,2024年,艺星在医美行业消费者投诉中数量高居榜首。如上海艺星导致顾客面部肿胀需百万手术费,杭州艺星术后致顾客需切开引流,大连艺星更因隆胸手术导致顾客死亡。而艺星集团旗下多家机构存在多项关联风险和司法诉讼。
中整协的公信力令人堪忧
中国整形美容协会(简称“中整协”)的5A认证常被包装为“官方背书”,但其本质是民间社会团体的自律性评价。
中整协成立于2009年,是由民政部正式登记注册的“行业性社会组织”,并不隶属于国家卫生健康委员会(国家卫健委)或其他官方直接管理部门。这种非官方的属性,使得认证过程中可能存在利益关联和偏袒现象。
一美社发现,近几年中整协的A级评价不再公布收费,不过,在2020年之前,参与评价的企业单位都需缴纳相应费用。这严重影响其评价的公信力。
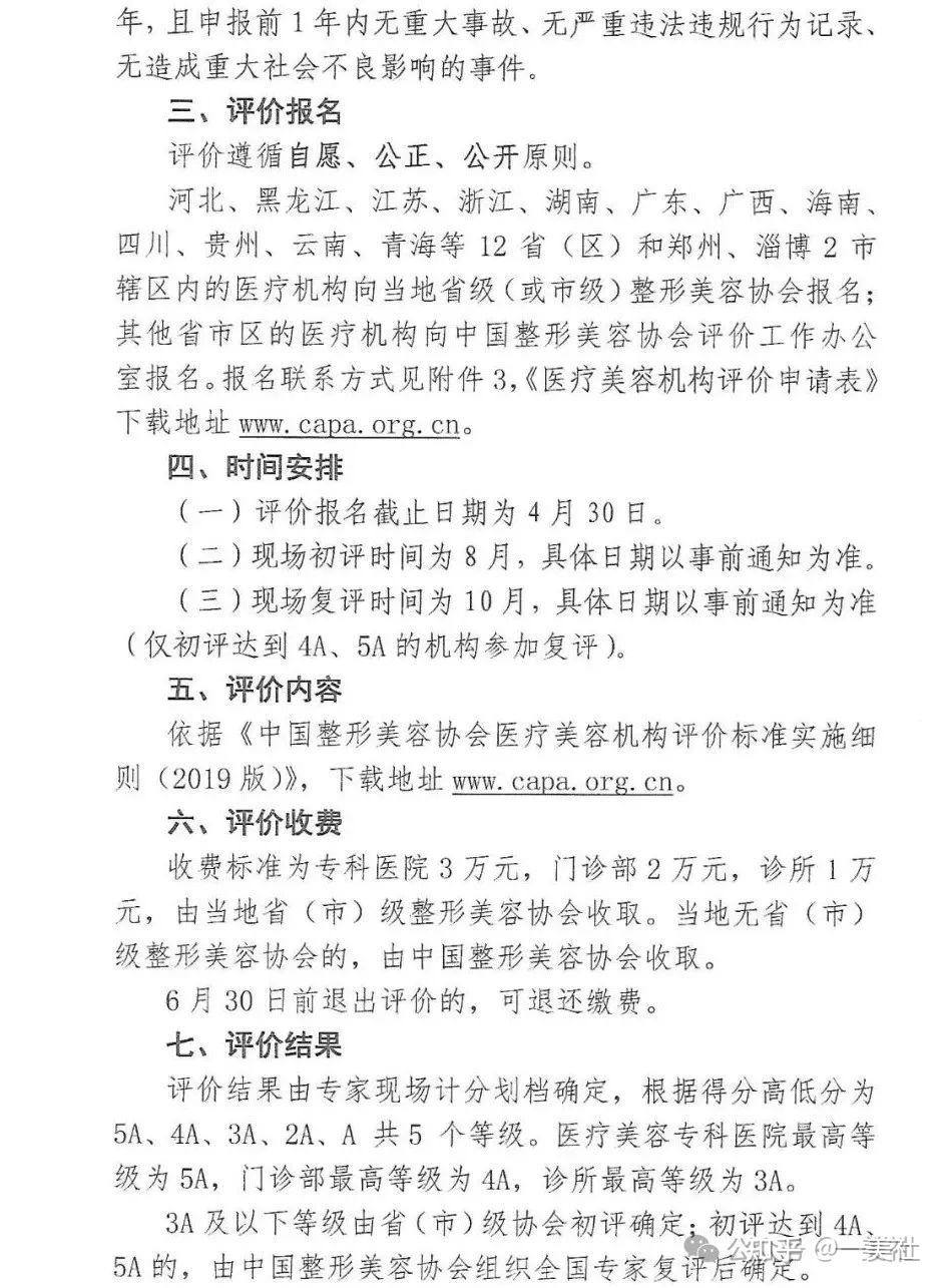
中整协2019年A级评价报名公告显示,“收费标准为专科医院3万元,门诊部2万元,诊所1万元,由当地省(市)级整形美容协会收取。当地无省(市)级整形美容协会的,由中国整形美容协会收取。”

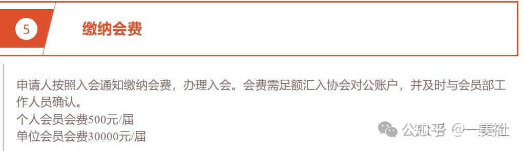
此后,中整协的A级评价公告不再标明收费,不过,一美社发现,要成为其会员依然要缴纳不低的会费。其在2025年2月11日发布的会员招募通知上,赫然写着“个人会员会费500元/届,单位会员会费30000元/届”。

成为中整协的会员之后也是“好处多多”,如被授予会员单位铜牌及证书,会获得20名个人会员的名额,可以优先在协会公号及各平台被展示,优先获得协会提供的信息和其他服务等。

一美社打开中整协公众号会员报名界面发现,申请其单位会员只需要填写单位名称、执照编号、公司介绍等基本信息,同时上传企业logo、企业营业执照、行业许可证书、企业荣誉证书等。交费一周后便可获得批准。
换言之,要成为中整协的会员只需要进行缴纳相应的费用并填写相应的信息,被审核通过后便可获得。并没有太高的门槛。


但不少付费的医美整形机构却将此作为其宣传的“噱头”,打着“中整协会员单位”的旗号对外宣称,此乃“中整协对机构的官方背书”,是中整协对其的“高度嘉奖和充分认可”,顶着这一“殊荣”,便可证明自家更合规,更值得消费者信任。

事实却是,其中不乏小作坊,更有在近一年内存在违法事实的机构。例如“徐州医科汇美美容医院”在2024年11月因违反消防法相关规定,被责令停止使用,并处以20万元罚款。而这已经是其第三次因违反消防法被罚。此前该单位还因违反广告法被执行行政处罚两次,分别罚款6万元和4000元。而黑猫投诉平台也有用户投诉其虚假宣传、违规收费、未消费却不予退款等行为。
这样“污点不断”的机构却依然打着“中整协会员单位”的旗号到处招摇,这无疑进一步削弱了中整协的公信力。

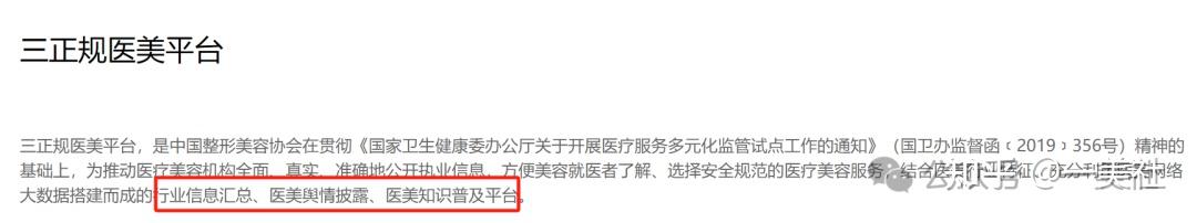
同时,中整协旗下还有一个平台名为“三正规医美平台”,“擦边”宣称其为“正规机构、正规医生、正规产品”(简称“三正规”)的认证平台,但官网对自身的定性却是加了一堆定语的“行业信息汇总、医美舆情披露、医美知识普及平台”。

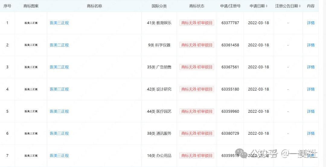
更有意思的是,企查查显示,中整协在2022年分别以办公用品、医疗园艺、通讯服务、广告销售等7个国际分类类目申请“医美三正规”商标,均被初审驳回。

一美社(坐标北京)点击进入“三正规医美平台”“正规机构”一栏,出现的第一家机构便是“北京华美庭医疗美容诊所”,该诊所与“中国人民解放军总医院”、“八大处整形医院””在同一页面。

企查查显示,北京华美庭医疗美容诊所创立于2023年11月,注册资金100万元,法人和核心医师均为王顺,2023年该公司参保员工人数为1人。但在“三正规”平台显示该公司成立于2024年4月,在岗员工5人,公司仅有一张美容治疗床。


换言之,少则仅有1位员工(王顺本人),多则仅有5位员工的美容诊所(仅可从事美容风险等级为一级的美容项目),出现在为消费者推荐“三正规”平台的第一位,并与三甲、公立医院(可开展危险等级一到四级的美容项目)在同一页面,且排在另外两家前边。
更为吊轨的是,一美社在“三正规”平台中的“正规医生”一栏输入王顺,却显示该姓名未得到正规医生验证。一家已被认证为正规机构中的唯一核心医生却未得到正规医生认证,这其中的矛盾之处,也许正呼应了上述成为单位会员之后“可以优先在协会公号及各平台被展示”的权益。
同时,由于中整协在评价结果公示方面的不透明性,消费者往往难以查询到详细的评审过程和结果,无法对认证机构的真实情况进行全面了解。这种信息的不对称,使得消费者难以追溯评审细节,一些存在严重医疗问题的机构得以蒙混过关。
一美社发现,中整协历年的A级评价名单中,有不少“钉子户”,历年都存在不少医患纠纷、工商违规、行政处罚等问题。其中,曾被央广网、新京报等多家媒体曝光的“艺星系”常年挂榜中整协A级评价名单中。
5A级光环下“臭名昭著”的“艺星系”
中整协公布的“A等级评价名单”中,2024年(有效期2025.01-2027.12)获评的5A级机构中包括上海艺星医疗美容医院(以下均简称“城市+艺星”)、成都艺星、黑龙江艺星、深圳艺星、台州艺星、重庆艺星等共计6家“艺星系”美容医院。

2023年(有效期2024.01-2026.12)获评机构机构中,杭州艺星、北京艺星、济南艺星、西安艺星、昆明艺星、武汉艺星等6家“艺星系”美容医院获评5A级医疗机构。此外,2021年、2019年、2017年均有“艺星系”获评A级。其中,北京艺星是中整协副会长单位。
除艺星医美,华韩医美、美莱医美、薇琳医美等旗下不少分公司也常年“霸榜”中整协A级评价栏中。
而这些机构均也无一幸免存在不少医疗事故、医患纠纷、行政处罚。其中,华韩医美作为背靠“南医大”的整形医院,有官方背书,其盈利能力远超过其它医美机构。薇琳医美实际控制人为詹宗阳,而詹宗阳是艺星医美的重要股东。
公开资料显示,艺星医美的前身为维纳斯医疗美容有限公司,于2009年成立于浙江杭州。2010年6月,艺星医美收购上海艺星全部股权,开始以艺星品牌进入医疗美容服务行业。同年10月,公司名称改为艺星医疗美容有限公司。其实际控制人为董事长陈国兴,副董事长、总裁为陈国雄,二人正是莆田系四大家族之一的陈氏家族。去年陈因涉嫌虹桥医院骗保事件被资产冻结,目前艺星医美共计在20个城市布局了30家医疗美容机构。

2018年,艺星医美向港交所递交了招股说明书。2015-2017年,艺星医美的总营收分别为4.05亿元、7.23亿元、10.37亿元,复合增长率达60%;所对应的三年净利润分别为1298.1万元、4921.7万元、1.14亿元。不过,此后一直未有进展。有分析认为,由于业态的种种合规问题,与医美题材相关的境内IPO一直受到多重限制。
多年来,艺星医美的合规问题始终令人堪忧,其因整形事故频发而多次被央广网、新京报、澎湃新闻等各大媒体曝光。
202年9月,梅淑华在宁波艺星花费8万元做全面部轮廓固定后,认为效果未达预期,且发现不同客服报价不一,认为价格不透明。她投诉至相关部门,要求退全款未果。
2023年3月,相关媒体报道,上海杨女士夫妇近3年在上海艺星医疗美容医院花费近百万注射美容针,后出现面部肿胀和硬块,被诊断为“面部肿物”。多次就医后,张女士被诊断为需要手术治疗,且手术费用在100万元以上。“但上海艺星却拒绝赔偿。
同月,阳女士在杭州艺星医疗美容医院花费31000元做了腰部抽脂和丰臀手术,术后右臀出现红肿疼痛,经9天吊瓶治疗未见好转。三甲医院医生检查认为可能有坏死物或积液,需切开引流。阳女士要求赔偿误工费、营养费、精神损失费等共25万。
2019年7月,大连一女子在大连艺星整形进行隆胸手术,进入手术室4小时后出现心脏骤停,后送往大连大学附属中山医院抢救,经抢救无效死亡。经鉴定,大连艺星整形的违规行为与患者的死亡存在因果关系。根据相关规定,该病例属于一级甲等医疗事故,由大连艺星整形承担全部责任。
企查查显示,艺星医疗美容集团旗下多家机构多次因广告违规、利用虚假价格手段诱骗交易等违规行为被罚。目前存在62项关联风险,作为被执行人的司法诉讼案件有19件,涉案金额超50万元;作为被告的其他纠纷达28项;收到14项监管处罚包括罚款、没收违法所得等行政处罚。

其中,2015年以来,上海艺星医疗美容医院因广告违规、利用虚假价格手段诱骗交易等违规行为累计10次被有关部门处罚,罚款累计超70余万元;北京艺星医疗美容医院有限公司自2015年以来,因违反《医疗广告管理办法》等原因被相关部门累计处罚11次,罚款累计50余万元;深圳艺星医疗美容医院自2019年以来,因广告违法行为等原因累计被相关部门处罚超4次。


黑猫投诉平台显示,有1362条投诉涉及“艺星”。投诉内容包括整容事故、手术失败、虚假宣传、违规收费、服务质量差等方面,不少消费者表示已被严重影响了工作和生活。



近年来,随着现代医疗与科技的进步,驻颜有“术”不再是梦。市场繁荣的背后,医美领域消费者维权事件也屡见不鲜。据中国电子商会旗下消费服务保障平台消费保数据显示,医美行业主要投诉问题集中在退款纠纷、虚假宣传、服务态度差、手术失败、售后服务欠缺等方面,且相关投诉逐渐增长。
消费保平台数据显示,2024年在医疗美容行业的消费者投诉中,艺星医疗美容机构的投诉数量高居榜首。紧随其后的是美莱医疗,其投诉量排名第二,而新氧医美则位列第三。
在投诉处理方面,医疗美容行业存在投诉解决率偏低的普遍现象。其中,艺星医疗的投诉解决率表现相对较弱,仅为16.00%,相比之下,美莱医疗、新氧医美的投诉解决率虽略高,但也仅为24.32%和22.22%。
医美行业的繁荣背后隐藏着诸多乱象,中整协的5A认证体系虽有其美好初衷,但在实际操作中却暴露出诸多漏洞。而如艺星医美虽获评“5A级”却屡屡被曝出虚假宣传、医疗事故、资质造假等问题,严重损害了消费者的权益。
消费者在选择医美机构时应保持警惕,相关部门也应加强对医美行业的监管力度,完善认证体系,提高认证门槛,确保消费者的权益得到有效保障。只有这样,医美行业才能在健康、有序的轨道上持续发展,为更多追求美丽的人们带来真正的福音。












