“裸条贷”八年后、人人信再被点名 创始人刚退出股东行列

央视315晚会曝光电子签里的隐身放贷人问题,人人信(天津)科技有限公司被点名。
天眼查App显示,人人信(天津)科技有限公司成立于2015年8月,法定代表人为马俊,注册资本2260万人民币,经营范围包括会议及展览服务、数据处理服务、企业管理咨询等,由马俊全资持股。天眼风险信息显示,该公司涉及多条法律诉讼信息,案由为民间借贷纠纷。
人人信 (天津) 科技有限公司(以下简称“人人信”)曾用名为北京人人信科技有限公司,目前由马俊持股100%。

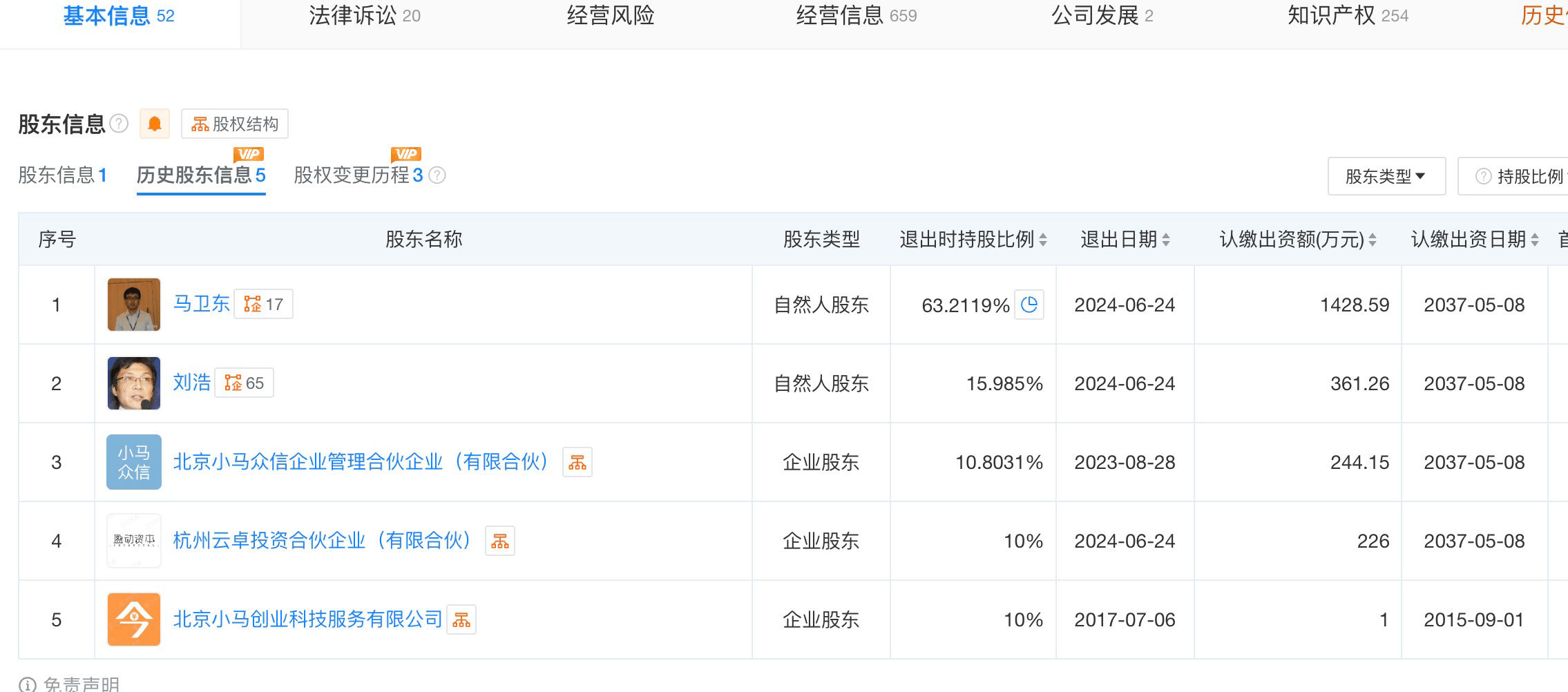
人人信历史股东包括马卫东、刘浩、北京小马众信企业管理合伙企业(有限合伙)、杭州云卓投资合伙企业(有限合伙)、北京小马创业科技服务有限公司。
其中,马卫东、刘浩、杭州云卓投资合伙企业(有限合伙)在2024年6月24日同时退出股东行列。退出时,马卫东持股63.2119%,刘浩持股15.985%,杭州云卓投资合伙企业持股10%。
据了解,马卫东为人人信创始人,早期创立了在线教育360状元网。
人人信2017年的一篇文章介绍,人人信是国内首家网络借条管理平台;主要产品有今借到、房租贷等,主要做熟人借款平台、租房金融服务推荐平台,个人征信等服务。今借到定位于社交金融中的熟人借贷,解决熟人借款中无有效用的凭证问题。
2016年,女性“裸条借贷”事件被曝,P2P网贷“借贷宝”平台被推上风口浪尖。2017年4月11日,一名在校大二女生因卷入校园贷“裸条”在福建泉州自杀后,“今借到”受到关注。
彼时,有媒体报道,一位曾经打过“裸条”的女大学生对记者表示,自从借贷宝“管得严”之后,很多借贷关系转移到了“今借到”这个平台上。
八年过去,“今借到”的公司人人信,因315曝光的“电子签里的隐身放贷人”问题再次受到关注。
315报道,今年年初,洪先生和王女士急需资金周转,在网络上找到了愿意放款的人。洪先生在借贷宝平台、王女士在人人信平台,按照放款人要求,分别签署了具有法律效力的欠条和借条。洪先生称,自己向放款人借款5000元,实际只收到3500元转账,可平台欠条上的借款金额却登记为5000元,短短7天,就要额外还1500元利息,洪先生这才意识到,自己遭遇了赤裸裸的高利贷和“砍头息”!王女士在人人信平台借了30000元,到账14000元,扣除了16000元,说是利息。用电子签借钱,最终却借出了一个高利贷。
多位在借贷宝、人人信这些电子签平台上签条借款的人告诉记者,即便遭遇了放款人的高利贷和暴力催收,由于不清楚其真实身份信息,根本没办法起诉。
人人信的一位产品经理告诉记者,目前他们平台上的放款方,很多都是通过做假账号来规避法律风险的,目的就是让受害人找不到起诉对象。人人信经理暗示记者,去世人的信息,也能用来做账号,“人脸识别是一种高科技技术,不需要人在,也不需要人活着,法院肯定带不走。”
目前,人人信公众号仍能正常关注。但在微信搜索“人人信”账号,显示“暂无账号相关结果”。人人信官网仍能正常进入,但公司动态定格在2021年3月。












