中航产融退市背后的隐秘线头:与信泰人寿160亿的资金迷局

3月底,上市的国资金融巨头中航产融(600705)发布公告:拟从上交所退市,原因:“经营面临重大不确定性,可能会对公司造成重大影响”。
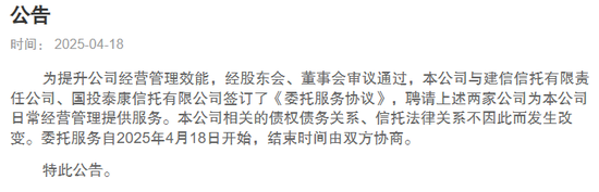
4月18日,中航产融旗下中航信托公告:拟被建信信托,国投泰康信托托管。

此前有个小新闻,看似与中航产融风马牛不相及。
2024年6月14日,国家金融监管总局公开第六批重大违法违规的18家金融机构股东。18家中,有7家是原信泰人寿股东。

监管机关调查发现,上述7家股东入股信泰人寿的资金,均非自有资金。上述股东不仅被责令清退,信泰人寿前董事长邹平笙还被终生禁止从事保险业。
另据媒体报道,信泰人寿原董事长邹平笙,已于2022年被检察机关提起公诉,根据初步调查:在2019年至2021年两年时间内,邹平笙利用担任信泰人寿董事长的职务便利,通过协议存款、信托通道、投资不动产等方式,套取信泰人寿超过160亿元的保险资金。
邹平笙怎样套取信泰人寿超过160亿的保险资金? 监管没有披露,但是,信泰人寿7家违法违规的股东中,第一大股东天津大田,第二大股东远洋资本,背后都与中航产融的有关联和往来。
中航产融的巨额纠纷
中航产融近两年有一笔金额高达29.74亿元的诉讼纠纷。
起因是:中航产融旗下最大的子公司中航租赁,于2020年将对奥凯航空的16.09亿债权,转让给西藏信托设立的保瑞7号信托计划,并收到了西藏信托支付的16.09亿元。
出资几十亿,认购保瑞7号信托计划的投资人,正是信泰人寿。

这个计划提前终止,信泰人寿方面没拿到现金对兑付,只分到了对奥凯航空的债权,于是起诉奥凯航空、华田投资、大田集团,自然人王某、姜某,以及中航产融旗下的中航租赁。要求中航租赁承担差额补足责任。
复盘上述事件:
西藏信托,成立的保瑞7号信托计划,底层资产是一批机构对奥凯航空的债权,本息最后金额达到了29.74亿。其中包括中航租赁借给奥凯航空的16.09亿。中航租赁没有收账,而是由西藏信托把这笔债权,打包成了信托计划,让投资人认购。
最后信泰人寿出巨资认购保瑞7号信托计划(也就是奥凯航空的债权),但是底层资产爆雷,信托计划提前清算,信泰人寿追究的投资损失,达到29.74亿元。于是把相关方打包一起起诉,要求通过信托计划变现了16.09亿元的中航租赁,承担差额补足责任。
事情的起点,就是中航租赁出巨资,成为奥凯航空16.09亿元的债主,打包走西藏信托的通道,最后,信泰人寿接盘,爆雷,起诉,追责。
关键是,信泰人寿起诉的奥凯航空、华田投资、大田集团,都是前文提到的、信泰人寿被处罚的大股东、天津大田供应链管理有限公司的原关联方。
如果说,中航产融涉及到天津大田,只是偶然。
那巧合的是,2024年中,中航产融又公布了,与信泰人寿7家原股东中另一家:远洋资本及其关联方的纠纷:

中航产融旗下子公司中航资本产业投资深圳(中航产投)起诉:芜湖远福昌明、宁波远澈、盛洪股权基金,起因是:合伙协议争议,纠纷金额为2.74亿元。
从芜湖远福昌明合伙企业的股权层面可以看到,中航产投出资2.5亿元,占到99.92%的合伙份额,是LP, 宁波远澈、盛洪股权基金是双GP。
此外,中航产投还起诉远洋控股,起因是,中航产投与盛洪股权基金签相关协议时,远洋控股向中航产投出具了法律文件,但未履行法律义务。起诉金额为2.5亿元。
芜湖远福昌明,找中航产投融到了2.5亿元。现在中航产融方面正在向其GP追责。这2.5亿到底用到哪里?中航产融还没公布。
巧合的是,远洋资本有限公司,也是信泰人寿被清退的七家股东之一。
奥凯航空背后的实控人
中航产融,天津大田,与芜湖远福昌明背后的远洋资本,还有信泰人寿前董事长邹平笙,除了在信泰人寿的关联外,还有一个共同的链接点——奥凯航空。
2010年,大田集团出资5亿元,收购了奥凯航空的控制权。大田集团早期曾是物流行业的巨头,后来成立了华田投资,涉足房地产开发,旅游等产业。

2016年-2019年,大田-华田系资金告急,一度向员工集资、背负巨额金融借款。经过资本运作,目前:奥凯航空第一大股东,是华田投资有限公司,认缴出资额29.46亿元,占88.67%股份。
各种信息显示,邹平笙在2019年以后,已成为奥凯航空和其大股东华田投资的实际控制人。邹平笙在2021年被有关方面控制后,还通过律师向奥凯航空和华田投资传达管理指示。
2023年中,奥凯航空的管理层,与其大股东华田投资的管理人袁发生激烈冲突,发出《十问华田公司》的公开信,其中提到:
“在邹平笙先生管理华田集团时期,聘请专业团队进驻奥凯航空、协助奥凯航空,调集大笔资金为奥凯航空纾困,帮助奥凯航空度过了2019年最困难的阶段,扛住了2020年新冠疫情第一阶段的冲击,而且拿出真金白银解决了奥凯航空员工的集资款问题。”
“2021年5月邹平笙先生因故无力直接管理华田公司。”
2022年4月,邹平笙先生通过律师对奥凯航空管理团队确保安全生产、积极生产自救的行动给予书信认可”。
奥凯航空提供的信息表明:邹平笙在失联之前,为华田投资和奥凯航空的实际控制人,并为奥凯航空提供了大笔的资金。
另外,一份(2020)津0116民初1656司法裁定书显示,华田投资提交的审计报告说明函,显示截至2019年3月31日,华田公司已经累计亏损44.56亿元。
所以华田公司和背后的实控人邹平笙,提供给奥凯航空的资金从哪来?
中航租赁与信泰人寿的纠纷,刚好解答了这个问题——中航租赁把对奥凯航空的16.09亿债权打包成信托产品,最后由邹平笙担任董事长的信泰人寿来买单。
另外一则案例,则揭示了邹平笙空寿套白狼,拿到华田投资-奥凯航空控制权的背景和玩法:
2019年12月20日,青海银行与长安信托签订《长安宁-天津大田供应链应收债权买入返售单一资金信托合同》,约定青海银行作为委托人、受益人,以9亿元信托本金,委托长安信托收购天津大田对华田投资享有的12.32亿元应收账款,信托期限内,天津大田要溢价回购标的应收债权。
上述协议签订后,信泰人寿与青海银行签订了《补充协议》,约定:若青海银行在投资期限届满时未足额收取所投资的9亿元人民币时,青海银行有权直接扣划信泰人寿存款账户内资金。
结果,到2022年6月14日,天津大田未能按照合同约定回购,导致长安信托无法向青海银行足额分配信托利益,信托终止。最后青海银行依据补充协议,扣收信泰人寿在《协议存款合同》项下存款约9.87亿元。
等于幕后操盘者平掉天津大田对华田投资的12.32亿债权,青海银行与长安信托当了通道,最后信泰人寿以自己的存款买了单。这与中航租赁打包债权,信泰人寿买单的手法如出一辙。
信泰人寿的大量资金,填了奥凯航空的债务窟窿。
多家金融机构中枪
邹平笙的公开信息不多,仅有的信息目前来自信泰人寿的公告,只知他是1974年生,高级经济师,

巧合的是,被监管处罚的信泰人寿原第四大股东:吉林省九洲能源集团股份有限公司,原股东和董事长叫邹平生,与信泰人寿的邹平笙同音。公开信息显示,九洲能源的“邹平生”也是1974年出生。九洲能源邹平生背后的企业版图相当庞大,这里暂不一一赘述。
邹平笙失联,被爆挪用信泰人寿160亿的资金的背后,他所控制的华田投资—奥凯航空,已经成为众多金融机构的资金黑洞。
首先是退市的中航产融,中航产融旗下的中航租赁、中航信托,均与华田-奥凯有巨大的资金往来。目前尚不知总金额到底有多大。
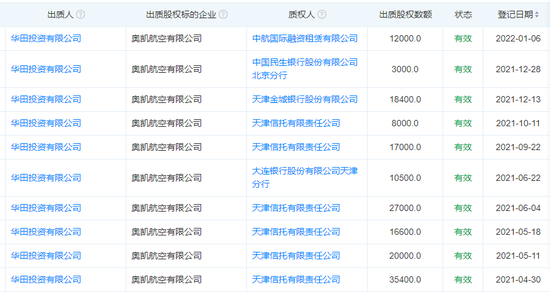
除了此前16.09亿的债权纠纷,华田投资还把持有的奥凯航空1.2亿股权抵押给了中航租赁。今年四月,华田投资与中航租赁、信泰人寿,还有融资租赁合同纠纷。中航租赁与华田投资的前股东天津大田及关联方三亚太阳湾,也有融资租赁纠纷。


另外,奥凯航空第二大股东,是中航产融下面的中航信托,认缴出资额3.2225亿元。这笔信托资金,今后能否得到兑付?

除了中航系的金融平台,邹平笙的华田投资,还把奥凯航空的大批股权股权质押给了天津信托等金融机构。其中部分股权自2022年年起,已经被天津市第二中级人民法院、内蒙古巴彦淖尔市公安局临河分局、天津市第三中级人民法院轮番冻结。

奥凯航空第二大股东,是中航信托的信托资金。而第一大股东华田投资的股权,也放了多重杠杆。
华田投资往上,一家秋石资本,持有华田投资95%的股权。秋石资本往上,芜湖远福昌烁合伙企业,持有秋石资本90%的股权。芜湖远福昌烁是华田公司背后最大的出资方。
芜湖远福昌烁,与前文提到的、被中航产融起诉的芜湖远福昌明,名字仅差一个字,股权往上,也能穿透到远洋资本。
不过芜湖远福昌明的LP,是来自中航产投的2.5亿,芜湖远福昌烁的LP,是来自华鑫信托的4个亿。

所以奥凯航空的第一大股东华田投资背后的主要资金,是华鑫信托-远洋资本。华田投资不仅自己的大股东股权来自杠杆资金,而且还拿奥凯航空的股权和相关债权、资产找中航租赁、天津信托作了质押。把杠杆放到了极致。
邹平笙套取了信泰人寿的160亿的背后,从已经暴露的纠纷来看,中航系的中航租赁、中航信托、华鑫信托、天津信托以及一批银行,都有资金陷在这个局中。
其中仅天津信托的两个诉讼,标的金额就超过了4亿元。













