借款4000逾期13天要还26400 借款人投诉安心借为地下高利贷
在各种贷款软件满天飞的时候,借款人务必要谨慎,向不具备合法金融资质的机构贷款,不仅要面临惊人利息,还可能被卷入非法资金交易导致封卡。最近,南京一家壳公司运营的现金贷平台“安心借”就因其高利贷、打款资金或涉及非法性质而频频登上第三方平台的投诉热榜。
在“黑猫投诉”上,有用户投诉称,他在2025年7月21日从“安心借”借款4000元,但平台竟然从个人账户给他转账4000元,而且合同上约定借款期限10天,到期还款8080元。到期后,该借款平台打爆了用户电话通讯录,逼迫其还款。简单计算可知,该笔借款年化利率为3723%,是法律允许的民间借贷利率上限的100倍!

无独有偶。另一名用户投诉称,2025年7月4日他在“安心借”注册资料,点进去查看额度后,还没有审核就给他强制下款3000元。同样的,也是私人账户给他转到银行卡,借款本金3000元,借款期限10天,到期还款4200元。计算可知,该笔借款年化利率为1460%。

另一名用户投诉称,他在安心借app借了5600元钱,周期十天,十天后被要求还款7840元,还不起需要支付2240元再续期十天。他花了4480元续了两期,目前仍被要求偿还7840元。
有用户晒出的“安心借”放款截图显示,借款7000元,周期10天,需要还9800元。按单利计算,该笔借款年化利息为1460%。

个人用户放款,周期10天,利息惊人,所有这些特征都表明,“安心借”并非正规的互联网贷款,而是非法经营的地下高利贷。
在某第三方平台上,有借款人2025年初称,他从“安心借”借款4000元,逾期13天后,他在APP上看到待偿还本息竟然是26400元!

除了高得惊人的利息外,不少借款人称,“安心借”通过个人账户的放贷资金可能还涉嫌非法来源。
据不少借款人投诉,他们的银行卡在收到“安心借”的个人账号打款后,立刻就被冻卡。有用户怀疑,这很可能是“安心借”资金来源不合法导致。
公开信息显示,“安心借”APP通过苹果商店上架,其运营主体为南京酉锡科技有限公司。“安心借”页面显示,最高可借20万元,1000元借一天利率低至0.2元。借款期限支持3、6、12个月。但是,从借款人的投诉情况看,无论是借款期限还是借款利率都与其官网app宣传的不符。
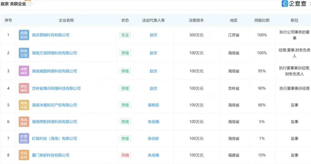
企查查显示,南京酉锡科技成立于2023年,注册地为江苏南京,注册资本300万元,法定代表人为赵京,2024年11月,赵京成为该公司100%持股股东。

企查查显示,南京酉锡科技2025年4月和7月因为通过登记的住所或经营场所无法联系、未如期公示年度报告而被而被南京市浦口区市场监督管理局列为经营异常。这表明,这家公司是一家空壳公司,没有公开合法的经营场所。赵京名下共有8家公司,但是,这些公司的状态基本都是“经营异常”。

令人疑惑的是,这样一家地下高利贷平台,是如何通过苹果商店的审核并持续存在的?按照监管要求,各大手机官方商店在对借款类APP审核时需要查看其是否具备合法的贷款资质,“安心借”和南京酉锡科技显然不持有任何贷款牌照,那么,它是如何通过平台审核的呢?
另一个疑惑是,这家猖獗的地下高利贷为何至今仍未被查处?按说,无论从注册公司的主体还是放款个人账号,都很容易找到幕后放贷团伙。
在新浪“黑猫投诉”上,关于“安心借”的投诉多达9000多条,浏览前几页上百条基本都是南京酉锡科技旗下的这款非法借贷产品,有关部门应该行动起来了,不能让非法网贷肆无忌惮地坑害借款人。












