陈彦妃带货的宫芙为何爆红?起底“厦门帮”的美妆产业布局
在美妆行业,提起“厦门帮”,业内人士无不刮目相看。因为他们打造的品牌在抖音美妆排行榜中频频亮相,GMV屡创新高,单月破亿已成常态。2024年Q1抖音美妆品牌榜TOP20中,国货品牌强势占据13席,其中温博士、VC、AKF、DCEXPORT、左右颜色等厦门品牌表现尤为亮眼。此外,三资堂、eLL、小树美、宫芙、造物者、BUV等厦门系品牌也多次跻身榜单,展现出厦门美妆产业的强劲实力。
然而,很多人并不知道,这些品牌中有不少虚假宣传,而且布局深远,比如本文所要提及宫芙。
陈彦妃推荐的宫芙,涉嫌虚假宣传

在抖音宫芙官方旗舰店,这款已售14.5万单的宫芙轻透美白防晒面部素颜乳霜,宣传的产品明星推荐官为陈彦妃,其页面多次宣传“抗衰”,还在产品信息一栏用大字填写产品功效:“防水防汗”“抗皱”“紧致”“舒缓”“修护”“敏感肌可用”等功效、

通过药监局官方查询发现,这款注册证号为“国妆特字20254681”的宫芙轻透美白防晒面部素颜乳霜,备案的产品功效为“祛斑美白,防晒,保湿,美容修饰”。
《化妆品功效宣称评价规范》第九条明确规定,具有抗皱、紧致、舒缓、控油、去角质、防断发和去屑功效,以及宣称温和(如无刺激)或量化指标(如功效宣称保持时间、功效宣称相关统计数据等)的化妆品,应当通过化妆品功效宣称评价试验方式,可以同时结合文献资料或研究数据分析结果,进行功效宣称评价。第十条规定,具有祛斑美白、防晒、防脱发、祛痘、滋养和修护功效的化妆品,应当通过人体功效评价试验方式进行功效宣称评价。第十一条规定,进行特定宣称的化妆品(如宣称适用敏感皮肤、宣称无泪配方),应当通过人体功效评价试验或消费者使用测试的方式进行功效宣称评价。
《化妆品注册和备案检验工作规范》则规定,防晒产品宣称“防水”“防汗”或“适合游泳等户外活动”等内容的,应当根据其所宣称防水程度或时间按规定的方法检测防水性能。
很明显,宫芙轻透美白防晒面部素颜乳霜已经涉嫌虚假宣传。
据媒体报道,“厦门帮”出圈的一个重要原因就是深度绑定抖音,开设大量平台账号,以白牌产品崭露头角,随后大手笔投流,广泛测试爆款内容(每天发上千条短视频素材),再进行规模性复制,实现快速迭代的投流打法。其实,如果没有虚假宣传,即便品牌大量投流,流量的转化率也可能没有那么高。
据媒体报道,宫芙成立于2022年2月,仅用一年半时间便在2023年实现了10亿元的销售额,并荣获抖音“最具增长趋势品牌”奖项。当时,相关机构对其品牌估值约为20亿元。
公开资料显示,陈彦妃是中国内地影视女演员、流行乐歌手、模特,曾出演都市励志喜剧《杜拉拉升职记》、主演治愈系爱情剧《爱的创可贴》,被誉为内地偶像剧花旦。然而,不知道陈彦妃是否意识到,她推荐的宫芙化妆品不仅卖得好,更因为她的推荐和虚假宣传而销量大增。仅在抖音平台的一个店铺中,这款优惠后售价199元的宫芙轻透美白防晒面部素颜乳霜就销售了14.5万单,总销售额达到2885.5万元。由此可见,明星代言、虚假宣传以及大手笔的流量投放是如何收割消费者的。
商业布局
通过查询发现,宫芙轻透美白防晒面部素颜乳霜的注册人和生产企业为广州煜明生物科技有限公司;抖音宫芙官方旗舰店的商家为宫芙匠心(厦门)商业有限公司。后者的股东为持股60%的富美联合(厦门)生物科技有限公司和持股40%的胖子财富(厦门)投资有限公司。
富美联合(厦门)生物科技有限公司的股东为持股99%的郑超名和持股1%的郑丽琴。胖子财富(厦门)投资有限公司为持股40%的金球财富(厦门)投资有限公司(何龙生和杨冬萍各持股99%和1%)和胖子财富(厦门)投资有限公司(郑超名和郑丽琴各持股99%和1%),以及持股20%的胖姐财富(厦门)投资有限公司(郑辉萍和郑丽琴各持股99%和1%)。

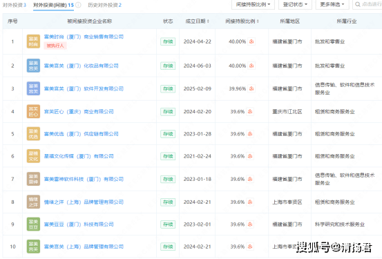
此外,胖子财富(厦门)投资有限公司直接持股富美联合(厦门)生物科技有限公司(持股40%)、芙柳文创(厦门)有限公司(持股60%)、宫芙匠心(厦门)商业有限公司(持股40%),间接持有富美宫芙(厦门)化妆品有限公司、宫芙匠心(重庆)商业有限公司、富美宫芙(上海)品牌管理有限公司等15家公司股份,商业布局涉及厦门、上海和重庆。

富美联合(厦门)生物科技有限公司布局则更大,包括不限于富美豆豆(上海)商业有限公司、宫芙匠心(厦门)商业有限公司、宫芙匠心(重庆)商业有限公司等15家公司。
目前,宫芙第三类日化用品的多个商标,都由星禧文化传媒(厦门)有限公司持有,包括申请/注册号37552248、81455598、73753561、73597733和79300377。该公司由星禧文化传媒(厦门)有限公司持股99%,福建省橡树信息科技有限公司持股1%。
通过股权穿透调查可以发现,宫芙系内部已形成错综复杂的股权关系网,其实际商业布局远比表面所见更加庞大。仅在抖音平台,宫芙就拥有多个认证账号,包括“宫芙官方旗舰店”“宫芙美妆官方旗舰店直播号”“宫芙美妆旗舰店直播”“宫芙手部护理直播间”“宫芙美妆店”“宫芙品牌严选店”“宫芙素颜霜优选店”等,矩阵式运营模式可见一斑。
有意思的是,宫芙董事长何钦雄在解释品牌理念时称,做品牌就像曾国藩打仗的策略“结硬寨,打呆仗”——以消费者为中心,下笨功夫,持续提升产品质量,用心呵护品牌口碑。宫芙的Slogan“宫芙不负有心人”正是由此而来。不过,这番品牌理念似乎并未提及合规管理的重要性。












