扳倒井2天新增3764万被执行标的 2025年欠税已达1771万元
发布时间:2025-09-04 文章来源:财经生活帮

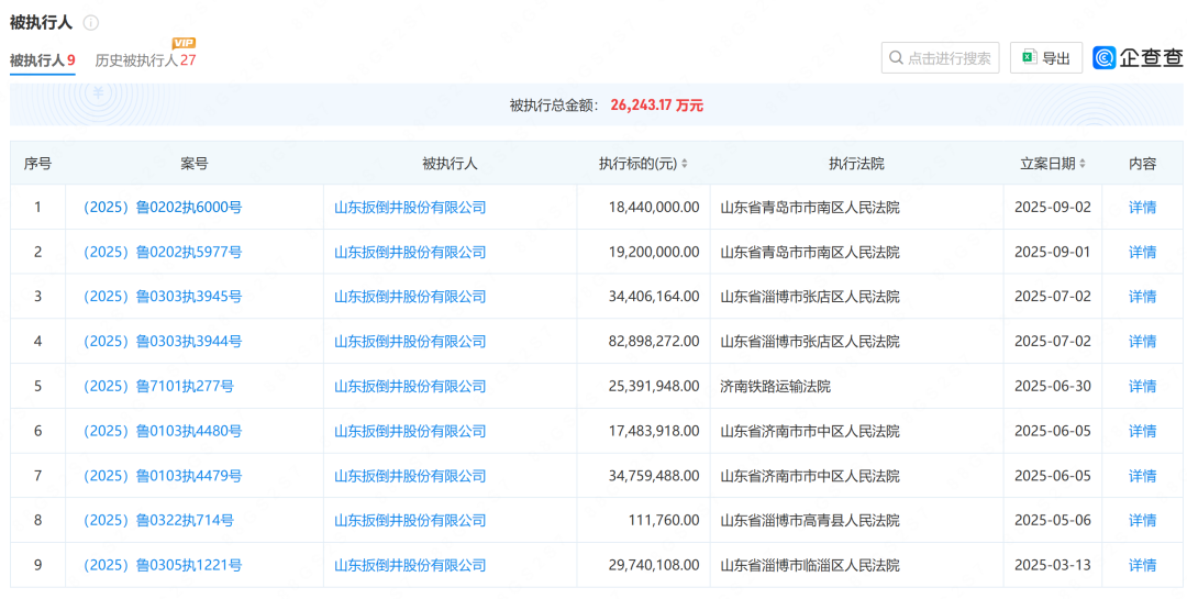
而就在这一项被执行信息的前一天,山东扳倒井股份有限公司还新增了另外一条被执行信息,被执行标的1920万元。

两天新增3764万元被执行信息,对于扳倒井近年来的发展趋势来说,仅仅是“管中窥豹”了,检索信息可以看到,2025年来山东扳倒井股份有限公司的被执行总金额2.6亿余元。

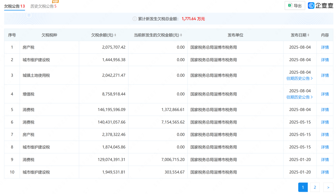
欠税总额1771.64万元。

与此同时,山东扳倒井股份有限公司控股的国井酒业有限公司,自今年6月以来也出现了3次被执行信息,被执行总金额7935.14万元。

2025年来欠税141.71万元。

2024年,此前由赵纪文控股的山东国井控股集团有限公司发生重要股东变动,创始人赵纪文之子赵泽函及集团其他8名股东(张辉、张洪伟、白秀彬、信春晖、郝景峰、张庆林、孙艳波、张国峰)全部退出,所持共计79.25%股权悉数转让给了王晨、王洋。

公开信息显示,赵纪文出生于1967年,毕业于山东轻工业学院发酵工艺专业,毕业后被分配到当时的高青酒厂当技术员,高青酒厂后于1998年改制为山东扳倒井股份有限公司,赵纪文历任副总经理、总经理、董事长。

9月12日,山东国井控股集团有限公司(下称“国井集团”)微信公众号发布文章显示,“2024山东国井集团开窖大典”当天在国井集团大世界基尼斯之最酿酒车间举行,一周前卸任国井集团董事长的赵纪文公开亮相,文章中他的职务仍旧是国井集团董事长。活动中,赵纪文致辞,全面回顾了国井集团开窖大典的由来和对白酒产业发展的重要意义,同时介绍了集团的高质量发展情况。

目前,山东国井控股集团有限公司股东中大股东仍旧为王晨。
【声明:登载此文出于传递更多信息之目的,文章内容仅供参考,不构成投资建议。】












