揭秘上海媛颂的美丽陷阱:超范围使用填充物 治疗药物无记录

10月26日,央视《每周质量报告》揭露了医美行业“渠道佣金”乱象。报道指出,广州梅女士花费数万元接受医美项目后,其介绍人竟获得高达六成以上的返佣。记者在武汉、杭州多地暗访确认,此模式已成行业潜规则,而“媛颂医美”正是其中典型代表。
一美社发现,央视的报道只是揭开了“渠道医美”的冰山一角,媛颂的模式远比上述方式更“疯狂”。
行政处罚
公开资料显示,媛颂医美成立于2015年,又名“臻媛颂”“真研颂”,是一家主打注射美容的生活医美机构,旗下有三十余家医疗美容机构,足迹遍布北京、上海、广州、深圳、杭州、南京、成都、重庆等全国各大中心城市。
2024年8月份,有用户在消费保平台投诉上海媛颂称,“在上海长宁区媛颂医疗美容进行面雕项目,前后支付26.72万元,收款方为‘广州瑧妍颂医疗美容诊所有限公司’和‘上海奈瑞思医疗美容诊所有限公司’。未开具任何发票和收据。涉嫌偷税漏税!过程中诱导消费同时提醒我使用信用卡套现支付,涉嫌虚假宣传,没有达到所承诺的效果,操作结束后左下颌有明显肿块,向工作人员反馈后以个人体质问题推诿。”
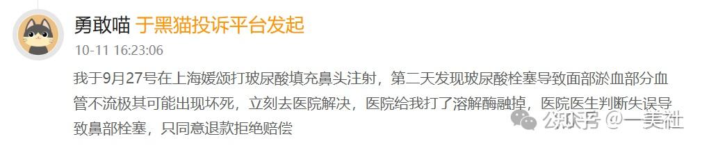
同年,有用户在黑猫投诉上表示其在上海媛颂打玻尿酸填充鼻头注射,第二天发现玻尿酸栓塞导致面部淤血部分血管不流极其可能出现坏死,立刻去医院解决,医院给我打了溶解酶融掉,医院医生判断失误导致鼻部栓塞,只同意退款拒绝赔偿。

企查查显示,“上海媛颂”共涉及四家公司,其中上海媛颂生物科技有限公司于2023年9月份注销,成立时间刚满一年。

媛颂(上海)美容科技有限公司成立于2016年12月份,位于上海松江区,经营范围为生活美容。不可从事任何侵入性质、激光类的美容项目。
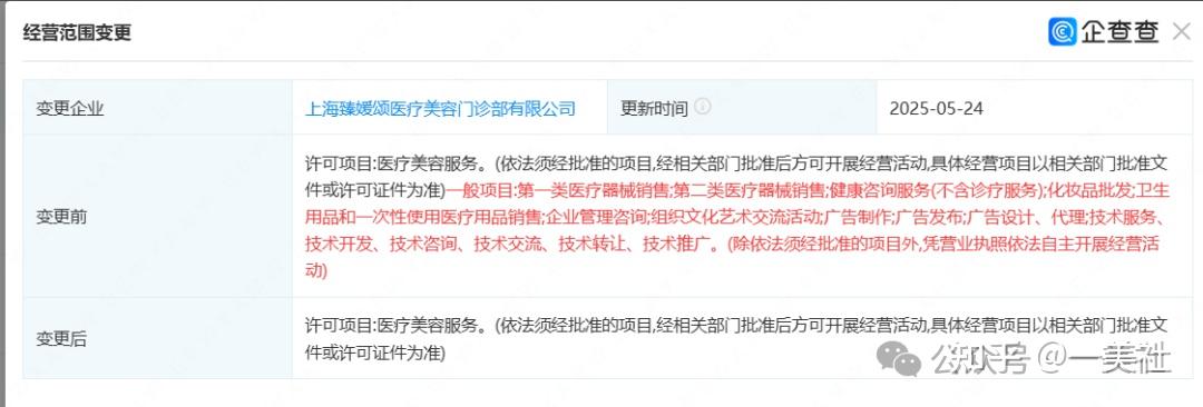
上海臻媛颂医疗美容门诊部有限公司成立于2023年7月份,位于上海长宁区。经营范围今年 于5月份由销售医疗一类、二类器械、销售一次性使用医疗产品范围,更改为医疗美容服务,具体经营范围以批文或许可证为准。

一美社查询卫健委,发现“上海臻媛颂”被允许的诊疗科目包含医疗美容科、美容外科、美容牙科、美容皮肤科、医学检验科。暂未被定级别。
值得一提的是,其职业许可证有效期范围为2025年11月3日-2026年11月2日,而此前其被允许的经营范围仅为销售医疗美容领域器械。

据消费保用户投诉,其于2024年在上海臻媛颂进行面雕项目,面雕项目是指通过溶脂针塑形、骨骼调整及注射填充等方式改善面部轮廓。而溶脂针、注射填充等项目属于侵入性医学技术,需要具备医疗美容科资质。

换言之,上海臻媛颂在2024年,仅具备售卖美容医疗相关资质的情况下,进行了侵入性医学技术。涉嫌违规操作。
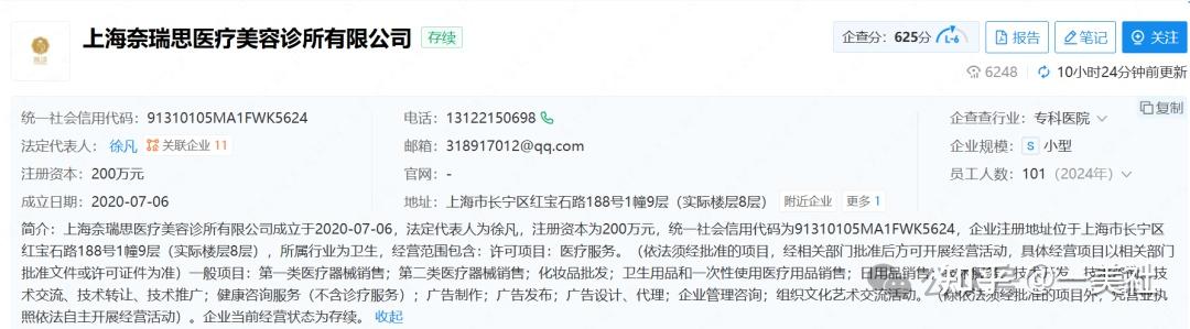
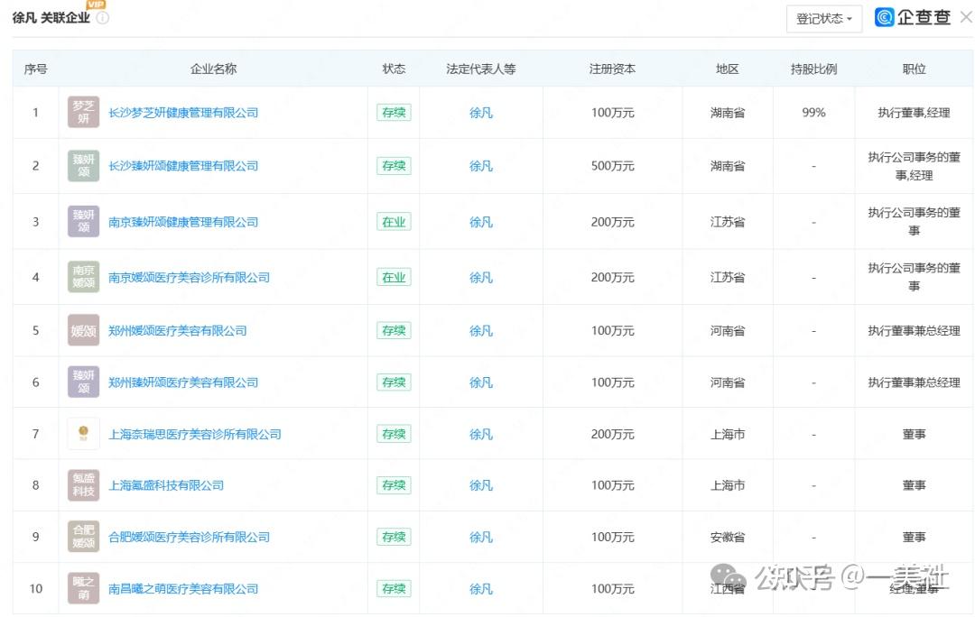
与此同时,一美社发现,上述消费者提到的上海臻媛颂的收款方“上海奈瑞思医疗美容诊所有限公司”(以下简称“上海奈瑞思”)存在多项违规情况。该公司成立于2020年7月,注册资本200万元。其关联企业包括长沙臻研颂、南京臻研颂、南京媛颂、郑州媛颂、合肥媛颂等。


企查查显示,该公司存在8项自身风险,其中有5项行政处罚,共计处罚金额近10万元。具体来看,2024年3月,长宁区卫健委发布处罚,上海奈瑞思存在以下违法违规事实,被罚款1.5万元。
药品管理严重违规:将医疗用毒性药品“盐酸利多卡因注射液”存放于未上锁的药柜中,且检查时无药师在岗。
药品与医疗器械记录缺失:两名患者于2023年12月15日接受了包括A型肉毒毒素、注射用聚已内酯微球面部填充剂等在内的注射治疗,但当天的相关药品和医疗器械出入库记录中均未登记这些物品的使用情况。
药房值班制度形同虚设:在2023年12月至2024年1月间的多个诊疗日,药房仅安排一名药师值班甚至无人值班,违反处方管理规范。
毒性药品使用记录不符:药品出库单与患者处方显示的毒性药品“保妥适”使用数量无法对应,且未在出入库记录中登记。

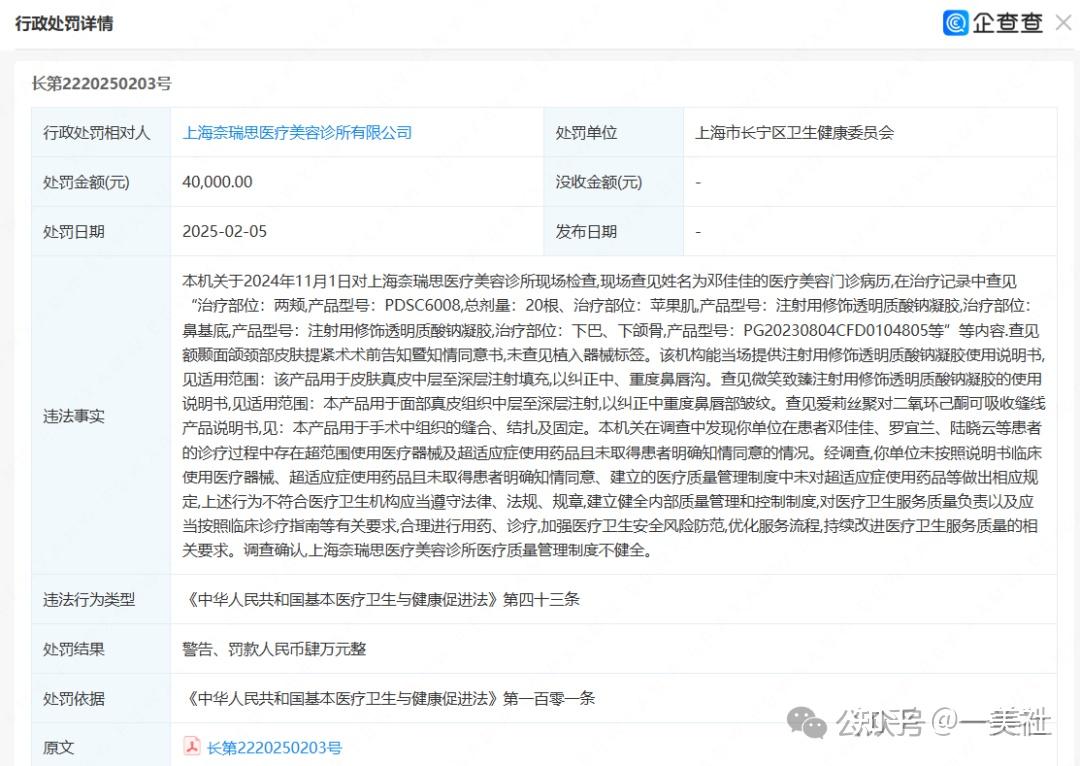
2025年2月,上海奈瑞思再次被处罚,根据处罚文书,在患者邓某的诊疗过程中,病历记录显示其在不同部位使用了多种型号的植入器械与填充产品,但现场未能提供相应的植入器械标签。
经核对产品说明书,部分注射用透明质酸钠凝胶的适用范围明确限定于“纠正中、重度鼻唇沟”或“鼻唇部皱纹”,而可吸收缝线的适用范围为“组织中缝合、结扎”。实际治疗部位却涉及两颊、苹果肌、下巴、下颌骨等多处,明显超出了批准的使用范围。
调查进一步确认,该机构在邓某、罗某、陆某等多位患者的诊疗中,均存在未按说明书临床使用医疗器械、超适应症使用药品的行为,且未就此取得患者的明确知情同意。其内部建立的医疗质量管理制度也存在缺陷,未对超适应症使用药品等行为做出相应规范。
综上,上海奈瑞思医疗美容诊所的上述行为违反了医疗机构需建立健全内部质量管理体系并确保合理用药、诊疗的法定义务,被上海卫健委处罚4万元并责令整改。

此外,上海奈瑞思还因违反医疗卫生机构医疗质量管理和医疗技术管理制度、安全措施不健全被罚款3.7万元,因被处罚人医疗废物暂时贮存设施不符合卫生要求被罚1800元,因工作人员未接受消毒技术培训被处罚1000元。

媛颂模式
近年来,“媛颂模式”长期被诟病。10月份,央视记者暗访发现,“渠道医美”机构的返佣机制已成为潜规则。
在武汉媛颂医疗美容医院(对外称武汉艾薇医疗美容门诊)等多家机构,记者以“渠道方”身份接触工作人员,几乎都被告知可以拿到50%至80%的佣金比例,部分机构甚至承诺“成交当天返现”,最为夸张的可返到九成。
这一幕揭示的,是一条高度成熟的利益链。所谓“熟人推荐”,早已演变为医美机构、兼职中介、咨询师共同参与的“引流生态”。
根据微博、黑猫投诉、小红书、抖音等平台上被媛颂“忽悠”过的用户、前员工等反映,“媛颂模式”更像是一个精心编织的系统性商业机制。
与传统直客医美依赖广告引流不同,媛颂构建了多层次的分销网络。线上,通过精心包装的网红主播传递“贵即是好”的价值观,不断强化高端定位;线下,则借鉴了保险行业的裂变式营销,通过人际关系网络实现客户拓展。

这种渠道策略的精明之处在于,它巧妙利用了社交信任。当推荐来自朋友或信任的网红时,消费者的防备心理会自然降低。而高达40% 以上的分成比例,则极大地刺激了渠道方的推广积极性,形成了强大的市场推动力。
去年,据“来一打蝴蝶结”发布微博爆料,媛颂医美的团队组建模式是什么样的呢?“挂着招聘咨询师,写着底薪,实则纯靠拉身边的人”,“分成4、6开,价格肯定是不透明的,也一定是比挂电商的直客医美机构贵的,因为直客医美机构最高的分成基本控制在30%。也就是说,找直客团购能省下10%的差价”,“要说专业,那是一点也没有的。只要是在直客大型正规连锁的机构呆过的她们反而不要”。


据好运ever在微博爆料,在人才选拔方面,媛颂更愿意选择对医美一无所知的“小白”作为咨询师。据“极致禅意的俏皮学妹”在小红书爆料,“媛颂最喜欢要什么瑜伽老师、空乘妹、美容院老板、美甲店、舞蹈老师这种小资转行、什么也不懂的医美纯小白。”
没有经验意味着没有固有认知,更容易接受全新的价值体系。应聘者经历的不谈薪资的面试过程,实则为一场服从性测试,筛选出那些更容易接受体系规则的个体。

入职前的封闭式培训,表面上传授审美知识与沟通技巧,实质上是一套精心设计的思想改造程序。通过高强度、隔离式的环境,将公司理念深度植入参与者意识中,最终颁发的结业证书成为了一种身份转换的象征,完成了从普通人到“医美专业人士”的心理跨越。

最值得关注的是,公司要求每位咨询师必须自费体验注射项目。这一要求的精妙之处在于,它巧妙地利用了认知一致性原理——当一个人为自己投资后,会自然而然地强化对这种投资的认同,从而成为产品的忠实推广者。

在客户端,媛颂模式规定操作过程中用户禁止携带手机,一起来的亲戚朋友也要隔离开,表面上是保护隐私,实则创造了信息不对称的环境,削弱了消费者的比价与求证能力,让用户完全丧失了外部参照系。

媛颂特别推崇年卡与储值消费模式,这种预付费方式不仅锁定了客户长期消费,同时多开药物与打针偷工减料的策略形成了一种精妙的平衡——既让消费者感受到一定效果,又不完全满足其期望,制造出持续的消费需求。
自有产品线的建立完成了商业闭环的最后一环。通过控制产品供应链——其对外宣称,全部采用自有产品,不仅确保了高额利润空间,更阻断了消费者进行横向比较的可能性,同时也无法追溯产品的真假。












