安吉国控募资违规遭警示 其子公司为当地涉众融资国企做担保
上交所披露多项违规行为
11月13日,上海证券交易所发布《关于对浙江安吉国控建设发展集团有限公司予以书面警示的决定》。经查明,浙江安吉国控建设发展集团有限公司(以下简称“安吉国控”或“公司”)在募集资金使用、管理及信息披露方面存在如下违规行为。
一是未按约定使用募集资金。包括将“G19绿洲1”其中1.635亿元用于其他工程款项支出,将“21安控01”其中11.59亿元用于偿还有息债务,均与约定用途不一致。
二是募集资金专户管理不规范。2021年11月、2022年8月、2022年10月,安吉国控分别将2.3亿元、1.3亿元、2.02亿元用于临时补流的“21安控01”募集资金划付至合并报表范围外公司,并于当日转回公司一般账户后用于约定用途。
三是未按规定披露募集资金使用情况。安吉国控在2019年8月至 2024年4月披露的多份定期报告中未如实、准确披露“G19绿洲1”及“21安控01”的募集资金使用情况。
鉴于上述违规事实和情节,根据《挂牌规则(2023年修订)》《上市规则(2023年修订)》等相关规定,债券业务中心做出如下自律监管措施决定:对浙江安吉国控建设发展集团有限公司予以书面警示。
2025中期营收微增,经营现金流连续三年为负
安吉国控成立于2010年8月,是安吉县重要的基础设施建设主体,主要负责浙江安吉经济开发区(以下简称“安吉经开区”)范围内的基础设施建设和国有资产运营等业务。截至2025年8月末,公司注册资本为40亿元,实收资本为27.83亿元,控股股东为浙江国创控股集团有限公司,实际控制人为安吉县财政局。
7月25日,联合资信发布2025年度跟踪评级报告,确定维持浙江安吉国控建设发展集团有限公司主体长期信用等级为 AA+,维持“22 安吉国控 MTN001”信用等级为AA+,评级展望为稳定。
公开数据显示,安吉国控2025年中期营业收入为7.22亿元,同比增长3.19%;利润总额4879.98万元,净利润4930.46万元,同比下降65.32%;总资产758.12亿元,总负债441.42亿元,资产负债率58.23%;净资产316.70亿元;经营现金流量净额10.26亿元,投资现金流量净额-4.54亿元,筹资现金流量净额-10.02亿元;流动比率302.95%。
截至2024年末,安吉国控营业收入为16.23亿元,同比下降0.43%;利润总额3.12亿元,净利润2.84亿元,同比增长12.03%;总资产744.42亿元,总负债425.03亿元,资产负债率57.10%;净资产319.39亿元;经营现金流量净额-5.75亿元,投资现金流量净额-16.35亿元,筹资现金流量净额25.95亿元;流动比率303.92%。

2022-2024年,安吉国控的经营活动现金流量净额分别为-24.75亿元、-26.74亿元、-5.75亿元。2024年公司经营活动现金流入量有所增长,主要为业务回款、收到的往来款和政府补助;公司经营活动现金仍保持净流出,净流出规模有所收窄。由于代建及自建项目的投入,2024年公司经营活动和投资活动现金均保持净流出。随着公司在建项目的推进以及有息债务逐步到期偿还,公司仍存在较大筹资需求。
项目回款与资金支出压力并存
截至2024年末,安吉国控营业收入为16.23亿元,同比下降0.43%;业务综合毛利率为17.30%。

基础设施建筑业务收入8.26亿元,占比50.90%,毛利率为15.55%。公司主要负责新农村工程建设、河道综合整治工程、工业园区基础设施建设等;业务模式分为代建模式以及自建模式。
在代建模式下,截至2024年末,公司主要基础设施代建项目(包括已完工和在建项目)计划总投资406.22亿元,已完成投资372.41亿元,累计确认收入75.01亿元,累计收到回款71.29亿元,未结算部分规模大。在自建模式下,截至2024年末,公司主要在建基础设施自建项目计划总投资金额126.91亿元,累计已投资99.26亿元,尚需投资27.65亿元,存在一定的资金支出压力。
旅游开发项目收入4.61亿元,占比28.41%,毛利率为9.29%。截至2024年末,公司主要的旅游开发项目计划总投资77.56亿元,已完成投资73.23亿元,累计确认收入12.08亿元,累计收到回款11.43亿元。未结算部分规模大,已结算部分回款情况尚可。
租金收入为3.36亿元,占比20.69%,毛利率为32.63%。公司通过出租自有房产和管廊、管网取得相应的租赁收入。2024年租金收入同比增长27.76%,得益于政府无偿划入的山塘、水库产生租金收入。
在政府支持方面,安吉国控在资金、资产注入和政府补助等方面持续获得有力的外部支持。2024年,公司收到安吉县政府无偿注入的150座山塘及水库,评估金额合计35.52亿元;另收到政府无偿投入金额合计22.25亿元,以及计入其他收益的财政补贴3.75亿元,有效提升了公司的利润水平。
存货超400亿,资产流动性较弱
截至2024年末,安吉国控总资产为744.42亿元,净资产为319.39亿元;资产规模有所增长,增量主要来自资产注入和债务融资,新增资产主要为存货和固定资产,流动性较弱、质量一般。
其中,流动资产为490.74亿元,占比65.92%。存货为443.24亿元,包括土地使用权(39.66 亿元)和基础设施代建和旅游开发项目投入形成的开发成本(403.58 亿元)。货币资金为37.74亿元,主要为银行存款。
非流动资产为253.68亿元,占比34.08%。其中在建工程为118.69亿元,主要为基础设施自建项目投入。固定资产为86亿元,主要为房屋建筑物、山塘水库和城市综合管廊,2024年公司获得山塘水库的无偿注入带动固定资产大幅增长。无形资产为43.70亿元,均为土地使用权。受限方面,截至2024年末,公司受限资产21.62亿元,占资产总额的2.90%,占净资产的6.77%。包括8.55亿元的货币资金,5.92亿元的无形资产,2.93亿元的固定资产,2.58亿元的存货,1.63亿元的投资性房地产。受限原因包括存单质押、保证金、抵押借款。

非标融资成本高企
截至2024年末,公司总负债425.03亿元,资产负债率为57.10%。由于公司在建项目持续较大力度投入,经营获现难以满足项目投资的资金需求,主要通过债务融资实现资金平衡。
安吉国控2024年流动负债为161.47亿元,占比37.99%。其中,短期借款为53.04亿元,一年内到期的非流动负债为95.08亿元。

非流动负债为263.56亿元,占比62.01%。其中,长期借款为75.21亿元,应付债券为154.72亿元,长期应付款为32.27亿元。
从到期分布来看,公司将于2025-2027年到期的债务分别为152.74亿元、73.37亿元和54.66亿元,2025年存在集中偿债压力。
从债务品种来看,2024年新增债务主要为银行借款和非标融资,年末非标融资占总债务的比重有所上升,品种结构有待改善,同时需要关注的是,公司部分新增非标借款利率仍在7%以上,融资成本偏高。

2024年,安吉国控的流动比率为303.92%,现金短期债务比为0.25倍,EBITDA利息倍数为0.38倍。综合来看,公司流动资产对流动负债保障程度较高,可用货币资金对短期债务保障程度较弱,整体短期偿债指标表现较弱;公司EBITDA对利息支出的保障能力偏弱,长期偿债指标表现较弱。
2025年中期担保余额占净资产的113.25%
截至2024年末,安吉国控对外提供担保余额为155.25亿元,占当期净资产比例为48.61%。对外担保对象主要为安吉县内国有企业,为安吉国控为支持区域内其他国有企业发展,而为其借款等提供的对外担保,对区域经济发展具有重要意义。
截至2025年6月30日,公司担保合计358.67亿元,占2025年中期净资产316.70亿元的113.25%。其中对外担保139.62亿元,对内担保219.05亿元。
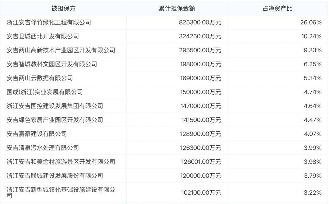
对内担保方面,安吉国控持股比例为100%的两家子公司浙江安吉修竹绿化工程有限公司,以及安吉县城西北开发有限公司为被担保次数最多的子公司。
截至2025年6月30日,浙江安吉修竹绿化工程有限公司担保合计36.73亿元,占同期净资产171.45亿元的21.42%;安吉县城西北开发有限公司担保合计30.23亿元,占同期净资产127.85亿元的23.64%。
安吉国控及两家子公司的对外担保,均未设置反担保措施,存在一定的或有负债风险。

评级报告提示三项风险
联合资信在2025年度跟踪评级报告中指出,需要从以下三个方面关注公司未来发展。
第一,安吉国控资金占用明显。由于代建及自建项目的投入,公司经营活动和投资活动现金均保持净流出。截至2024年末,公司基础设施代建项目中未结算部分规模大,对公司资金占用明显;自营项目投资规模大,存在一定的资金支出压力。
第二,安吉国控非标等其他融资占比较高,2025年存在集中偿债压力。截至2024年末,公司全部债务416.03亿元,全部债务资本化比率56.57%,债务负担较重;短期债务为152.74 亿元,现金短期债务比0.25倍,2025年存在集中偿债压力;非标等其他融资占24%,占比较高,债务结构有待优化。
第三,安吉国控对外担保规模较大。截至2024年末,公司对外担保余额155.25亿元,担保比率48.61%,公司对外担保规模较大,担保比率较高,且均未设置反担保措施,存在一定的或有负债风险。
子公司为当地涉众融资国企做担保
近日,在融资市场上出现了一款名为【安吉清泉污水处理有限公司债权资产】的融资产品,募资金额6亿元,投资起步10万元,1年期年化收益率5.9%,2年期年化收益率6.1%。
该产品的发行方是安吉清泉污水处理有限公司,是当地的一家国企,而担保方是浙江安吉修竹绿化工程有限公司,正是安吉国控的全资子公司。
有投资人认为,将总计6亿的债权资产拆分为10万元起步的众多份额,具备标准化拆分的显著特征,这与传统拍卖针对特定、单一或非标资产处置的逻辑不同,更接近于金融产品的份额化发行(如债券、基金)。明确承诺至少年化5.9%/6.1%的固定回报和到期保本回购,符合融资行为中“承诺保本付息”的核心特征。投资者实质上是资金的出借方,而非传统意义上购买不良债权、需自行追偿并承担回收风险的资产买受人。
《证券法》第九条规定:“公开发行证券需经国务院证券监督管理机构或者国务院授权的部门注册。”通过“资产拍卖转让”募资合计资金6亿元,绕开了企业债券、公司债券等传统融资渠道所需的严格审批(如国家发展改革委、证监会、交易商协会等审核)和公开信息披露要求。担保方同样为地方国企,形成内部增信闭环,实质上可能增加了地方政府的隐性债务负担。
并且,投资者资金直接汇入发行方在浙江安吉农村商业银行股份有限公司城中支行的公司账户,无第三方独立存管或托管安排,有资金被挪用的风险。












