媛颂的多面镜像:创始人关联风险频发 旗下多机构涉违法违规
“媛颂”成立于2015年,又名“臻媛颂”“真研颂”,是一家主打注射美容的轻医美机构。媛颂创始人为冷文龙,现任CEO为马伟伟(兼任中科康美集团副总裁)。在集团架构上,“媛颂”品牌隶属于中科康美医疗科技(浙江)集团有限公司(以下简称“中科康美”)。
据马伟伟在10月底的贝壳财经大会上表示,截至目前,媛颂在全国20个城市的核心区域设立 30 家直营机构,足迹遍布北京、上海、广州、深圳、杭州、南京、成都、重庆等,累计服务客户超200万人次。
马伟伟表示:“大家谈到火锅会想起海底捞,聊起超市会想到胖东来,我们接下来的目标是当消费者说到轻医美,能够想到媛颂。”只不过,马伟伟这个愿望距离实现还有不短的距离。
冷文龙关联风险众多
冷文龙作为媛颂医美背后的关键人物,其商业版图庞大而复杂。
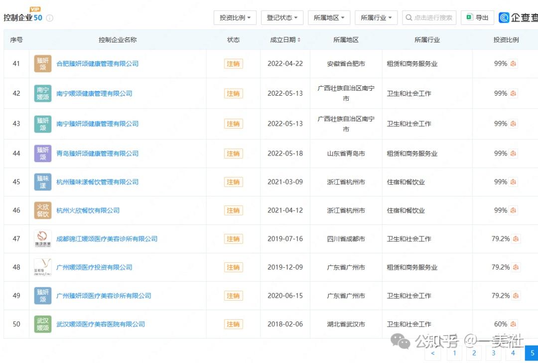
根据企查查,冷文龙名下有控制关系的企业总计高达50家,其中有14家已注销。当前担任法人的有9家,其中一家显示注销。
这种数量众多、结构复杂且变动频繁的企业网络,在商业上可能用于业务隔离与资源调配,但在医美行业也可能带来责任主体模糊的问题,尤其是在消费者与其旗下某一医美机构发生纠纷时,这种复杂的控制结构便可能使维权过程变得更加困难。

更值得关注的是,冷文龙的关联提醒高达44件,提示信息更是高达524条。包括破产重整、司法拍卖、商业合作纠纷(被告)、知识产权纠纷(被告)、行政处罚等。

其中,涉及行政处罚11条,涉及无证行医、超范围使用医疗器械、未按规定分类存放医疗废品等。

例如,2018年01月26日至2018年2月11日期间,杭州媛颂健康管理咨询有限公司下属分支机构杭州媛颂健康管理咨询有限公司萧山宁围医疗美容诊所未取得《医疗机构执业许可证》,为客人从事注射玻尿酸等微整形医疗美容诊疗活动;从事注射玻尿酸等微整形医疗美容诊疗活动的违法所得为13.69万元。被处以没收违法所得并罚款2000元的行政处罚。

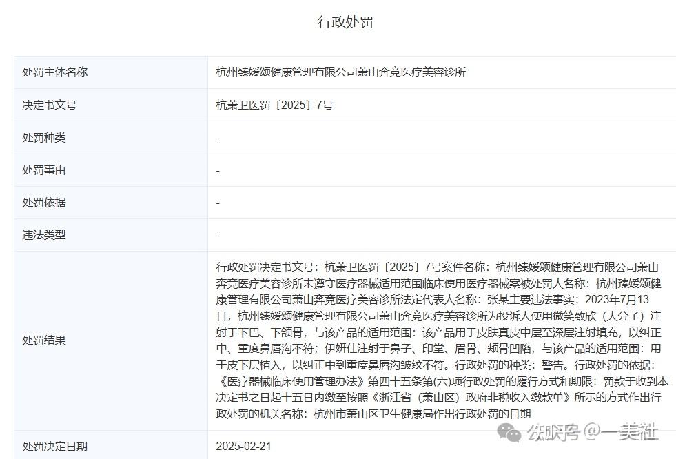
杭州市萧山区卫生健康局于2025年对杭州臻媛颂健康管理有限公司萧山奔竞医疗美容(以下简称“杭州臻媛颂”)诊所作出行政处罚。该诊所存在未遵守医疗器械适用范围的问题,将指定用于鼻唇沟填充的产品“微笑致欣”与“伊妍仕”注射于下巴、下颌、鼻子等其他部位。该行为违反了《医疗器械临床使用管理办法》,处罚决定为警告。

宁波鄞州珀言儿医疗美容诊所有限公司因两项违法行为被处罚,一是未按规定分类存放使用过的注射空瓶等医疗废物;二是执业助理医师李艳秋在无执业医师指导的情况下独立开展诊疗。宁波市鄞州区卫生健康局依据相关条例,于2024年9月5日对其作出警告并罚款1.1万元的行政处罚。
旗下多机构涉违法违规
媛颂作为全国连锁,旗下机构也涉及各种医疗违法违规问题。
例如,2025年9月份,南昌媛颂因任用非卫生技术人员开展医疗美容诊疗活动;未按规定保管病历资料;未按照医疗器械使用说明书注射透明质酸钠,被处以警告并罚款6万元并没收违法所得。

事实上这不是南昌第一次因任用非卫生技术人员开展医疗活动,2024年1月份,因同样的原因,被处以罚款 3 万元,并立即停止上述违法行为的行政处罚。短短一年的时间,南昌媛颂便再次知法犯法。

据极目新闻、华龙网等媒体报道,广州媛颂涉多方面违规。黄女士于2021年在“广州臻媛颂医疗美容诊所”充值91万余元,接受了十余次医美项目后感到面部不适。她发现该诊所后更名为“广州卓妍医疗美容诊所”。
维权过程中,诊所无法提供除最后一次外的所有既往病历。广州市越秀区卫生健康局介入调查后,于2024年8月1日出具回复函,认定“卓妍医疗美容诊所”涉嫌存在:病历书写不规范、使用非美容主诊医师单独开展医疗美容外科项目治疗、未按规定履行告知义务等违法行为。

然而,由于原“臻媛颂”公司已注销,行政部门难以协调退款,建议消费者通过民事诉讼维权。

此外,广州媛颂还存在另一起引人关注的投诉案例。2025年,消费者刘女士因在广州媛颂注射“艾维岚童颜针”后出现眼袋加重等问题,通过社交媒体发布系列视频维权,引发广泛关注。
该纠纷焦点在于该产品用于眼下细纹是否属于“超适应症使用”以及是否存在操作不当。媛颂医美发布声明称已提供过修复服务,但因刘女士坚持要求机构承认“违法操作”而未能达成和解。
另外,在黑猫投诉平台,一位消费者反映,其于2023年10月在广州媛颂医疗美容诊所支付47,880元购买了鼻综合套餐,套餐承诺三年内通过两次调整塑造美观鼻型,消费者特别强调了需抬高鼻尖。
首次注射后,其鼻尖并未达到预期效果,反而出现印堂鼓包、不平整,鼻型呈现所谓的“阿凡达鼻”形态。消费者认为效果与宣传严重不符。消费者指出,问题发生后诊所工作人员首先推卸责任,向方案设计师多次反馈均被拖延,未能得到有效解决。

潇湘晨报2024年报道,长沙臻妍颂医疗美容诊所在效果承诺、销售合规与售后服务等多方面存在问题。
张女士因在国外做整容手术后下巴外形不好看,2022年6月至2023年7月,她在长沙臻妍颂医疗美容诊所花费约16万做了长达一年的修复,却感觉没有效果。她称,自己因此事维权经历了大半年,且多次来到诊所沟通无果,后向相关部门进行了投诉。

经过芙蓉区卫健局工作人员的协调,诊所表示愿意退还首次治疗的10万余元,但要从中扣除4万余元,转入与张女士沟通的销售顾问卡中,原因是之前销售私自将自己的提成(消费金额的40%)返还给了张女士。双方在沟通该问题过程中,张女士称被诊所负责人辱骂。

最终,经记者协调,张女士接受了全额退款的方案,不再坚持公开道歉的要求,此事得以解决。
此外,上海媛颂亦存在规法违规问题。2024年8月份,有用户在消费保平台投诉上海媛颂称,“在上海长宁区媛颂医疗美容进行面雕项目,前后支付26.72万元,收款方为‘广州瑧妍颂医疗美容诊所有限公司’和‘上海奈瑞思医疗美容诊所有限公司’。未开具任何发票和收据。涉嫌偷税漏税!过程中诱导消费同时提醒我使用信用卡套现支付,涉嫌虚假宣传,没有达到所承诺的效果,操作结束后左下颌有明显肿块,向工作人员反馈后以个人体质问题推诿。”
同年,有用户在黑猫投诉上表示其在上海媛颂打玻尿酸填充鼻头注射,第二天发现玻尿酸栓塞导致面部淤血部分血管不流极其可能出现坏死,立刻去医院解决,医院给我打了溶解酶融掉,医院医生判断失误导致鼻部栓塞,只同意退款拒绝赔偿。
企查查显示,该公司存在8项自身风险,其中有5项行政处罚,共计处罚金额近10万元。具体来看,2024年3月,长宁区卫健委发布处罚,上海奈瑞思存在以下违法违规事实,被罚款1.5万元。

2025年2月,上海奈瑞思再次被处罚,根据处罚文书,在患者邓某的诊疗过程中,病历记录显示其在不同部位使用了多种型号的植入器械与填充产品,但现场未能提供相应的植入器械标签。
经核对产品说明书,部分注射用透明质酸钠凝胶的适用范围明确限定于“纠正中、重度鼻唇沟”或“鼻唇部皱纹”,而可吸收缝线的适用范围为“组织中缝合、结扎”。实际治疗部位却涉及两颊、苹果肌、下巴、下颌骨等多处,明显超出了批准的使用范围。
调查进一步确认,该机构在邓某、罗某、陆某等多位患者的诊疗中,均存在未按说明书临床使用医疗器械、超适应症使用药品的行为,且未就此取得患者的明确知情同意。其内部建立的医疗质量管理制度也存在缺陷,未对超适应症使用药品等行为做出相应规范。
综上,上海奈瑞思医疗美容诊所的上述行为违反了医疗机构需建立健全内部质量管理体系并确保合理用药、诊疗的法定义务,被上海卫健委处罚4万元并责令整改。

此外,上海奈瑞思还因违反医疗卫生机构医疗质量管理和医疗技术管理制度、安全措施不健全被罚款3.7万元,因被处罚人医疗废物暂时贮存设施不符合卫生要求被罚1800元,因工作人员未接受消毒技术培训被处罚1000元。

集团AB面
除了具体的医疗违规,媛颂更深层次的问题或与医美行业的畸形生态有关。2025年10月,央视《每周质量报告》曝光了医美行业“渠道佣金”乱象,武汉媛颂医疗美容医院(对外称“武汉艾薇医疗美容门诊”)位列被点名机构之中。
调查揭示,这类机构通常给予渠道中介(如美容院、熟人介绍)高达50%至80%,甚至90%的佣金。
这种模式下,价格严重虚高,最终收费中的大部分被用于支付佣金,而非医疗成本与价值。 中介和咨询师会刻意了解消费者经济能力,通过制造焦虑来推销更多项目,以拉高总价。过高的营销成本必然挤压在医生技术、药品质量和医疗服务上的投入,埋下安全隐患。业内人士透露,在此模式下,医生提成往往不足10%。
面对问题,消费者的维权之路异常坎坷,凸显了媛颂集团运营模式的另一重风险。
“更换马甲”逃避责任,如广州案例所示,涉事主体通过注销原公司、注册新公司的方式,试图切断法律上的延续性,导致消费者投诉无门,行政部门协调困难。
综合多地案例,媛颂医美呈现的AB两面令人心惊。一面是宣称“中高端”、“全国连锁”的品牌形象;另一面则是旗下机构屡次触及医疗安全红线的操作、涉嫌欺诈的营销手段,以及通过复杂的企业变动来规避责任的迹象。
这些并非孤立的服务瑕疵,而是从宣传引流、诊疗操作到病历管理、纠纷解决多个环节都可能存在问题的系统性疾病。其根源,或与追求规模扩张而过度依赖“渠道返佣”这一扭曲的商业模式密切相关。当医疗行为被销售逻辑所主导,消费者的权益与安全便成了最容易牺牲的代价。对于寻求医美服务的消费者而言,选择此类机构意味着需要承担远超预期的法律、财务与健康风险。












