招商银行踩雷房地产:10只房企债券发生违约 涉房不良超百亿
日前,招商银行天津分行挂牌转让某城投公司约33亿元不良债权,该城投公司已沦为失信被执行人。招商银行声称该行“通过预查封首封13宗地块总面积477.32亩,资产质地优良,开发潜力大”。
据了解,作为上述不良资产债权人的招商银行天津分行,本身也沦为被执行人。2025年以来,招商银行旗下多家分支机构被法院立案执行,其中包括该行信用卡中心和4家一级分行。
数据显示,截至2025年9月末,招商银行的房地产业不良贷款余额为119.10亿元,在该行全部对公贷款不良余额中占比超过50%;不良贷款率高达4.24%,显著高于该行对公贷款整体不良率0.82%。此外,该行主承销/联席主承销的10只房地产企业融资债券发生违约,累计违约金额超过120亿元。
33亿城投贷款已“损失”
据阿里资产交易平台提供的信息显示,招商银行天津分行正在批量转让滨海团泊新城(天津)控股有限公司(简称“团泊新城”)等3家企业的不良资产,涉及本金19.21亿元,利息14.05亿元,其他费用1006.81万元,债权总额33.36亿元,贷款五级分类情况为“损失”。
公告披露,招商银行上述不良债权的借款人为团泊新城、深圳市华怡环球供应链有限公司、广东蓝天通信科技有限公司3家企业。其中,后两家企业的借款类型均为融资性保函,担保方式为保证金质押,债权金额分别为1384.89万元、3737.69万元,逾期天数分别为2640天、2654天。
上述不良债权的主力来自团泊新城,该公司的债权金额高达32.85亿元,贷款类型为固定资产贷款,逾期天数为1710天,担保方式为抵押+保证。该债权由天津滨海发展投资控股有限公司(简称“滨海控股”)、天津市政建设集团有限公司、天津泊苑建设有限公司、天津泊宜建设有限公司提供连带责任保证,由滨海控股名下的张贵庄C1-C6地块土地转让收益权、团泊新城名下的团泊新城西区A02-12和A03-01地块土地出让收入返还收益权、团泊新城名下的天津体育学院和天津中医药大学项目代建费收益权质押。
“本债权核心价值在于坚实的底层资产、明确的退出路径以及可观的利润空间,为AMC带来‘进可攻、退可守’的投资机遇。”招商银行天津分行介绍“资产亮点”称,“我行通过预查封首封的张贵庄13宗地块总面积477.32亩,在处置程序中占据绝对主动。其中,住宅用地440.72亩,资产质地优良,开发潜力大。”
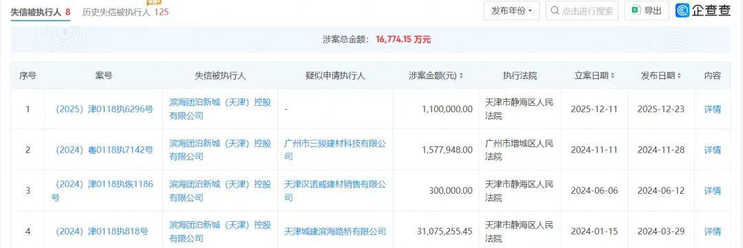
公告披露,团泊新城是滨海控股为开发团泊新城西区项目而成立的项目公司,拥有团泊新城西区近7.8万亩土地开发权。据企查查提供的信息显示,团泊新城目前已被打上“被执行人”、“失信被执行人”、“限制高消费”标签。该公司2025年12月被天津市静海区人民法院列入失信被执行人,涉案金额110万元。该公司历史失信被执行人信息多达 125条,涉案总金额6.78亿元。

图片来源:企查查
“作为债权人,AMC可重启并主导与天津市政集团等谈判,寻求债务重组优化或资产置换。”招商银行天津分行称,“同时可继续利用我行的首封优先权,通过司法程序持续施压,为谈判创造有利条件。”
多家机构被立案执行

图片来源:企查查
据了解,作为上述不良资产债权人的招商银行天津分行,目前已沦为被执行人。企查查显示,该行2025年7月份被天津市河西区人民法院列入被执行人,被执行标的为5953 元。该公司目前存在历史被执行人信息16条,被执行总金额264.97 万元。

图片来源:中国执行信息公开网
据了解,2025年以来,招商银行旗下多家分支机构被法院立案执行,包括该行信用卡中心和4家一级分行。2025年11月份,招商银行信用卡中心被湖南省衡阳市蒸湘区人民法院立案执行,被执行标的为20.37万元,案号为(2025)湘0408执1395号。

图片来源:企查查
此前,2025年10月份,招商银行上海分行被上海市浦东新区人民法院列入被执行人,被执行标的为0元。该公司目前存在历史被执行人信息24条,被执行总金额 301.32 万元。
值得注意的是,在招商银行上海分行的历史被执行人信息中还存在一条追索劳动报酬纠纷案件,该行一名员工因招商银行上海分行克扣其绩效奖金将其诉上法院。法院经审理后判决被告招商银行上海分行支付该员工绩效奖金2.52万元,但招商银行未按照判决文书指定的期间履行给付金钱义务。

图片来源:中国执行信息公开网
此外,成为被执行人的还有招商银行重庆分行。该行被重庆市巴南区人民法院立案执行,被执行标的188.50万元,立案时间为2025年9月13日,案号为(2025)渝0113执17030号。据悉,上述执行案件的被执行人有2名,分别为招商银行重庆分行和重庆龙湖凯晟房地产开发有限公司,被执行金额均为188.50万元。
据企查查提供的信息显示,因重庆龙湖凯晟房地产开发有限公司未按照约定时间交房,该公司和招商银行重庆分行被2名购房者诉上法庭,要求解除购房合同、房贷合同并返还已支付的购房款、银行贷款、利息及相应的违约金等,案件金额合计732.52万元。

图片来源:中国执行信息公开网
此外,据中国执行信息公开网显示,2025年3月份,招商银行大连分行被大连市中山区人民法院立案执行,被执行标的仅为50元,未履行金额50元,未履行比例100%,本案的终本日期为2025年6月24日。企查查显示,本案案由为“抵押合同纠纷案件执行”。
房地产业不良贷款率超4%
三季报披露,截至2025年9月末,招商银行的房地产业贷款和垫款余额为2806.23亿元,较2024年同期的2941.81亿元减少135.58亿元;在全部贷款中占比为4.15%,较2024年同期的4.58%下降0.43个百分点。
上述同期,招商银行房地产业不良贷款余额为119.10亿元,较2024年同期的141.31亿元减少22.21亿元,但在该行全部对公贷款不良余额中占比仍超过50%;不良贷款率为4.24%,较2024年同期的4.80%下降0.56个百分点,但仍显著高于该行对公贷款0.82%的整体不良率。
数据显示,截至2020年~2024年末,招商银行房地产业不良贷款余额分别为11.90亿元、56.55亿元、153.48亿元、171.83亿元、157.28亿元,不良贷款率分别为0.30%、1.41%、4.08%、5.26%、4.94%。该行房地产业不良贷款余额和不良贷款率均持续走高,至2023年末触顶后稍有回落,但仍处于高位运行状态。
对此,招商银行董事长缪建民表示,“面对利率、人口、房地产的趋势性、周期性变化和外部冲击的影响,我们将持续有效防范化解重点领域风险,优化大类资产配置。在贯彻落实国家房地产政策的同时管控好资产质量,科学分析、梳理和化解地方隐性债务风险,关注旧模式衰退、旧动能减弱带来的结构性风险和零售信贷风险。”

图片来源:企业预警通
据企业预警通提供的数据显示,截至2026年1月5日,招商银行主承销/联席主承销的房地产企业融资债券共计10只发生违约,涉及泰禾集团、华夏幸福、阳光城集团、世茂控股等多家知名房企。上述债券的违约原因为“无法兑付”或“交叉违约”,累计违约金额高达122.85亿元(含利息),累计偿还金额仅为12.13亿元。
对于房地产领域风险管控,招商银行2024年年报表示,该行“合理区分项目子公司风险与集团控股公司风险,持续强化风险扎口管理和投贷后管理,严格执行房地产贷款封闭管理要求,切实做好项目风险防控。按照依法合规、风险可控、商业可持续的原则,推动房地产企业风险化解处置,保持房地产资产质量总体稳定。”
招商银行行长兼首席执行官王良也强调,“加强重点领域风险防范化解,结合城市房地产融资协调机制和一揽子化债政策,强化房地产和地方政府类业务管理。”












