刘涛代言的婴护品牌"戴可思"被立案调查 近年已遭5次行政处罚
近日,郭晶晶、刘涛代言的婴童护理品牌“戴可思”被曝一款儿童唇膏宣称为“食品级润唇膏”,因涉嫌违反《儿童化妆品监督管理规定》被立案调查。
1月22日,戴可思创始人张晓军表示,此次争议不涉及产品质量问题。
次日,戴可思微博发文称,针对戴可思润唇膏的争议仅涉及广告宣传用语层面,不涉及产品本身质量安全问题。其称,公司在遵守《化妆品安全技术规范》中有关儿童化妆品法规要求下,额外做了产品经口毒性测试,确保产品即使在宝宝误食的情况下,不影响宝宝安全。
针对“食品级”的宣传页面一事,戴可思表示,是公司推广人员对经口毒性测试的理解有误且未经公司审核而发出,目前已撤回了相关宣传。戴可思对于广告宣传页面表达有误进行了致歉,并称今后将加强对公司广告信息传播、发布内容严格审核等。
图片来源:微博
2025年12月,据《新京报》报道,网络平台在售的热销儿童唇膏中,存在诸多乱象:部分商家违规以“食品级”为宣传噱头误导消费;部分产品宣称可治疗唇炎,违反化妆品禁止明示或暗示医疗功效的宣传红线;还有部分跨境电商售卖的进口产品未在国内备案,却在页面虚标儿童化妆品“小金盾”标识。
其中,戴可思旗舰店售卖的“戴可思婴儿护唇膏”在搜索结果界面宣称为“食品级润唇膏”,并标注“宝宝误舔无忧”;在商品详情界面还以“权威检测机构鉴定通过”为宣传点,强调产品“经口无毒 润唇不怕舔”。其贴出的检测报告图片写着:“结果汇总:根据《化妆品安全技术规范》(2015年版)对送检样品进行安全性检验,结果如下:(一)毒理学试验:急性经口毒性试验结果:实际无毒”。
图片来源:新京报公众号
报道称,四川疾控中心曾发文揭秘化妆品背后的毒理学试验,其中介绍,化妆品在到达消费者手中之前,经过了一系列严格的毒理学试验。除了部分可以用安全评估报告替代毒理试验的普通化妆品外,特殊化妆品(如:染发、烫发、祛斑美白、防晒、防脱发产品等)和婴幼儿化妆品都需要进行毒理试验才能在我国境内上市销售。也就是说,毒理学试验是其上市销售所必须的,而并非其“食品级”“可食用”的证明。
儿童唇膏属于儿童化妆品,我国对儿童化妆品实行严格监管。2022年1月1日起,《儿童化妆品监督管理规定》正式落地实施,其中提出儿童化妆品应当在销售包装展示面标注国家药品监督管理局规定的儿童化妆品标志;儿童化妆品标签不得标注“食品级”“可食用”等词语或者与食品有关的图案等内容。
2026年1月19日,江苏省无锡市新吴区市场监督管理局告知,经审查,符合立案条件,决定对无锡戴可思生物科技有限公司(戴可思旗舰店认证企业)立案。
此次涉事的唇膏正是刘涛代言的明星大单品,在天猫官方旗舰店的累计销量更突破30万件。同时,其详情页还宣称,该产品全网累计热销2900万件,位居天猫婴儿护唇膏好评榜&热销榜TOP1。
目前,天猫戴可思旗舰店售卖的“戴可思婴儿护唇膏”在搜索结果界面已经没有“食品级”的表述。不过有一款唇膏标注是“经口无毒安心用”,显示全网热销2万+。
图片来源:淘宝截图
有媒体不完全统计,该品牌近年来累计遭遇5次行政处罚,违规问题覆盖多类产品与场景:多款化妆品虚假宣传适用人群,3款婴童护肤品标榜滋养、舒缓修复等功效却无佐证,儿童洗发沐浴露虚假宣传“无防腐剂”、婴儿爽身粉违规宣称止汗功效等。
最近一次处罚发生在2025年底:相关店铺在快手、微信视频号、天猫等平台,对青少年平衡祛痘精华液、唇周霜、防晒乳等多款产品进行疑似虚假宣传,包括普通化妆品谎称孕妇可用、面霜宣称“根源修护” 却无依据等。据此,监管部门认定其行为违反《中华人民共和国广告法》,责令改正并罚款5000元。案发后,该企业表示相关宣传已完成整改。
图片来源:天眼查截图
公开资料显示,戴可思是无锡戴可思生物科技有限公司旗下母婴全品类日化品牌,于2017年正式创立,是国内首个推出液体爽身粉的品牌,郭晶晶和刘涛均是其代言人。官方旗舰店显示,目前,企业销售的品类主要为驱蚊和婴童护理,产品组合价格区间在6.9元-229元。
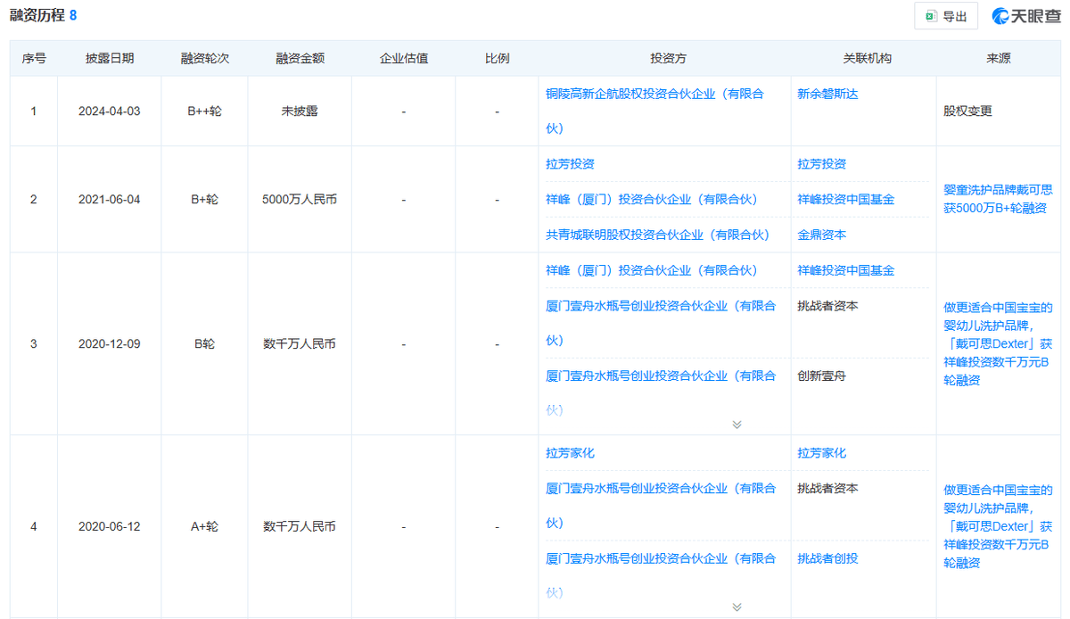
2021年双十一,戴可思全渠道销售额同比增长400%至1.2亿元,创历史新高。据媒体报道,张晓军透露,公司2025年销售额突破10亿元。
强劲的增长势头使其持续获得资本加持。天眼查显示,戴可思母公司至今已完成共计9轮融资,已披露融资金额超过5000万元,最新一轮发生于2024年4月。其投资方阵容堪称豪华,包括拉芳家化、丸美生物、华熙生物关联基金等产业资本。
图片来源:天眼查截图
不过尽管如此,与之相伴的合规争议也为高速扩张中的母婴品牌敲响了合规警钟。对于母婴产品而言,其消费群体是世界上最脆弱的婴幼儿,这决定了安全与合规绝非高标准,而是不可逾越的生命底线。因此,戴可思必须将合规内化为最高准则,用透明、严谨和始终如一的品质,去呵护这份来之不易的信任,方能行稳致远。












