融资超1.7亿元销量上千万 迪丽热巴代言的网红牙膏BOP再被罚

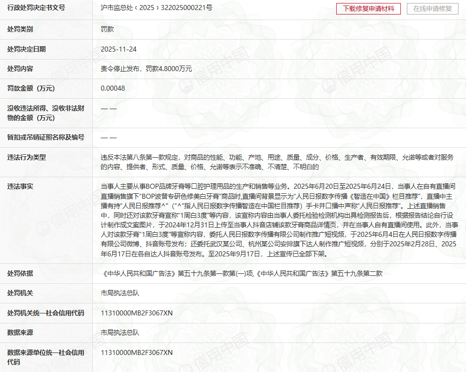
近日,国产口腔护理品牌BOP(波普)的运营主体——上海格芒生物科技有限公司(以下简称“格芒生物”),因在直播推销其“BOP波普专研色修美白牙膏”时,宣称“人民日报推荐^”“1 周白3度”等内容,被责令停止发布相关广告,并处以4.8万元罚款。
图片来源:信用中国网站截图
此次违规事件的导火索是2025年6月的一场直播带货。彼时,BOP主推的“专研色修美白牙膏”正在冲刺销量高峰,主播在镜头前反复强调产品为“人民日报推荐”,手持的宣传手卡也以醒目大字突出这一表述。
事实上,该品牌仅与人民日报数字传播旗下《智造在中国》栏目有过商业合作,与“官方推荐”相去甚远。更具迷惑性的是,品牌方虽在直播间背景板角落标注了合作的完整信息,却刻意通过口播引导和视觉焦点转移,模糊商业合作与官方背书的界限,利用信息差误导消费者。
在产品功效宣传上,BOP的“话术陷阱”同样值得警惕。其宣称的“1周白3度”,虽有第三方检测报告作为支撑,却刻意隐瞒了检测的核心前提——实验是在特定的温度、刷牙时长及配合专用仪器的条件下完成,与消费者日常使用场景不相符。这种“选择性披露”的操作,让实验室数据被包装成普适性效果,涉嫌对商品性能作引人误解的商业宣传,违反广告法中关于广告内容应真实、准确的核心要求。
这已经是该品牌第二次被罚,此前在2024年8月,该品牌还因使用医疗用语、虚假身份认证等违规行为,被处罚20万元。彼时,该品牌在漱口水产品包装及电商详情页中,公然标注“三甲医院临床实证有效”,虚构“口腔医生专家认证”身份,甚至通过后期特效伪造产品使用时的气泡效果,夸大清洁能力。
有业内人士表示,近年来牙膏功效宣传的监管日趋严格,不少传统品牌已因为违规受到处罚,产品包装上的功效标识也逐渐规范。相比之下,新兴品牌往往缺乏足够监管关注,大量产品打着“新科技”名义,通过直播、短视频等渠道宣传,给市场监管带来更大挑战。
公开信息显示,BOP波普专研成立于2019年,是一个基于现代科学的口腔护理品牌。品牌核心团队来自欧莱雅、联合利华等公司,创始人刘滨曾是拉面说联合创始人。
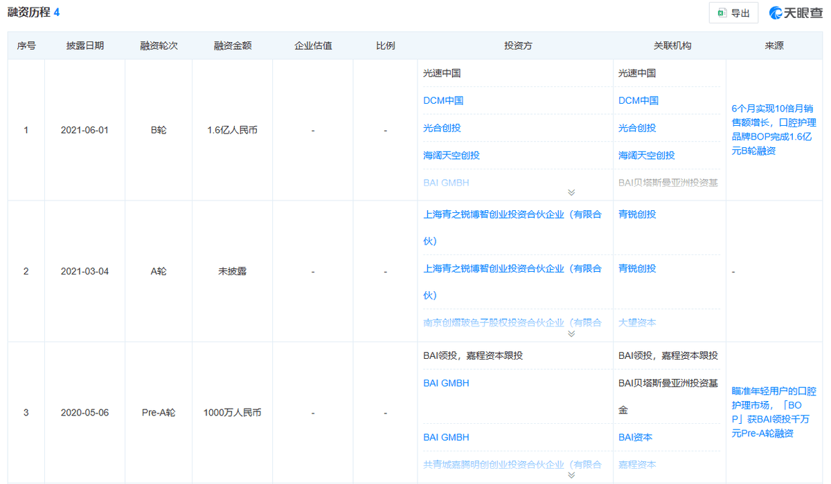
资本对这一品牌曾寄予厚望。2020年5月,BOP完成1000万元Pre-A轮融资,BAI贝塔斯曼亚洲投资基金领投。2021年3月获得A轮融资。同年6月又完成1.6亿元B轮融资,DCM领投,光速中国跟投。两年时间,四轮融资,总额超过1.7亿元。
图片来源:天眼查截图
电商平台显示,除了牙膏,BOP还开发了口喷、漱口水、牙线等多款口腔护理产品。截至1月19日,其天猫旗舰店粉丝数为103万;抖音旗舰店粉丝数为145.6万,位列平台健康口腔护理榜第8名。
值得注意的是,抖音旗舰店内销量排名前二的商品链接均是此次因虚假宣传被处罚的“色修美白牙膏”,合计销量超过1300万件,其市场渗透力与影响力可见一斑。
图片来源:天猫、抖音截图
BOP业务规模的快速扩张,与其精准、高效的营销策略密不可分。
官方公众号显示,成立以来,BOP曾与游戏《碧蓝航线》、宠物健康医护品牌小壳、咖啡品牌永璞,以及知名IP樱桃小丸子、三丽鸥等进行高频次联名。2025年9月8日,BOP又官宣女演员迪丽热巴为品牌全球代言人。
图片来源:微博截图
不过,密集营销背景下,是研发与合规投入的失衡。据“中国消费者”报道,有业内人士表示,BOP品牌依赖代加工模式,将大量资金投入直播带货、流量投放,却在产品功效研发、合规审核上投入寥寥。
而尽管BOP强调成分创新并自建实验室,但相较于其在营销和渠道上的迅猛扩张,其真正的技术壁垒构建仍需时间。
此外,天眼查信息显示,截至目前,公司拥有专利信息13条,商标信息却多达294条。13条专利类型中,92.31%为外观设计专利,仅有7.69%为实用新型专利。
图片来源:天眼查截图
这组数据在一定程度上揭示了其资源分配的倾向,相比于深耕技术研发,品牌建设似乎更擅长于构建外在的符号体系与市场声量。
这种“重营销、轻研发”的模式,让BOP在市场竞争中快速出圈,也为其屡次触碰监管红线埋下伏笔。
对于一家融资规模以亿计、销量超千万的公司而言,累计数十万元的罚款或许只是“九牛一毛”,但屡次违规对其品牌公信力造成的“软伤害”与长期侵蚀,绝非罚款金额可以衡量。在监管环境日趋严格、消费者认知持续进化的今天,能否守住合规底线、真正修复消费者信任,已成为决定BOP能否延续其商业故事、实现可持续发展的最严峻考验。












