白冰偷税遭重罚:4000万粉丝账号禁言 1分钟视频报价132万

今日,国家税务总局公布一起偷税案件,又一千万粉丝网红“翻车”。
经查,“探店”网红白冰在2021年至2024年期间通过转换收入性质、虚假申报等方式,少缴个人所得税、增值税、契税等税费共计911.18万元。国家税务总局依法对其作出追缴税费款、加收滞纳金并处罚款共计1891.24万元的处理处罚决定。目前,上述款项已全部追缴入库。
公开信息显示,白冰抖音账号“MR-白冰”当前粉丝数超4000万,上一次更新为2天前。今日上午11时,其账号各项功能(点赞、评论、关注等)仍为正常,未受明显影响。但12时左右,《BUG》栏目发现,其抖音账号已被禁言,页面提示“因违反相关法律法规和政策”。此外,其微博、小红书、B站等账号已被禁止关注。
值得注意的是,在今早10点偷税案件曝光后,白冰抖音账号粉丝数量快速下滑,6个小时从4049.6万迅速跌至4032.1万,已掉粉超17.5万,平均每分钟掉粉约486人,每秒钟就有8个人取关。
抖音客服向《BUG》栏目表示,“该用户是因为违反了相关的法律法规政策要求和相关规定,目前处于被禁言的情况。”谈及禁言时间以及是否有可能解除封禁状态,抖音客服表示,“具体要以平台公告为准”
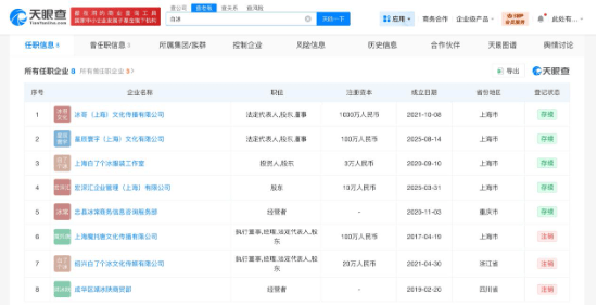
天眼查显示,白冰旗下关联MCN 机构星辰寰宇(上海)文化有限公司于 2025年8月注册成立,白冰担任法定代表人,注册资本100万元。股权结构方面,白冰持股99%,江梦瑶持股1%。《BUG》栏目尝试联系白冰所属MCN机构星辰寰宇,截至发稿未获对方回应。
连续4年偷税,名下多家公司已注销
4月28日,国家税务总局公布了头部“探店”网红白冰偷税的案件。
经查,白冰在2021年至2024年期间通过转换收入性质、虚假申报等方式,少缴个人所得税、增值税、契税等税费共计911.18万元。2025年10月,国家税务总局依据《中华人民共和国税收征收管理法》等相关法律法规规定,对其作出追缴税费款、加收滞纳金并处罚款共计1891.24万元的处理处罚决定。目前,涉案税费款、滞纳金及罚款已全部追缴入库。
公开信息显示,白冰为短视频博主,在抖音平台粉丝量超4000万,是美食探店类的头部网红。然而国家税务总局调查发现,白冰在网络平台的变现方式主要是广告合作,且佣金不菲,但白冰自2021年以来申报的个人收入金额长期偏低,稽查人员随即对白冰的关联企业展开全面梳理。
据查,由白冰直接或间接持股的企业竟然多达十余家。其中,一户注册在重庆的个体工商户显得格外可疑。白冰在重庆注册的这个个体工商户长期进行大额申报经营收入,工商信息中却无参保人员,也就是说没有长期固定的工作人员。因此高度怀疑,这个个体户可能并没有实际经营活动。
经核查,白冰拍摄的短视频主要由其个人完成,并借助个人形象、流量等进行推广,所取得的收入应属于个人劳务收入。因此,稽查人员推断白冰将个人收入转换成个体工商户收入,通过虚列成本费用、享受税收优惠等方式达到少缴个人所得税的目的。
随着调查的不断深入,稽查人员又发现了白冰另一个违法行为。他直接控股的某公司账面上,竟然有大量的奢侈品发票。而稽查人员发现,这些名牌包、高端首饰等,几乎都出现在了白冰此前分享的生活视频里,由他本人和家人日常使用,跟公司经营并无关系。与公司经营业务无关的个人消费,不得作为公司成本在税前扣除。这部分列支的个人消费应视同公司对个人的红利分配,但白冰未就此部分收入申报缴纳个人所得税。
在确凿的证据面前,白冰承认了其通过设立空壳个体工商户转换收入性质、通过公司虚假列支取得收入等事实。同时,还主动承认了其通过虚假申报二手房价格少缴契税、向公司借款用于个人消费等问题。
天眼查显示,白冰名下共关联8家企业,其中5家为存续状态,包括冰哥(上海)文化传播有限公司、上海白了个冰服装工作室、宏深汇企业管理(上海)有限公司、忠县冰常商务信息咨询服务部、星辰寰宇(上海)文化有限公司,版图涉及文化传播、服装等。
值得注意的是,白冰名下上海魔托唐文化传播有限公司、绍兴白了个冰文化传媒有限公司、成华区靖冰陕商贸部均已注销。此外,由其担任法定代表人、持股70% 的冰哥(上海)文化传播有限公司,因存在不列、少列收入的税务违规行为,已于4月2日被国家税务总局上海市税务局第二稽查局处以90.37万元罚款。

1分钟视频报价132万,多次陷入“炫富”争议
公开资料显示,白冰早年经历颇为坎坷,曾从事饭店服务员、流水线工人、理发师、快递员等多份工作。
2014年,他接触摩托车并成为机车爱好者,经营相关生意,后因腰部受伤被迫暂停。此后,他试水网店、汽配等业务。2018年6月,白冰入驻抖音,初期主要分享跑车、豪车日常,凭借外形优势和对“有钱人生活”的展示,开始积累第一批粉丝。
2021年,他正式踏上探店视频之路。但与其他探店博主不同,白冰的内容从来不“接地气”:3888元一碗的面、整只帝王蟹、燕窝酸辣粉……他的镜头里,食物是次要的,“价格”和“排面”一直是主角。

2023年,白冰迎来流量高峰。他探访山姆、Costco、胖东来等知名超市,三条探店视频总点赞量超过1000万,不仅在网络上引发巨大反响,还激发了公众对付费会员制超市这一消费模式的热烈讨论。据报道,同年他曾公开了自己新购豪宅的内部装修,并称“终于落户上海”。视频中,家里宽敞到能骑单车转圈。

走红同时,他的“炫富”标签也越来越牢固。视频中频繁出现兰博基尼、法拉利等百万级跑车探店,他还推出烟花测评系列,动辄花费数百万元燃放烟花,引发广泛热议。有网友调侃:“看他视频,不是在看吃播,是在看‘钞能力’展示。”
早在2024年12月,有网友发现白冰突然停更一个多月。当时舆论猜测,这或许与平台大力整治炫富内容有关。彼时,王红权星、鲍鱼家姐等多名炫富网红被集中封禁。尽管白冰后来恢复更新,但“炫富”争议依然如影随形。
据第三方数据显示,白冰1-20秒视频报价为66万元、21-60秒及60秒以上视频报价高达132万元。这也意味着,他拍一条1分钟左右的视频,收入可能就相当于普通人数年的工资。
值得注意的是,2026年4月8日晚,白冰与宋小宝同框直播。直播中途,宋小宝直言劝说白冰尝试直播带货:“你有这么多粉丝,资源不用白不用,帮大家搞点福利多好?”白冰当场拒绝,称自己一直坚持不带货,原因是“不想割韭菜,带货水太深”。

讽刺的是,就在这次“清白表态”仅20天后,白冰便因偷税被罚1891万元,账号也被抖音禁言。一个号称“不割韭菜”的网红,却在税务问题上“翻车”。
事实上,白冰并非网红偷税个例。近年来,网红主播偷税案件频发:2025 年,车评人陈震利用工作室转换收入性质偷税;2024 年网红柏公子通过母亲等亲属账户代收佣金、隐匿收入,被罚1330万;此外还有彭十六等主播均因偷税被查。网红经济的税收合规问题,已不再是“偶然问题”,而是系统性风险。
对此,产业分析师张书乐向《BUG》栏目表示,“网红经济在近年来野蛮生长,头部网红大多是火箭式蹿红,缺少相应的企业经营意识,更多是一种个体户式的落袋为安,加上未红以前甚至够不到纳税起征线,也就对依法纳税缺少概念性的认知。同时,在多个头部网红因为偷税翻车后,确实还有少量头部网红依然有侥幸心理,误以为偷税的违法成本不过是‘查到就补、没查到就算’,这需要相关部门进一步加强‘拍案说法’,且覆盖面要针对腰部以上为佳。”
他进一步分析表示,“具体到网红收益,由于其收益来源多样,平台方确实很难直接通过数据来精准发现,但在头部网红管理上,平台方由于自身的连接优势,可以加大对头部网红的政策宣传和普法宣传,包括但不限于税法,这是平台方应尽之义务,不能一味按照所谓内容方向的‘避风港原则’回避从普法到内容监管上的主体责任。”












