三星店铺可日入5万元 华夏云拍被指有邮币卡的影子
据前瞻产业研究院发布的数据显示,近年来,我国拍卖企业数量逐年增长。截至2020年12月底,全国31个省(区、市)及新疆生产建设兵团共有拍卖企业8565家,有分支机构262家。在这样的背景下,于2021年入局拍卖行业的平台也越来越多,近期在网上掀起了一丝波澜的“华夏云拍”正是其中之一。
华夏云拍有着怎样的公司背景?关联企业分别存在怎样的问题?疫情期间发生的捐助三无口罩事件与该公司的实控人张坤有何关联?华夏云拍所推行的奖金制度有何特色?三星店铺可日入4.63万元的说法从何而来?为何行业专家指出该项目具有邮币卡的特征?“参与这个项目没有风险”的承诺是否可信?
公司背景,更名不久
据资料《华夏云拍项目书》显示,华夏云拍的经营主体为中博华夏(北京)国际拍卖有限公司,该公司是一家专业从事文玩字画、翡翠、玉器、瓷器、杂项等的竞拍平台。“华夏云拍”为实现打造线上拍品溢价,实现快速交易,共享经济时代所带来的新商机,成为了打破传统拍卖模式的一家专业艺术品拍卖服务平台。公司依托“互联网+区块链”思维致力于打造全品类、综合性的文化艺术品推广销售服务为一体的平台,让客户足不出户在家就可以拍到喜欢的拍品。并且快速提货,实现对文化艺术的更高追求。
关于中博华夏,“公司简介”板块是这样介绍的:该公司坐落于首都北京的蒙元文化博物馆,地处中国潘家园古玩艺术品商业圈,公司投资创办的民办博物馆营业面积15000平米,收藏了自新石器时代的陶器和汉唐,元明清时期的瓷器及书画名品,公司拥有专业的艺术品鉴定专家团队,运营团队及国家文物局指定的拍卖鉴定培训机构。
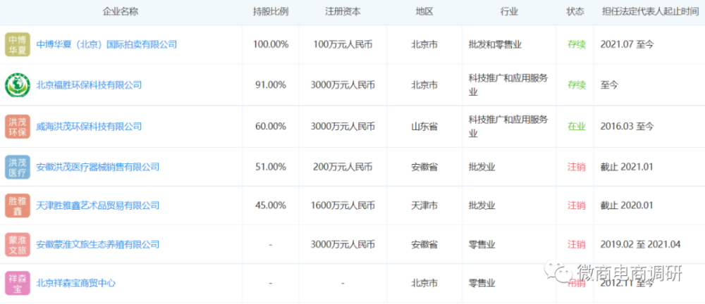
调查发现,中博华夏(北京)国际拍卖有限公司成立于2015年1月5日,法定代表人和独资股东都是1977年出生的张坤,王庆玲为监事,值得一提的是,除了北京福胜环保投资有限公司总经理的职务之外,王庆玲还有一个更为人所熟知的身份——北京垃圾分类宣传志愿服务总队队长,而张坤的另外一个身份是北京福胜环保义工队负责人。该公司的注册资本为100万元,但据2020年度报告显示,该公司股东在当时的实缴出资额为0元,参保员工为0人。
虽然看起来中博华夏(北京)国际拍卖有限公司成立已有数年之久,不过根据工商信息变更记录显示,直到2021年6月,该公司才从名称、企业类型、经营范围等种种方面进行了全方位的变更。据悉,此前该公司的曾用名为北京益便利连锁便利店有限公司,再往前追溯还是北京昕昕商务服务有限公司,该公司之前的经营范围为:零售日用品、食用农产品、针、纺织品、小饰品、家用电器、计算机、软件及辅助设备、机械设备等,后来才出现的所谓从事拍卖业务、互联网信息服务等,可见,该公司此前和拍卖业务毫无关系。
(图片来源:企查查)
这样一来,“团队介绍”板块下的“我们是一支专业的团队,我们的成员拥有多年的艺术品流通交易背景”中的所谓“多年”,无疑与上述工商信息显示的内容驴唇不对马嘴,而且那些团队成员既然被称作是“艺术品投资行业资深专家”,那么应该在行业中也是有头有脸的人物,但是这样的团队却没有对外公示关于任何一个成员的介绍,也没有任何一个成员的名字。在操盘团队背景方面,华夏云拍毫无争议是存在值得质疑之处的。
在公司名称变更后的第二月,也就是2021年7月,“华夏云拍”就紧锣密鼓地进入到了“APP开发测试”的阶段,8月就开始正式上线,开启全面推广。
关联企业,问题重重
正如年报所示,北京福胜环保科技有限公司曾经是中博华夏公司原来的股东,而该公司也同在张坤名下,据企查查显示,该公司曾被河北省沧州市青县人民法院公示为被执行人。案号:(2018)冀0922执472号。
(图片来源:企查查)
据悉,本案与《青县金宝机箱制造有限公司、张坤执行实施类执行裁定书》有关,据相关裁判文书显示,申请执行人为青县金宝机箱制造有限公司,被执行人为张坤,法院依据已经发生法律效力的(2017)冀0922民初1524号民事判决书,向被执行人发出执行通知书,责令被执行人履行法律文书确定的义务,但被执行人至今未履行法律文书确定的义务,依照有关规定扣划被执行人张坤银行存款到法院指定账户,执行标的为10万元。
在2021年,围绕着北京福胜环保科技有限公司还有裁判文书传出,据《符布兵与北京福胜环保科技有限公司等合同纠纷一审民事判决书》显示,2017年12月26日,甲方福胜公司与乙方符布兵签订《合作协议》,2020年5月29日,符布兵与福胜公司签署《共同声明》,《声明》载明,符布兵与福胜公司共同声明,经协商解除双方在2017年12月份签署的旧衣物回收箱合作协议。福胜公司委托法人张坤于2020年7月1日前退给符布兵人民币7万元,自此声明签署后,符布兵与福胜公司双方无任何经济及债务关系。
法院认为,双方就退还款项约定了日期,福胜公司逾期未履行退还款项的义务,对符布兵造成了资金占用期间的利息损失,故符布兵现主张福胜公司自逾期退款之日起支付利息,于法有据,法院予以支持,但法院不支持张坤承担连带责任。法院最终判决:被告北京福胜环保科技有限公司向原告符布兵退还合同款7万元并支付利息。
据企查查显示,目前,张坤名下的企业共有7家,而其中超过半数的公司都已处于吊销或者注销的经营状态。
(图片来源:企查查)
威海洪茂环保科技有限公司尚未注销,不过该公司早在2019年11月30日就已因通过登记的住所或经营场所无法与企业取得联系,而处于威海经济技术开发区市场监督管理局列入的企业经营异常名录。
无独有偶,获得张坤以股东身份投资的烟台鑫茂环保科技股份有限公司则在2021年7月2日因未依照《企业信息公示暂行条例》第八条规定的期限公示年度报告,而被烟台市市场监督管理局列入企业经营异常名录,且至今未被移除。
“三无”口罩,与之何干
在去年新冠疫情爆发初期,口罩很快就成了紧俏货,不少药店都出现了断货现象。正是在如此紧迫的情形下,一则标题带有三无口罩这几个字的新闻的出现,引发了广泛的关注,而这些口罩也与张坤名下的北京福胜环保科技有限公司有关。
据“怀来发布”报道,2020年年初,怀来县市场监督管理局综合执法大队接到怀来县公安局食药保卫大队通报,怀来县沙城高速口有人大批量转运可疑口罩。经市场局执法人员现场查验,该批口罩为无纺布口罩非一次性医用口罩,产品外包装无中文标识,无厂名厂址,未见产品合格证及生产日期等信息,属“三无”产品。
“怀来发布”在这篇报道的最后指出:“我们不齿无良商家在特殊期间制假售假的行为,同时还是提醒大家要从自身做起,在选购口罩的时候一定要看清楚,不要被所谓的进口产品欺骗,也不要一味贪图便宜,做好防护,在保护好自己的同时也保护好家人。”
没有风险?并不可信
关于项目本身,官方资料还对外公示出“无风险”这几个字。
近年来,随着违法广告的数量日益增多,国家对于违法广告的监督管理也愈发严格,如果在广告中含有保证零风险、稳赚不赔的表达,这类广告就需要额外警惕。有执法人员指出:“普通群众在投资时,一定要保持理性,投资必然有风险,凡是夸大宣传说没有风险的,肯定是有假。”归根结底,投资始终都是有风险的,不宜有赌博心理而冒险入局。消费者要树立理性投资理财观念,切勿轻易相信所谓的“稳赚不赔”“无风险、高收益”宣传,要记住投资是有风险的,别受高收益诱惑而冲动投资。
在法律层面,我国《广告法》第二十五条对于投资理财类广告有明确约束:“招商等有投资回报预期的商品或服务广告,应当对可能存在的风险以及风险责任承担有合理提示或者警示,并不得含有下列内容:一是对未来效果、收益或与其相关的情况作出保证性承诺,明示或者暗示保本、无风险或者保收益等;二是利用学术机构、行业协会、专业人士、受益者的名义或者形象作推荐、证明。”
说回项目本身,尽管已经上线了一段时间,但华夏云拍APP中还存在一些需要改善的地方,比如商城页面中的一些产品名称中的“酵素”,被写成了“孝素”。
还有拍卖专区内的玉石专场,其名称还是测试状态。
与这些产品名称中的“瑕疵”之处相呼应的还有“会员规则”板块,众所周知,一个项目的会员规则表述得是否清晰关乎到一个项目是否可靠、长久,然而,华夏云拍目前的会员规则页面却是空空如也。
揭底制度,日入数万?
文章的最后,我们再来关注一下华夏云拍现行的奖金制度。
关于制度详情,推广人员阿强(化名)提供的资料显示如下:
对于上述模式,本平台也请来了行业专家对其进行分析,该专家指出:“(华夏云拍的模式)就是一个商业逻辑混乱的资金盘模式,所谓的拍卖内容和当年的邮币卡雷同,模式的设计者只是个蹩脚的抄袭者而已。”
近年来,围绕着个别拍卖平台传出的曝光事件越来越多,警方曾对于拍卖行业出现的种种乱象发声提醒:广大文玩藏家进行文玩拍卖前,需掌握一定的拍卖和文玩的基础知识,并委托具有专业资质的拍卖公司拍卖,不要轻信网站、广告的宣传。
随着虚拟经济的日益繁荣,金融创新等领域也愈发引人关注,“互联网+”等新经济概念和模式似乎正在朝向更广阔的领域延伸。但在“互联网+”产业给人们带来便利的同时,一些违法违规的机构却正利用这一快捷通道从事传销违法犯罪活动,利用各种伪装的形式,诓骗投资人们的钱款。对于互联网传销项目此起彼伏的乱象,“航天公安”发出提醒:1、认清投资项目。详细了解投资项目,在进行投资时,要理智分析该投资的可行性,切忌仅凭推荐人的一面之词,稀里糊涂入坑。无实际产品推广而仅仅依靠“人头返利”赚取利润,多半是骗局;2、认清投资渠道。切忌贪图高额回报的引诱,盲目投资,一定要认清投资渠道,正规机构推出的理财产品收益虽然不高,但更加稳定、安全,过度吹嘘利益回报的,八成是陷阱。
至于华夏云拍在今后会如何发展?“两年内创造亿万级规模艺术品线上拍卖的流通与交易平台;三到五年打造互联网艺术品区块链平台”的目标能否照进现实?对此,微商电商调研将继续保持关注。












