痘博士遭周杰伦起诉 此前已卷入关晓彤姓名权纠纷
发布时间:2021-10-13 文章来源:AI财经社
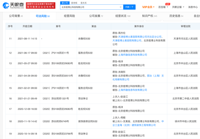
10月13日消息,AI财经社从天眼查App获悉,因肖像权、名誉权纠纷等,北京痘博士科技有限公司被知名歌手周杰伦告上法庭,被告还有渝中区痘博士美容店、重庆痘博士美容院有限责任公司等。
而在周杰伦之前,还有杨洋、关晓彤、杨晨等因为姓名权、肖像权纠纷等将其告上法庭。
公开资料显示,北京痘博士科技有限公司成立于2016年,主营健康咨询(不含诊疗服务)、财务咨询等。疑似实控人为潘洪柏。
有意思的是,北京痘博士科技有限公司在2020年发生多项变更。先是企业名称从痘博士股份有限公司变更为北京痘博士科技有限公司,随后法定代表人由苏国山变更为潘洪柏。紧接着,公司注册资本由1亿元变更为1000万元,减少90%。

【声明:登载此文出于传递更多信息之目的,文章内容仅供参考,不构成投资建议。】












