Boboboom鼓吹“拉人头”就能分15亿涉嫌违法违规
如今的电商行业热闹非凡,跨境电商、直播电商、社交电商等新模式新业态不断涌现,业务发展速度快。
有一个名字叫boboboom的电商平台,中文名叫波波电商,意思是“造就”中产阶级,据说要打造一款聚合式超级APP,融合“网络购物+本地生活+社交”,让用户既能象微信那样聊天,又能象淘宝一样购物, 还能像美团那样点外卖,甚至还能像抖音一样可以短视频娱乐、直播带货,从宣传上看这简直就是一个“无所不能”的APP,虽然还没上线,但是却吹的天花乱坠。
据说boboboom将补贴15亿元用于吸粉引流,免费注册下载APP,可获得两大补贴,一个是推荐补贴,直推和间推分别补贴5元和1.5元,另一个是团队领导补贴,直推100人时,据团队当日新增总人数,计算当日补贴额度,距离越近,补贴越高。用户消费还能得0.5%至20%的消费积分,推荐用户消费还有消费金额的3‰平台奖励。用户推荐商户入驻,有商户营业额的1‰平台奖励。每天签到还送信用积分,并且承诺获得的所有积分可以变现、可以消费、可以抽奖,抽奖有机会获得千元甚至万元奖金,还有可能获得原始股权。据说会有超过60万名会员有机会获得公司20%的原始股权,分别是排列名次在前111500名,可获公司原始股权分红,另一种是对抽奖中奖率高的,有50万人可获公司原始股权分红。
boboboom成为了一个颠覆传统的“创富模式”,正在清洗着人们的大脑。众多“成功人士”正在挥舞着“推荐等于赚钱,积分让全世界免费”的大旗,四处拉拢会员。成千上万的加盟者,都在这个名叫“boboboom”的平台上做着拉人头就可以发家的美梦,但真相告诉人们,这又是一个以谎言撑起的“创富神话”。
公司资质,难以考证
据代理推广,boboboom平台的公司主体折折朋比(武汉)物联网服务有限公司(简称折折朋比公司)实力强大、资质齐全,有15个证照,汇集了2大财团,5大投资人,28个股东,累计投资30亿元,拿出15亿元作为推广补贴,用户0投资,终身不投一分钱,用户只需要不断地拉人注册,就能拿到奖励。Boboboom的推广者不断地给用户们进行授课“洗脑”,但是平台APP 却至今没有上线,就连公司的网站也没有搭建,折折朋比公司凭什么这么高调?
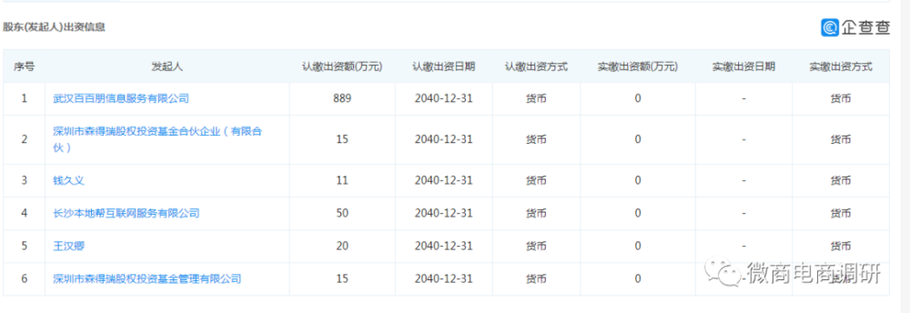
来源:企查查
企查查显示,折折朋比(武汉)互联网服务有限公司成立于2018年11月6日,法定代表人为钱锦铭,注册资本1000万元,实缴资本0元,注册地在湖北省武汉市洪山区雄楚大街与珞狮南路交汇处武汉南国雄楚广场精品生活馆A1、A3幢A1单元10层5号,该公司的主要管理人员为钱锦铭,任执行董事兼总经理,钱久义,任职监事。折折朋比公司的大股东是武汉百百朋信息服务有限公司,占股88.9%,百百朋信息服务公司的最终受益人也是钱锦铭。折折朋比公司的其他股东分别是长沙本地帮互联网服务有限公司、王汉卿、深圳市森得瑞股权投资基金合伙企业(有限合伙)、深圳市森得瑞股权投资基金管理有限公司、钱久义。从boboboom推广人员的介绍中可以知道,折折朋比公司主要和两个名字有关,分别是钱锦铭和王汉卿。关于钱锦铭的介绍很少,只有其公司宣传的毕业于武汉大学,早期在证券公司工作,后来投资创业。但是关于王汉卿,就有很多介绍,据说王汉卿毕业于复旦大学,1985年7月至1993年8月担任河南大学教师,1995年9月至2001年3月担任君安、国泰君安证券股份有限公司研究员、部门经理,2001年4月至2003年12月担任和君创业有限公司资产管理部总经理,2004年1月至2006年5月担任深圳市智盈达投资有限公司董事长,2006年5月至2010年12月担任国海证券有限公司部门总经理,2011年1月至今,担任深圳市森德瑞股权投资基金管理有限公司董事长。
从这些简介上看,王汉卿是一个金融名人,但是在工商披露的信息中,王汉卿却曾成为“失信人员”。从2019年10月至2020年9月,王汉卿曾三次被限制高消费,并因有履行能力而拒不履行生效法律文书确定义务被郑州市中级人民法院判定为失信被执行人。
另外,微商电商调研进入到折折朋比公司在工商信息上备案的官方网站,却发现其网站都没有搭建,只有一句欢迎语和一个邮箱,这家互联网公司,竟然连自己的网站都没有,难免不让人怀疑其资质是否真的有宣传的那么高大上。还有一个折折朋比的官网地址,点进去却显示卖医疗器械,这真的让人摸不着头脑。
至于宣称的超级电商boboboom平台,据说是要上线APP,但是却一直没有准确的上线日期。这样一家实力难以确定的公司,却宣传说要拿出15亿元砸向市场,真的会让人觉得是在“吹牛”。
凭空“画饼”:拉人头有奖励,还有原始股分红
Boboboom号称打造目前国内唯一一款可以同时提供网上购物、本地生活和社交功能三合一的一站式的超级综合大平台,拿到一机在手,服务全球,一切生意即可上线,一切交流皆可实现的平台。
首先作为用户,只要注册就送5元积分,积分可以1:1兑换人民币,可以去任何地方线上线下消费,积分零门槛,用户每消费一笔,平台还会额外的奖励0.5%~20%的积分。作为商户老板,免费入驻到平台销售,产品多了一条渠道,公司还免费引流,产品卖出去只收1.98%的佣金。
一个叫赖和锦的人,每天都极力在群里推广boboboom,据她介绍,折折朋比公司前期一共投资了30个亿,并且拿出15个亿用来补贴于市场。就是当用户注册量达到一个亿的时候,就停止这个补贴。任何人参与到这个平台的推广,从头到尾不需要投入一分钱,也没有一分钱的供货门槛,也不需要强制购买某一款商品,用户直接来到平台免费下载,就可以参与推广,平台会根据推广的贡献值给到用户相应的补贴。
首先直接推荐补贴,就是每人补贴5元钱,比如说会员推荐了一位新的用户注册Boboboom,那么就有5元的积分到账,新用户下载也有5元的积分,当这位新用户再去推荐另外一个朋友注册的时候,另外那个朋友跟会员就是间接的关系,也会有1.5的积分补贴。
当会员直推的人数达到了100人以上的时候,这个时候就认定为对公司做出了贡献,你就会有一个特别贡献奖,就是根据这名当日市场新增的总人数去计算当日的一个补贴额度,只要市场有新增人数,就会有补贴。
推荐了一个用户,还可以享受这个新用户的3‰的消费额作为奖励,这被称为“管道收益”,也就是说会员推荐了一个朋友,那么这个朋友只要是在Boboboom平台消费,会员就可以拿其消费额的3‰作为奖励。此外还可以获得直接推荐商户营业额的1‰作为奖励,如果说用户推荐了一家商户,那么这家商户的流水的1‰,就是自己的奖励。
Boboboom还宣传会员有机会获得原始股权收益。根据用户发展的团队人数,换算为贡献值,贡献值排名到前111500名可以获得公司的原始股权。公司拿出10%的股权,针对于市场上50万名会员会免费抽取发放。何女士说“如果拿到公司的万分之1的股权,就已经很了不得。腾讯的市值巅峰时期是7.9万亿,那么如果说你拥有腾讯万分之1的股权,就是7.9个亿,所以这个数字是非常庞大的。”
据说APP后台会设置一个抽奖的这个功能,就是可以抽不等的金额,最高是1万元,还能抽到原始股份。“只要下载就有5元的积分,每天签到还会送积分,每一笔消费,平台还会奖励积分,去推荐朋友又有积分,所以积分是很多渠道综合起来时时刻刻都可以参与抽奖,万一中了1积分就可以博到1万块钱,何乐而不为?”
很多团队长、领导人都在全网拉人头做推广,为的都是后续能够拿到丰厚的奖励,但是缺很少有人能够清醒地认识到,这很可能是违法的行为。根据《禁止传销条例》第七条规定,下列行为,属于传销行为:
(一)组织者或者经营者通过发展人员,要求被发展人员发展其他人员加入,对发展的人员以其直接或者间接滚动发展的人员数量为依据计算和给付报酬(包括物质奖励和其他经济利益,下同),牟取非法利益的;
(二)组织者或者经营者通过发展人员,要求被发展人员交纳费用或者以认购商品等方式变相交纳费用,取得加入或者发展其他人员加入的资格,牟取非法利益的;
组织者或者经营者通过发展人员,要求被发展人员发展其他人员加入,形成上下线关系,并以下线的销售业绩为依据计算和给付上线报酬,牟取非法利益的。
而且boboboom至今都没有上线,宣称的补贴15亿元也很有可能是一场水月镜花,这些推广者最终竹篮打水一场空的可能性很大。












