运营公司被执行人 尚美诺优先收钱后释放的资金盘?
随着互联网时代的来临,在线上运作的网络商城也随着时代的潮流层层涌现,河北尚美生物科技有限公司旗下的“尚美诺优商城”便是其中之一,该商城号称拥有“预存消费享公司分红赚钱、免费领取产品省钱、通宝增值赚钱、产品股东分红赚钱、自己买产品省钱又得奖金、服务中心推广产品赚钱”等多个亮点,正是在这样的宣传的映衬下,在河北乃至全国各地,已有越来越多的人注意到了这个项目。
那么这个对外宣称起盘已有两三年之久的“尚美诺优商城”目前采用的到底是一种怎样的模式?推广人员口中的尚美科技公司,以及带有“尚美科技旗下企业”名号的多家公司目前都处于一个怎样的状态?“个人预存1万消费资金,公司按2万的消费资金返还个人,相当于五折购买产品,每天按2万的0.55%返还,182天返还结束”的说法从何而来?
公司背景,被执行人
据官网介绍,尚美科技是一家以创新理念立足实体为核心价值,并集销售、进出口贸易、信息咨询等多元化经营的科技集团公司。旗下尚美诺优商城搭建了全国产品企业共建、共亨及地面商家客流量共享共富,同时消费者通过消费增值方式,将消费者、企业、商家、集团完美融合,实现消费者获益、企业/商家获利、集团壮大发展,共赢的生态合作性商务平台。
经查,河北尚美生物科技有限公司成立于2016年10月28日,法定代表人和独资股东都是郭海云,刘娟妮为监事,注册资本2000万元,据2020年度报告显示,该公司股东的认缴出资时间在2026年,参保员工为0人。
在管理层方面,徐畅鸿是该公司的执行总裁;而郭海云为该公司的法人,据官方资料显示,此人出生于吉林辽源,毕业于吉林北华大学。
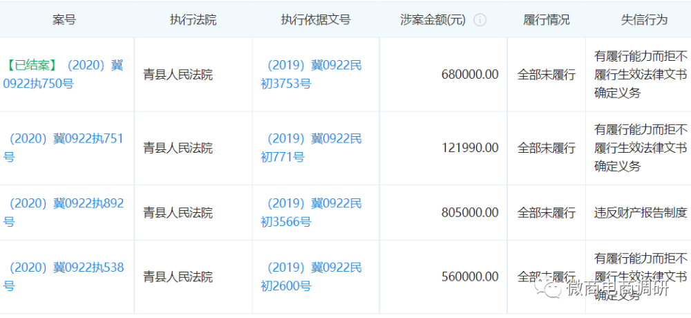
据企查查显示,在刚刚过去的2021年9月22日,河北尚美生物科技有限公司还沦为了河北省廊坊市永清县人民法院公示的被执行人。案号:(2021)冀1023执恢361号。
(图片来源:企查查)
在本案中,一同沦为被执行人的除了该公司的法定代表人郭海云之外,还有范建明、李强、许东和、李亚旭等人。
(图片来源:企查查)
截止目前,尚美生物科技官网的座机联系电话已长期处于关机状态,本平台连续数日拨打电话依然无法取得联系;无独有偶,官网中的“在线客服”在工作日的工作时间也始终处于不在线的状态;顺带一提,尚美诺优的官方公众号自一年多前的2020年年中过后就已不再更新。
旗下公司?合作企业!
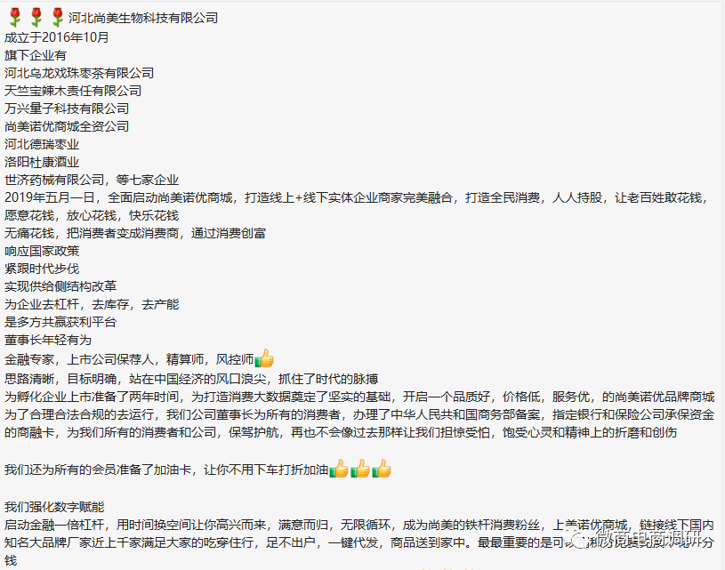
虽然综上所述,尚美诺优的官网和官方公众号在当下几乎已处于“荒废”的状态,但如今在网上仍有关于尚美诺优这个项目的推广信息,该商城仍在正常运营当中。关于公司背景方面,据推广人员阿庆(化名)介绍,河北尚美生物科技有限公司旗下企业包括:“河北乌龙戏珠枣茶有限公司、天竺宝辣木责任有限公司(河北天竺宝辣木有限公司也在尚美科技官网的介绍板块当中)、万兴量子科技有限公司(错别字,应为万星量子)、尚美诺优商城全资公司、河北德瑞枣业、洛阳杜康酒业、世济药械有限公司(应为河北世济通药械有限公司)等七家企业。”
接下来,我们就按照顺序来了解一下这几家企业的现状如何。河北乌龙戏珠枣茶有限公司的名字如今仍处在推广人员的介绍之中,但吊诡之处在于该公司早在1995年就已被有关部门吊销了营业执照。河北乌龙戏珠枣茶制品有限公司倒是仍在注册,不过该公司已被青县人民法院多次列为失信企业。
(图片来源:企查查)
出现在尚美科技官网简介板块当中的河北天竺宝辣木有限公司如今也是问题重重,该公司法定代表人高雪琼已被法院出示了限制消费令。
企业本身也已因有履行能力而拒不履行生效法律文书确定义务,而被海兴县人民法院列为失信被执行企业。
(图片来源:企查查)
至于剩下的这些企业——尚美诺优商城全资公司纯粹属于无中生有,在国家企业信用信息公示系统中并无任何注册信息反馈;河北世济通药械有限公司为沧州凯尔企业管理咨询有限公司的子公司,并非河北尚美生物科技有限公司的子公司;同样,河北德瑞枣业在工商信息的层面上也与尚美科技毫无瓜葛。显而易见,为了夸大公司规模,部分推广人员使用的宣传材料中的部分内容涉嫌虚假宣传,比如并不存在的“尚美诺优商城全资公司”。对此,我国《广告法》第四条规定,广告不得含有虚假或者引人误解的内容,不得欺骗、误导消费者。
不过话说回来,上述内容也并非完全虚构,比如沧州万星量子科技有限公司的总经理徐建军目前也正在为尚美诺优这个项目的推广而四处奔波,经过进一步调查,我们发现这个徐建军就是前文提到的徐畅鸿,人称“鸿哥”。
相较之下,其他代理商提供的带有尚美logo的官方资料的说法更加可信——有关资料将这些企业称之为合作企业,而非“旗下公司”。
揭底模式,动静结合
关于尚美诺优起盘的经过,据推广人员阿庆提供的资料显示,2019年5月1日,尚美诺优商城全面启动,该商城打造线上+线下实体企业商家完美融合,打造全民消费,人人持股,让老百姓敢花钱,愿意花钱,放心花钱,快乐花钱,无痛花钱,把消费者变成消费商。
接下来,我们就来了解一下尚美诺优商城现行的模式,据在某地开设了运营中心的推广人员阿力(化名)介绍,该商城的模式主要可以总结为一个静态返利模式,投资金额从两千、四千、六千及以上不等(投资金额必须是两千的倍数,且最低投资金额为两千),以两千为例,每天返17.6元,一共返180天,共计返利金额为3168元,可以复投。值得一提的是,参与投资后,便有相应的消费积分释放,一个积分抵用一人民币,可以用于商城购物,提现手续费为百分之十。
而另外一位推广人员阿强(化名)的说法则完全不同,这位代理商提供的资料更加全面,除了静态收益以外,还有动态收益,本文就以后者提供的模式解读资料为准。阿强表示,尚美诺优平台运营模式的特色为预付消费,即五折购物的方式。举例:个人预存1万消费资金,公司按2万的消费资金返还个人,相当于五折购买产品,每天按2万的0.55%返还,182天返还结束,每天返还的消费资金可用于平台购物,也可用于购买平台的流通积分,流通积分用途:购物,交易。
个人预付1万消费金,公司按半价购物给个人账户是按2万计算,182天后为:
2万×0.55%(每天)= 110
110×30天= 3300
3300×30%(消费积分)=990消费积分(只用于平台消费)
330×70%(流通积分)=2310流通积分(用于购物,交易)
个人预付10万消费金,公司按半价购物给个人账户是按20万计算,182天后为:
20万×0.55%(每天)= 1100
1100×30天= 33000
33000×30%(消费积分)=9900消费积分(只用于平台消费)
33000×70%(流通积分)=23100流通积分(用于购物,交易)
预付公司的消费金在5万以上(包含5万),公司办理由国家商务部指定保险公司承保的商融卡作为保障。
尚美市场推广方案:
一:在商城消费2000元的倍数,赠送消费金额2倍的资产包,按每天0.55%释放182天,其中70%进入现金积分,可转换成通宝,30%进入消费积分换购产品。通宝也就是流通积分,满100元可以提现(提现手续费为百分之十,对冲无手续费,可以对冲百分之三十),当然也可以购买商城中商品,或购买加油卡。
二:分享享受消费金额5%
三:管理奖
伞下业绩累计到5万,达成社团,享受伞下新增业绩3%
伞下业绩累计到20万,达成区团,享受伞下新增业绩5%
伞下业绩累计到50万,达成县团,享受伞下新生增绩7%
伞下业绩累计到100万,达成市团,享受伞下新增业绩9%
伞下业绩累计到200万,达成省团,享受伞下新增业绩11%
直推两个省团,达成合伙人,享受平台每月新增业绩3%平均分红
直推两个合伙人,达成股东,享受平台每月新增业绩2%平均分红
四:运营中心:要求运营中心申请人在商城消费30万,有3人以上核心管理班子,有自己的办公场地,由推荐人上报,商学院考核通过后给予审批,补助伞下新增业绩3%。市场部要求伞下10个运营中心,有独立的运营团队,公司给配备办公室,补助伞下新增业绩5%。注:新增业绩包含现金消费、通宝线上消费、消费积分消费。
对于上述制度,本平台也请来了行业专家对其进行分析,该专家直接了当地指出:“按以往经验看,靠谱的实体企业是不会做这类事的,上述商城模式属于典型的先收钱后释放的资金盘。”
近年来,依托互联网出现的资金盘项目越来越多,有的能活两三年,但绝大多数的寿命只有仅仅几个月。对于互联网资金盘群魔乱舞的怪象,有网友曾指出其本质:“资金盘是指用直投倍增原理,以动态或静态资金流通形式为特征的金字塔骗局,资金盘本身没有造血功能,只能拆东墙补西墙,是以新增会员的钱支付前面会员收益的平台。这种平台会巧立名目,以高收益诱惑勾起投资者的贪欲,进行非法集资,极具隐蔽性、欺骗性和社会危害性,最终的结局就是崩盘。”另外一位业内人士的观点也无外其中:“某些返利盘一天返多少,一个星期返多少,违背金钱的流通性规律,当进场量不够支撑提现出口量的时候,资金链就会断裂,崩盘。”
至于以“用资本构建财富闭环,携手合作,共创价值,共谋福祉”为理念、以“全民消费、参与持股、为客户创造财富、为社会构建和谐”为使命的尚美诺优在今后会如何发展?尚美官网的目标——“2021年,通过大数据的采集,打造集团物联网、收购银联支付牌照,进入支付流通领域,增加资产为集团上市做好前期准备工作;2022年,完善集团六大板块,进入资本市场实现集团的千亿市值”能否顺利实现?对此,微商电商调研将相继保持关注。












