汇鑫隆泰旗下“华夏老年网”涉嫌传销和非法集资
发布时间:2022-03-16 文章来源:中国网
投资看广告就能赚钱?而且还专门针对老年人!近日,腾网头条收到爆料,黑龙江省汇鑫隆泰科技有限公司旗下的“华夏老年网”正在用投资看广告赚钱拉人头。
根据调查,黑龙江省汇鑫隆泰科技有限公司的华夏老年网,通过举办老年活动等方法,主要吸引老年人参与其广告赚钱活动。老年人先投资990元到8000元不等,然后每天完成指定的“看广告”操作,即可获得几十元不等的返现,直至返本以及获利。名义上是看广告赚钱,但本质上是一种投资返利,已经涉嫌变种非法集资。
腾网头条发现,为了吸引更多人参与做大资金池,华夏老年网还鼓励老会员拉新,拉一个新会员最低奖励360元。以高额回报刺激,以缴纳入门费为基础,鼓励人传人,涉嫌变种传销。不仅如此,为了应对日益严峻的口碑下滑,黑龙江省汇鑫隆泰科技有限公司发声明否认运营“华夏老年网”,并推出新名字“最美华夏老年网”。


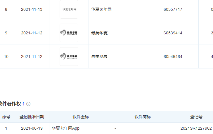
不过,腾网头条查实,黑龙江省汇鑫隆泰科技有限公司2021年8注册了“华夏老年网App”软件知识产权,2021年11登记申请“华夏老年网”商标,该公司和法人代表也多次以“华夏老年网”名义开展活动发布文章。可见,华夏老年网是黑龙江省汇鑫隆泰科技有限公司运营,其改名并否认原名称纯粹掩耳盗铃。
【声明:登载此文出于传递更多信息之目的,文章内容仅供参考,不构成投资建议。】












