立讯精密市值今蒸发178亿 一实控人套现近72亿元
发布时间:2021-02-05 文章来源:中国经济网
中国经济网北京2月4日讯 立讯精密(002475.SZ)今日跳空低开,全天低位震荡,最低跌至48.00元,跌幅6.87%。截至收盘,报49.00元,跌幅4.93%,成交额75.01亿元,换手率2.18%,市值一日蒸发178.37亿元,当前总市值3441.07亿元。
2月3日晚间,立讯精密披露,控股股东立讯有限及其一致行动人、实际控制人之一、副董事长王来胜于当天通过深交所大宗交易系统减持无限售条件流通股约1.40亿股,占公司总股本2.00%。减持资金将主要用于其他产业投资及部分偿还立讯有限银行借款的资金需求。

公告称,自2020年9月3日《简式权益变动报告书》披露至今,公司股票期权激励计划激励对象通过自主行权系统累计行权约2579.66万股,公司总股本增加约2579.66万股,控股股东立讯有限及王来胜原持股比例由41.12%被动稀释至40.97%,稀释比例为0.15%。
此次变动后,两者合计持股27.37亿股,占总股本比例38.97%。其中,王来胜将不再持有无限售条件股份。

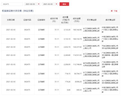
据深交所披露的大宗交易减持情况显示,2月3日立讯精密共成交8笔大宗交易,合计成交1.4亿股,成交价格51.11元,合计成交金额为71.78亿元。公开消息称,上述操作正是立讯精密实控人进行的交易。

【声明:登载此文出于传递更多信息之目的,文章内容仅供参考,不构成投资建议。】












