女大学生死于高德打车事件:车辆及司机疑“无证”运营

聚合打车平台高德地图因为一起车祸事故陷入舆论漩涡。
6月26日,郑州女大学生苏玉玲和朋友乘坐高德打车平台推荐的“有象约车”途中遭遇车祸,不幸身亡,同行人员另有2人重伤,2人轻伤。
涉事网约车到底有无“两证”?
根据郑州京郊部门出具的报告,6月26日1时37分许,“有象约车”注册驾驶员徐某驾驶小型轿车搭乘乘客,行经郑州市西三环北延长线三全路(白桦街)交叉路口,遭遇刘某驾驶的车牌为豫A997**的重型自卸货车撞击,发生交通事故。事故造成乘客苏玉玲死亡,同车的苏玉玲三个同学和网约车司机,均有不同程度受伤。
交警部门认定,刘某驾驶重型自卸货车未按照交通信号通行(闯红灯),超过核定的载质量,驾驶车辆时有拨打接听手持电话妨碍安全驾驶的行为,是造成事故的原因,刘某负事故全部责任。
苏玉玲的家人对媒体表示,悲剧发生后,交警对事故责任进行了判定,经核查,苏玉玲所乘坐的网约车是属于没有通过任何安全培训和监管的车辆,司机属于无证上路。
苏玉玲的哥哥发微博质疑说,此次出事故的网约车是如何在没有任何相关证件的情况下通过层层审核来上路经营的?

对此,高德打车发布公开声明回应称,有象约车具有交通部门颁布的当地网络预约出租汽车经营许可证。
那么,苏玉玲乘坐的车辆到底是否具有合法的网约车资质呢?
此次出事故的网约车属于高德打车聚合平台下的“有象约车”。企查查显示,有象约车隶属于河南金途科技集团股份有限公司。

高德打车披露的网约车平台证照显示,河南金途科技集团股份有限公司于2018年4月向郑州市公共交通客运管理处提出网约车经营申请,于2018年10月获得审批通过,经营范围为全国。
河南金途科技的宣传资料显示,“有象出行”网约车品牌成立于2016年12月,2018年10月15日,“有象出行”正式获得网约车运营资质,成为河南获批的第二家网约车平台。

这样看,“有象约车”及河南金途科技集团股份有限公司确实是有合规的网约车运营资质的。但是,这并不等于涉事车辆及司机具有网约车运营资质。根据2016年实施的《网络预约出租汽车经营服务管理暂行办法》,从事网约车经营活动有3个门槛:
1、对网约车运营公司来说,应当取得《网络预约出租汽车经营许可证》;
2、拟从事网约车经营的车辆依车辆所有人或网约车平台公司申请,符合条件并登记为预约出租客运的车辆,获批《网络预约出租汽车运输证》。
3、从事网约车服务的驾驶员经所在地市级出租汽车行政主管部门核查合格后,获得《网络预约出租汽车驾驶员证》。
也就是说,网约车是否合规合法,必须拥有三个证件,首先是网约车平台有经营许可证;其次是网约车要获批网约车运输证;最后,司机要拿到网约车驾驶员证。
苏玉玲乘坐的车辆是否满足上述三证合规要求?高德地图在声明中没有明确说明,仅仅表示“有象约车”有网约车经营许可证,但并没有披露涉事司机和车辆是否拥有“两证”(网约车运输证和网约车驾驶员证),这个显得疑点重重。
涉事平台此前曾因无证车辆被罚
实际上,作为一家聚合平台,高德地图在网约车行业并无任何优势,它既弄不清楚、也无法掌控接入的网约车是否具有“两证”。高德地图对各地网约车运营方缺乏强有力的监督和制约措施,难免导致大量无证车辆和无证人员接入系统,成为极其危险的假网约车。
高德打车的模式是互联网行业中最常见的流量变现,和互联网平台当年卖流量给现金贷行业一样,都是无知无畏地闯进了一片陌生天地。无论是网约车还是现金贷,都不是卖完流量拍拍屁股走人那么简单,这里面涉及到复杂的合规性问题,涉及到线下用户的人身安全、个人信息安全等,显然,跨界进入网约车的高德地图并没有意识到其中的风险,或者意识到了,但在巨大利益驱动下,并没有将用户的安全当回事。
对高德来说,这次悲剧事件不会是第一次,也绝不会是最后一次。
有证据显示,“有象约车”此前就曾因默许无证车辆和无证驾驶员非法从事网约车业务被查并被罚款。
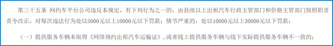
2020年7月15日,郑州市交通运输综合行政执法支队出具的处罚书显示,河南金途科技集团股份有限公司被罚款5000元,原因为违反了《网络预约出租汽车经营服务管理暂行办法》第三十五条第一款第一项,即“提供服务车辆未取得《网络预约出租汽车运输证》,或者线上提供服务车辆与线下实际提供服务车辆不一致的;”

彼时,“有象约车”应该已经接入了高德打车;如果当时高德地图采取有效措施,严禁未持有“两证”的司机和车辆接入,或许今天就可以避免苏玉玲的悲剧。

背景神秘的“有象约车”
至于这次涉事的河南郑州“有象约车”,其背景也很深。
公开资料显示,河南金途科技集团股份有限公司成立于2002年,注册资本与实缴资本均为3000万元,法定代表人为赵文广。该公司公开介绍称,其曾承担河南省道路运输局营运客车服务质量监督平台——“安全行”项目及“河南省出租车二维码乘客监督服务质量平台”项目;还成功研发了《河南道路建设项目各阶段造价数据系统》以及《河南省交通运输项目综合电子招投标系统》,河南金途科技称,后者极大地提高了全省交通工程招标的工作效率,最大限度的避免了招标工作中人为因素的干预。
也就是说,这家公司轻松拿到了多个河南省交通监管部门的项目。但是,公开信息看,这家公司非常普通,其官网名字叫今材网,其介绍称是河南唯一一家专业从事公路工程建筑材料信息服务平台,下图为该公司官网主页:

从官网看,其大概本意是做一个工程建筑材料信息平台,但肉眼可见页面“烂尾”了。从2016年起,这家公司开始追赶风口上的网约车,并顺利地拿到了监管部门审批的运营资格,而且是河南省第二家!
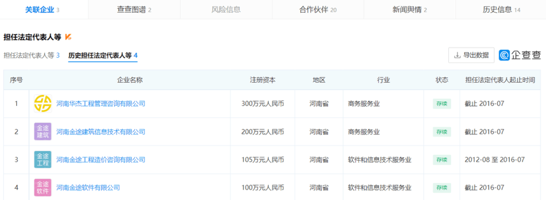
企查查显示,河南金途科技的股东大部分为自然人,其中赵文广持股64.41%,为大股东。

很有意思的是,赵文广历史上曾担任过多家工程管理咨询、工程造价咨询、建筑信息技术类公司的法定代表人,但2016年以后,他就陆续退出法定代表人。也是从那一年开始,赵文广开始全力进军网约车业务。

可以预料的是,无论是罚款也好,车祸死亡悲剧也好,等这一切都过去,“有象约车”依然可以象以前一样,合法地接入高德地图,它的那些非法营运车辆也不会有人再提起。












