佳莱科技因涉传案件被冻结资金3亿元 经销商艰难地维权
近日,河北省承德县人民法院公布了一份对佳莱科技有限公司(以下简称佳莱)的行政裁定书,裁定书上显示,法院根据《禁止传销条例》的相关规定,为防止被申请人转移或者隐匿违法资金,对于佳莱涉传一事做出了冻结佳莱、熊银河、谷琳、黄立明、祝军凯、祝菊梅、杨旋的银行存款,金额以3亿元为限,冻结期限为一年的行政裁定。
佳莱新品发布会现场
佳莱科技有限公司成立于2010年7月5日,注册资金8000万元,实缴8000万元,法人和董事长为熊银河,经营范围为:养生学的研究开发及技术转让;机织服装制造;服饰制造;家用美容、保健电器具制造;其他家具制造;家居饰品批发;化妆品及卫生用品批发;化妆品制造;化妆品及卫生用品零售等。
2015年7月,佳莱取得国内第64张直销牌照。直销区域包括福建、山东、浙江、江西、四川等18个省,直销产品分别为佳莱健康护腰夹、佳莱健足袜、腰部固定带、腹带、佳莱健康护膝裤、佳莱健康功能内衣6款产品,且均为保健器材。
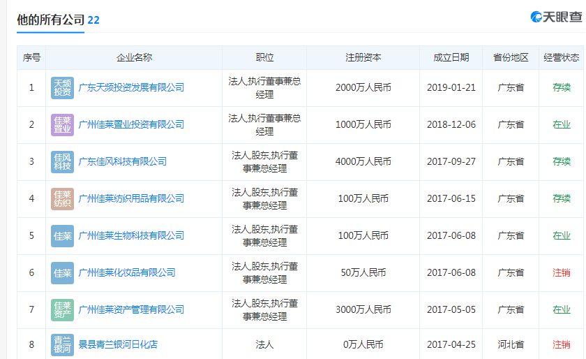
熊银河名下有22家公司
熊银河名下有22家公司,其中担任16家公司的法人,今年9月29日,熊银河卸任佳莱投资集团有限公司法人代表、执行董事、经理等职位。
早在今年7月,就有媒体报道佳莱因涉嫌从事传销被山东省济南市长清区市场监管局申请冻结11个相关银行账户,但长清区人民法院认为存在“该项所指的司法机关主体并不明确”等情况,对申请未予受理。
随后,佳莱又因涉传在河北被查。据媒体报道,河北省承德县市场监督管理局接到佳莱某加盟商举报称:“佳莱在互联网上建立会员网站,通过发展下线形成金字塔式的网络化布局经营,主要是销售频谱美体衣、床垫、眼罩、头罩、内衣频谱等保健产品,是典型的网络传销害人行为。”
这个时候,还有许多经销商还不以为然,继续做着“发财梦”。
8月31日,佳莱台湾养生文化村正式启动,许多经销商参与其中,董事长熊银河在项目启动仪式上说到:“希望尽我们自己的实际行动,一步一步地去做,这样的话,首先我自己会成为一个志工,每个月坚持要做5-8天的割草、洗碗、扫地的工作……”
据了解,佳莱科技依靠其奖金制度发展加盟商,成为会员则需缴纳每单12.3万元入门费。其中,八项奖励制度分别为直推奖、级差奖、同级、叠加、小组辅导、整组提成、分红、车奖。按照佳莱科技“金字塔”的模式,分为七个级别,分别为:加盟商、经销商、准代、代理、市代、总代、董事,每发展一名下线加盟商,就能得到14175元的提成,“目前已经达到了16个层级。”
据经销商提供的一份名为“佳莱科技六会法则+四推一法则”的材料中,时代财经注意到,除了要求加入者不断拉人头扩大自己的团队外,还要做铺垫邀约客户,将其带到工作室“洗脑”,以此提高新顾客下单率。
许多经销商表示:“佳莱的经销商一直鼓吹只要做到代理就能年薪百万,还有一套自己的算法,但其实我们很多人根本无法理解这套算法,只能按照他们所讲的不断拉人进来扩大自己的团队。”
如今,许多经销商纷纷醒悟,走在艰难的维权路上。












