2000亿市值灰飞烟灭问题缠身 中公教育为何成退款毒瘤?
现在社会的发展越来越快,大家在社会的竞争力不断加强,而对于就业方面大家都有了一定的选择,有的选择民企,有的选择考公,而近年来,考公已经变成了一个热门。在统计上,今年光是考公的人数202万多人,而去年报考考公的人数才只有150万而已,可以看出大家对于考公的需求更多了。

而在考公这一行中,有几家企业是非常知名的,包括中公、华图、粉笔在内的几家培训龙头在市面上是受到很多人的关注,也是很多考公人员的首选机构。其中,最为典型的就属当年上市就成为考公第一巨头企业“中公教育”,而它近期也是问题缠身,作为他背后的男人李永新更是受到所有人的热议。

2022年,今年也是问题多多的1年,曾经被捧上教育神坛的培训机构中公教育,如今也成为退款界的毒瘤。而作为他背后的男人李永新,1年赚多少钱呢?按照媒体报道,“作为吉林首富的李永新1年进账112亿元”光是这个数字不知道羡慕哭了多少人。

作为中公教育的创始人,1976年李永新出身吉林通化,父母都是工人,家中姐弟4个,小时候家里也不是那么好。而作为小的李永新很努力,长大了也靠自己考上大学,在1999年的时候靠着北大食堂免费的汤饭和3毛钱一份的虾米白菜熬到了毕业。

作为毕业后的李永新,在22年后,成为全球教育领域首富的李永新,一次性给母校捐赠10亿,成为北大建校以来的最大一笔个人捐款。而当时的时候,李永新的中公教育股价也是处于历史最高位的时候,当时市值超过2600亿元,也是在市场上占最多份额的。

但是,仅仅过去9个月的时间,如今中公教育的股价已经蒸发掉了2000亿元,截止到今日收盘,目前中公教育的股价只有4.46元,处于涨停状态,而总市值只剩下275.07亿元。市值比去巅峰时期9成市值已经跌去。

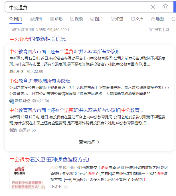
而如今的中公教育已经学员学费退费难的问题屡次登上热搜,而自己旗下的机构多次遭到问询调查。那么,这里的退费到底涉及到哪些呢?这里指的都是“不过包退”的协议班,即学员考试没通过,机构退还培训费。俗话说“交钱一时爽,退钱火葬场”,对于如今的考公来说,基本上都是一个高付出,低通过的结果,如今这种模式的出现,让很多考生看到了结果,毕竟节省成本,虽然看上去中公教育说的斩钉截铁,但是真的能让学子考上吗?

按照中公教育发布的数据上,在2019年到2021年,中公教育光是在退费上的金额分别是74.23亿元、100.09亿元、153.02亿元,退费率分别为44.14%、46.54%、68.46%,每一年都在上涨。而今年更是因为退费的问题,闹上了热搜。

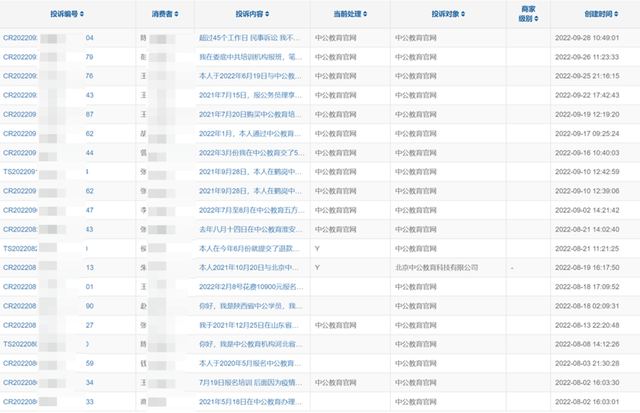
有网友发布的关于自己参加事业单位招聘,并且跟同学一起报了中公教育的“协议班”,当时的费用是10900元,其中协议上:如笔试、面试未通过,甲方(中公教育)向乙方退还培训费用1万元;甲方在收到乙方提交的完整退费手续材料,经核实材料真实、符合退费条件后30-45个工作日内,甲方将退费金额支付至乙方提供的银行账户。但是,未被录取的网友,在申请退费的时候,超过了45天最晚期限,都没有收到退款。而他多次联系中公方面的退费老师,也没有确定退款的时间到底是什么时候。

并且,随着时间的推移,要求退款的越来越多,很多人表示,如今一直没有明确的退款时间,最后连中公的线下门店都关闭了。如今教育界当年的扛把子,变成了一个拖着不肯退费的“毒瘤”。

其实,早在2020年的时候,当时中公因为退费的问题已经引起了相关监管部门的关注,光是在黑猫上的投诉就是日益剧增。而今年3.15,中公也登上了黑猫消费者服务平台教育培训类企业一周投诉飙升榜榜首;到了7月份,中公再次因为退费的问题登上热搜。基本上在百度搜索中公退费就能搜出一大堆的链接。

到底是因为什么导致的呢?
主要是在2020年的疫情爆发后,在社会上考公的选择人员是每年都在上涨,2020年的时候,当时考公人数才143万多人,而到了2021年就超过了150万人,到了今年更是突破到了200多万人。考公人员的剧增,让这个考公的难度不断上涨,并且疫情导致的考试时间不确定和交通等因素,导致出现各种问题。

而且,最重要的,想考公,但是很多人要么是刚毕业,要么是毕业后没赚什么钱,如何去上几千上万的课程呢?于是当时的中公教育还推出了“理享学”,贷款考公项目!中公的这个项目,比起其他培训机构由考生按月偿还的贷款的模式更为激进:0元入学,利息全部由中公教育承担。

这个东西的出现,让很多人觉得成本降低了,那么不需要像以前一样去费尽心思考试了,反正都能退钱,这也是如今中公教育通过率不断降低的原因。
并且,随着中公退费难的出现,不少不法分子纷纷开始跟进,导致很多学员被诈骗了不少的钱财,新闻报道山东李女士在办理网课退费,结果被坑了52万元,就是因为退费导致的。如今诈骗分子的手段越来越激进,有的甚至明目张胆的。

如今的中公教育已经走到了悬崖的旁边,对于市值已经跌去超过9成的它,目前面对资金紧张的问题,那么它还能坚持多久呢?












