东风雪铁龙C4世嘉故障遭大量车主投诉 质疑存在质量缺陷
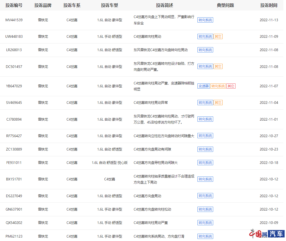
东风雪铁龙旗下C4L及C4世嘉转向柱严重松动问题由来已久,此前中国网汽车质量投诉平台就收到过大量车主投诉该问题,记者也曾针对上述故障投诉做过一系列跟踪报道。近期,我网投诉平台又收到多位C4世嘉车主投诉该车辆问题。

方向盘晃动严重 更换转向柱区别对待
车主谭先生告诉记者,自己的车是2016年4月入手的,从2020年下半年开始就出现方向盘松动的情况。经4s店工作人员检测后,承认是转向柱问题,需要更换,但车主需承担90%的费用。谭先生对此不能接受,他向记者透露:经过自己了解,雪铁龙C4世嘉车型普遍存在方向盘松动问题,需要换转向柱。因此他认为:此故障属于东风雪铁龙C4世嘉车型的通病。“肯定是质量问题啊,谁家的车开几年,方向盘严重晃动,跟要掉了似的,明显就是质量缺陷,但厂家不承认有问题……”值得注意的是,谭先生称有部分雪铁龙C4L车型已经进行了免费更换转向柱。与此同时,他告诉记者,在我网投诉平台投诉后,东风雪铁龙厂家曾主动与其联系,邀车主去当地4S店检测具体故障原因。“目前4S店在跟厂家申请是否可以免费换(转向柱),后期给我回复……”

另一位C4世嘉车主史先生与谭先生的车辆问题如出一辙,在我网投诉平台发起投诉后,4S店邀史先生到店检测车辆问题,当车主提出“为何部分C4L车型出现问题,厂家提供免费更换服务”的疑问时,店方回复称:C4L该故障出现频率较多,C4世嘉的故障频率较少,所以或需车主自费更换。对此解决方案,车主史先生称不能接受。“C4L和C4世嘉同样的故障不在少数,这明显就是质量缺陷,我不同意自费更换。”经过反复协商,4S店给史先生的最终方案是“东风雪铁龙厂家可以承担一部分费用,车主自己承担一部分。”
但史先生对此有自己的想法,他向记者强调,此前在我网投诉的一位C4世嘉车主,厂家已经为其免费更换了转向柱。因此,史先生质疑:为何有部分C4世嘉出现同样故障,厂家就为其免费更换?自己却要自费!“我不接受这种区别对待,也不同意厂家对其反馈的需要自费的说法。”
“这个问题不是我们车主问题,而是汽车质量的问题,为什么反倒要我们来承担?为什么还存在区别对待?厂家应该对问题车型进行统一召回,这才是对我们车主最负责任的做法!”史先生激动地向记者表达了自己的看法。

“汽车作为一个耐用品,转向柱作为转向系统的重要部件,在行驶不到两万公里,坏掉,不可思议。”;“这是2016款C4世嘉手动、自动挡的通病。因为不是个䅁,而是同年限,同车型。已经符合了由于设计,制造等方面的原因而在某一批次、型号或类别的车产品中普遍存在的具有同一性的危及人身财产安全的不合理危险。应属于缺陷汽车产品。”;“希望厂家重视这个问题,人命关天,对该批问题车辆召回处理。”……我网投诉平台陆续收到的大量东风雪铁龙C4世嘉车主的投诉及诉求。针对此事,记者也第一时间联系了东风雪铁龙方面,希望了解投诉进展,但截至发稿,未收到对方回复。
大量投诉曝出 质疑车辆质量存缺陷
虽然方向盘松动看似并非车辆的严重故障,但转向系统对于车辆的行驶安全却起到至关重要的作用。如果出现故障问题,或将导致车辆的行驶路线发生跑偏,严重时,可能对驾乘人员的生命安全造成威胁。
上述投诉中被车主提及的C4L车型,实则早在2017年,就被车主集体投诉存在因方向盘自由间隙过大,导致方向盘抖动的问题,主要涉及2013款和2014款C4L车型。彼时,东风雪铁龙也曾私下为部分投诉车主免费更换转向总成,侧面默认了该故障为产品质量问题,但并未因此发起公开召回。如今,C4世嘉车型再次被曝同一故障问题,引发了大批车主们投诉,却迟迟等不到厂家合理的解决方案。
不可否认,法系车在国内乘用车市场的号召力与10年前相比可以用“云泥之别”形容,东风雪铁龙近些年车辆销量及市场发展也一直保持低迷状态,这与其没有把控好产品质量不无关系。为此,东风雪铁龙也曾做过一系列努力,其中作为“元+”计划实施以来最重要的一款产品—东风雪铁龙凡尔赛C5 X的上市,对品牌确实起到了至关重要的提振作用,然而却仍躲不过被大批量车主投诉的梦魇。从今年年初开始,该车型因存在严重车身抖动问题就被车主陆续投诉,我网也曾对此进行了跟踪报道。
前不久,神龙汽车宣布截至今年10月16日,公司销量突破10.06万辆,超过2021年全年销量,实现连续23个月同比正增长。然而该成绩与其超70万辆的历史最好年销量相比,还存在着巨大差距。据了解,2022年,神龙汽车的销量目标是15万辆,希望品牌在不断冲刺销量的同时,也能够用心倾听车主的声音,及时为其解决车辆问题,不要让故障隐患陪伴车主出行。












