隆力奇集团董事长徐之伟被警方取保候审:因涉嫌非法集资
近日,据多家媒体报道称,隆力奇集团董事长徐之伟因涉嫌非法集资被苏州警方取保候审。近几年,隆力奇因旗下公司屡屡陷入涉传等传闻中,董事长被调查也早有迹可循。
或涉及聚好商城原始股纠纷
根据公司官网信息显示,隆力奇始创于1986年,以蛇油膏起家,公司总部位于苏州市,是一家在日化保健产业内多元化发展的大型企业集团。另据企查查显示,江苏隆力奇集团有限公司则成立于1996年,公司法定代表人、实际控制人和最终受益人均为徐之伟。
经过30余年的发展,隆力奇旗下的控股公司和分支机构分别达到了百余家。而隆力奇涉及的领域也包括了化妆品、保健品、洗涤用品、医疗健康器械、房地产、金融等,非常广泛。
此次爆雷或与隆力奇关联公司聚好商城有关。据媒体报道:“隆力奇从2015年至2018年期间以众筹和股权名义,在全国范围内向社会公众吸收存款高达近8亿元。由于隆力奇近年来受多方面因素影响导致资金链断裂,无力偿还投资人投资款而遭到投资人长期投诉举报。目前,苏州警方已立案侦查。徐之伟在今年1月12日被警方取保候审。”
对此,青眼第一时间致电隆力奇公司,客服表示,“对此事不知情”,并称,“公司仍在正常运营中”。
据了解,“取保候审”即为“保释”,指的是在刑事诉讼过程中,由犯罪嫌疑人或被告人交纳保证金或提供保证人,保证在诉讼过程中服从管理、司法机关随传随到,等待法院开庭审判的一种刑事强制措施。
据两位接近隆力奇集团的知情人士透露,此案与隆力奇集团旗下聚好商城的原始股东的利益纠纷有关。他们均介绍,“在聚好商城上市前,许多隆力奇会员购买了聚好商城的原始股进行投资,然而在聚好商城上市后,这些持有原始股的股东却发现股权被折算而导致亏钱。因此,隆力奇就被投诉、举报。”
公开信息显示,聚好全球股份有限公司(聚好商城主体公司)于2019年8月16日成立,是隆力奇集团旗下综合电商平台。目前,聚好商城公司通过四个销售渠道运营:在线直销,授权零售商店分销,第三方商家和实时流媒体营销。截至2019年12月31日,聚好商场已有156万名VIP会员。
根据聚好商城招股书,聚好商城于2012年开始运营,是国内第一批基于会员制的电商平台,主要销售化妆品、保健品、日用品等。截至2020年上半年,平台有177万已注册用户,有174家加盟网店店主。招股书还提到,聚好商城最大的供应商为关联方——隆力奇集团及其子公司。
2021年3月17日,聚好商城正式在美国纳斯达克敲钟上市。
两年前已出现端倪
上述知情人士还透露,“虽然徐之伟被取保候审是近期发生的事情,但是,这场纠纷是从聚好商城上市不久后就已出现。”
据了解,在聚好商城上市前,隆力奇曾以聚好商城上市为由,进行了共计5轮的原始股融资。另据南方周末报道称,“有多名会员反映‘在2017年到2018年间,招商会开到疯狂,大会小会不停,每天都有人在推销原始股’。而隆力奇公司和聚好商城从未披露相关情况。”
原始股是指公司上市之前发行的股票,由于原始股的赚钱几率较大,因此,“原始股”也普遍被认为是一项不错的投资。
然而,在聚好商城上市后,购买了原始股的股东原本以为会“大赚一笔”,但是却被隆力奇告知“原始股有180天的禁售期”。并且,在禁售期结束后,隆力奇以各种理由,将原始股折算成当初四十分之一,导致不少股民亏钱。
青眼看到,在东方财富网股吧里,不少股民发帖“讨伐”聚好商城、隆力奇以及徐之伟。
截自东方财富“聚好商城吧”
目前来看,聚好商城的股价也遭遇了“上市即巅峰”。据悉,其上市首日收盘价为8.71美元/每股,而截至目前,其股价已降至0.485美元/股,市值约人民币1.12亿元。另据聚好商城财报显示,2019年至2022年上半,公司营收分别为4.18亿元、6.56亿元、11.57亿元和6.8亿元。
经销商多次涉传,徐之伟曾违规带货
众所周知,隆力奇是国内知名的日化企业,2002年,"隆力奇"商标还曾被国家工商行政管理总局认定为“中国驰名商标”。而徐之伟本人也多次获得“江苏省优秀民营企业家”“中国十佳诚信企业家”等荣誉称号,并曾连续三届担任江苏省人大代表。
此外,隆力奇主体公司江苏隆力奇生物科技股份有限公司还在2008年8月就拿到直销经营许可证,是国内为数不多的获得直销牌照的企业之一。
不过,这样一家有着风光过往并拥有直销牌照的老牌日化企业,却屡屡爆出经销商“涉传”案件,并已有多名经销商被法院判决。
根据2015年发布的一份《江苏省淮安市中级人民法院刑事裁定书》显示,一位名为“张博川”的隆力奇经销商就曾组建了隆力奇博川国际营销团队,并假借隆力奇公司产品直销名义,以推销商品为名,发展十余个团队组织从事传销活动,最终该经销商也因涉嫌组织、领导传销活动罪被判处有期徒刑三年,刑满时间为2016年8月。
在张博川出狱后,据微信公众号 “隆力奇微讯”于2018年3月发布的一篇推文,描述张博川为“隆力奇五星董事”;在2019年2月推送的文章则又称张博川为“隆力奇联盟委员会常委”等。该公众号的注册主体为隆力奇生物科技股份有限公司。
除此之外,隆力奇及旗下子公司还曾涉嫌违规宣传等问题。譬如,2022年5月11日,国家市场监督管理总局主管媒体《产品可靠性报告》通过官方微信发文,直指“隆力奇董事长携多位明星发布涉嫌违规广告”(详见青眼号外文章《隆力奇董事长推荐?不靠谱!》)。此外,去年6月,隆力奇集团还因建设项目未编制环评,被常熟市辛庄镇人民政府罚款45万元。
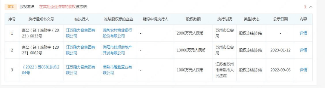
值得关注的是,今年1月,隆力奇集团在多家公司所持有的股权被冻结,具体为,隆力奇集团在海阳市佳旭房地产开发有限公司的1.3亿元股权和在潍坊农村商业银行股份有限公司的2000万元股权均被冻结半年。
截自企查查
作为有着30余年历史的国货老牌,隆力奇如今却丑闻缠身,不禁让人唏嘘。












