天首集团“爆雷”:天首聚智旗分公司涉嫌非法集资7人被抓

天首集团“爆雷”案有了最新进展,内蒙古警方发布该集团旗下天首聚智旗下一分公司涉嫌非法吸收公众存款,7人被采取刑事强制措施。该公司实控人邱士杰已经成为失信被执行人,其当初控股的天首发展在去年6月份已经从A股退市。
天首集团“爆雷”案有了最新进展。
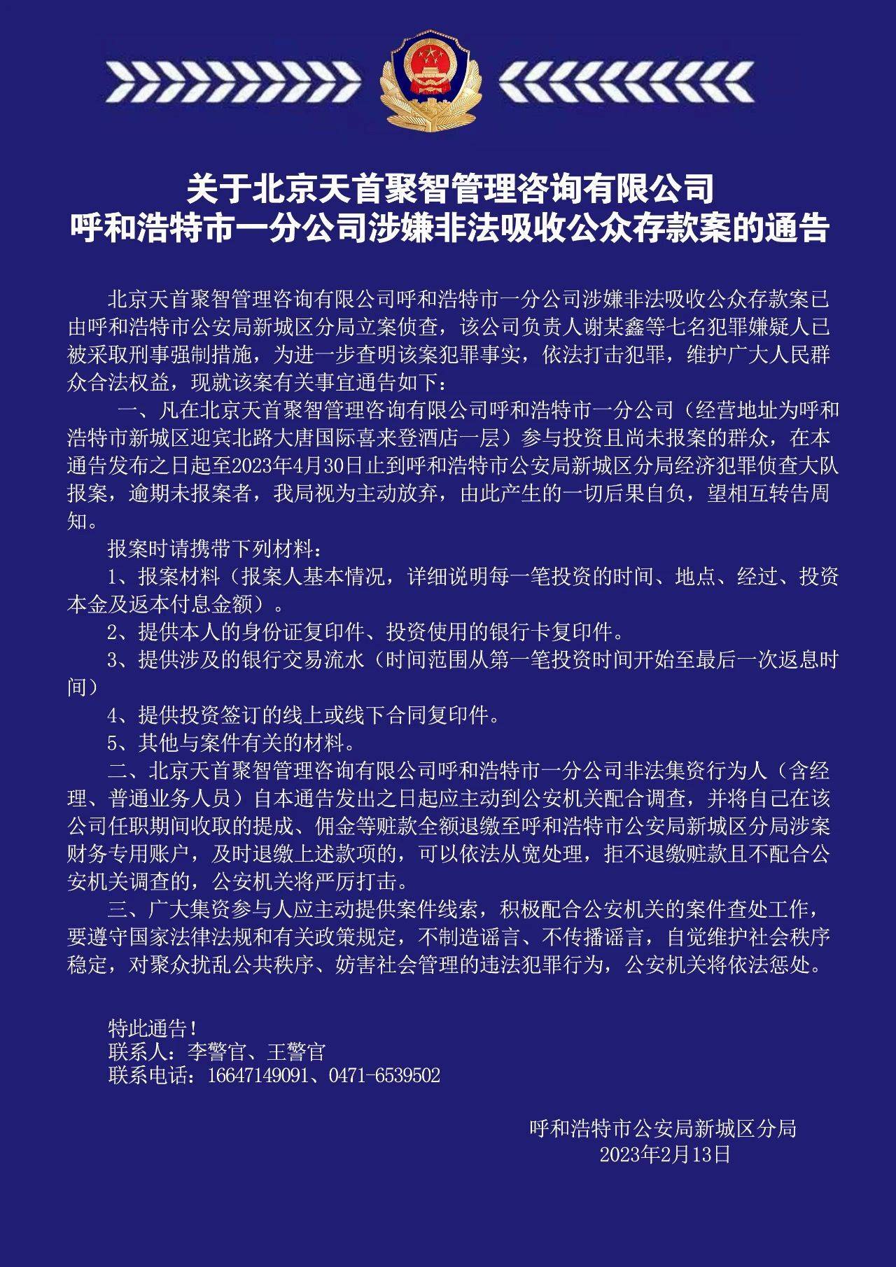
2月13日,内蒙古警方发布天首聚智一分公司涉嫌非法吸收公众存款,7人被采取刑事强制措施。
通告称,天首聚智呼和浩特市一分公司涉嫌非法吸收公众存款案已由呼和浩特市公安局新城区分局立案侦查,该公司负责人谢某鑫等七名犯罪嫌疑人已被采取刑事强制措施。
凡在天首聚智呼和浩特市一分公司参与投资且尚未报案的群众,在本通告发布之日起至2023年4月30日止到呼和浩特市公安局新城区分局经济犯罪侦查大队报案,逾期未报案者,视为主动放弃,由此产生的一切后果自负。
天首聚智呼和浩特市一分公司非法集资行为人(含经理、普通业务人员)自通告发出之日起应主动到公安机关配合调查,并将自己在该公司任职期间收取的提成、佣金等赃款全额退缴至呼和浩特市公安局新城区分局涉案财务专用账户,及时退缴上述款项的,可以依法从宽处理,拒不退缴赃款且不配合公安机关调查的,公安机关将严厉打击。

戴着A股光环的理财平台
天首聚智为北京天首资本管理有限公司(简称天首资本)旗下公司,实际控制人为1976年出生的邱士杰。
邱士杰除了控制天首资本,还控制北京天首投资管理有限公司(简称天首投资)、天首投资基金管理(北京)有限公司(简称天首基金)、北京天首财富管理顾问有限公司(简称天首财富)、兴丰财富投资担保有限公司(简称兴丰财富)、杭州锐银网络科技有限公司(P2P平台锐银理财运营公司)、北京凯信腾龙投资管理有限公司(简称凯信腾龙)等多家投资理财平台,整体构成天首集团的财富业务板块。
其中天首基金成立于2011年4月,天首投资成立于2011年7月,是邱士杰早期资本运作平台。2014年4月,天首基金在中国证券投资基金业协会登记备案。
2015年8月邱士杰还通过合慧伟业商贸(北京)有限公司斥资1.5亿取得A股上市公司内蒙发展控制权,2016年内蒙发展更名为天首发展。
正是因为有了A股上市公司光环,天首投资等投资理财平台得到了众多出借人信任。
邱士杰
实控人成“老赖”
2021年6月,天首基金因为不配合北京证监会监管检查工作,而且没有按要求配合基金业协会的自律管理工作,被基金业协会“除名”。天首基金遭处分具体原因是存在多项违规事实,包括募集私募产品完毕后未向基金业协会备案、向投资者承诺本金不受损失或最低收益、向非合格投资者募集资金等。
其实,早在2018年11月,天首资本旗下的P2P平台锐银理财就发布公告称,因部分借款方还款逾期所导致平台用户还款、提现延迟,对平台投资人本金延期兑付。锐银理财同时表示将有权选择以债务人的实物资产进行偿付。据统计,当时锐银理财总待收余额为2006万。
这意味着天首集团资金链已经出现问题。
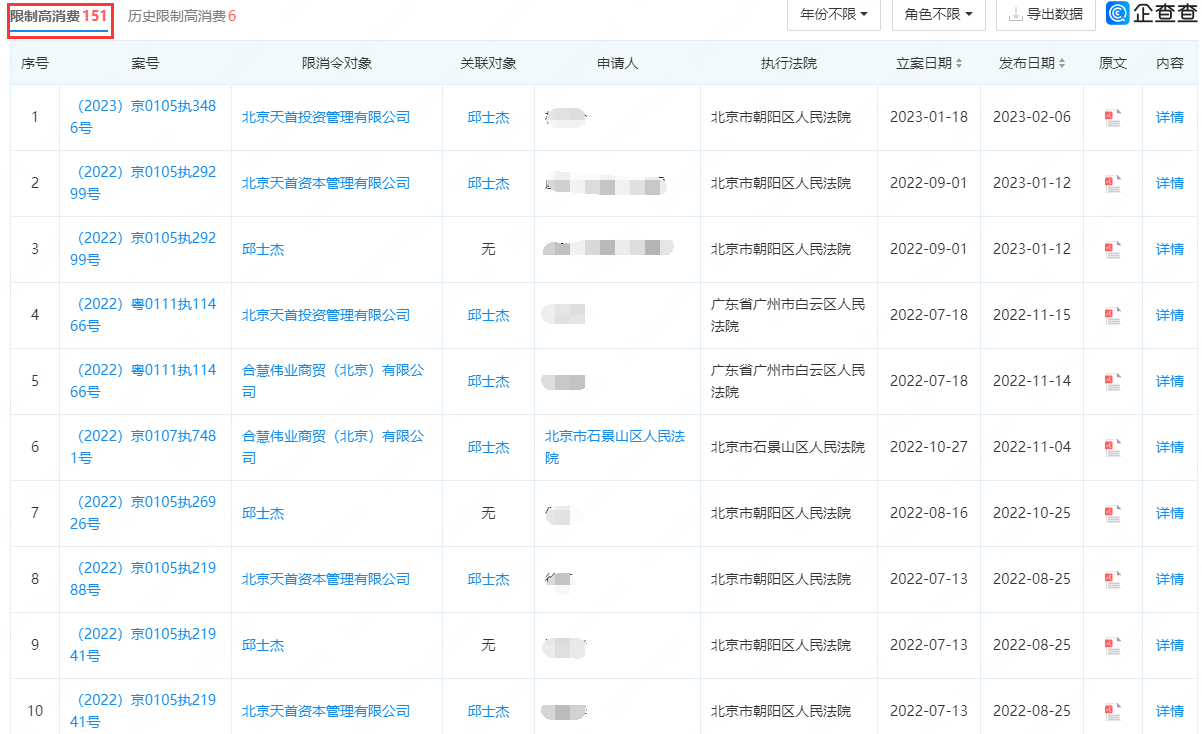
天首发展在2021年4月发布公告称,邱士杰因为涉及3起诉讼事项被相关法院下达《执行裁定书》,被认定为失信被执行人,涉及金额约2300万元。
企查查显示,截止目前,邱士杰未履行的涉案金额合计达到2538.39万元,邱士杰也因为未履行法院判决被限制高消费。

天首理财人去楼空
天首集团在2020年8月底进驻呼和浩特市成立了财富事业部,开始吸收客户的理财资金。这些客户手持的理财产品协议名称为《首能2号应收账款转让产品I期认购协议》《天首矿产资源基业3号融资计划认购协议》等,认购协议上加盖的是“内蒙古天首矿产资源有限公司”的公章。
但是后来天首集团呼和浩特财富事业部给客户们出具相关书面承诺时,使用的却是北京天首实业投资有限公司和北京天首聚智管理咨询有限公司的公章,有些书面承诺上还盖有天首集团呼和浩特财富事业部负责人邱世杰的私人印章。



天首聚智也正是此次内蒙古警方披露的涉案公司名字。
2022年初,天首集团突然宣布启动清盘工作,客户们的本金和收益将分阶段进行兑付。本金通过4次全部兑付,收益安排在2022年10月1日到2023年3月31日兑付。
不过到2022年3月份,投资客户发现天首集团呼和浩特财富业务部的办公地点已经人去楼空。于是,纷纷向警方报案。
由于连续两年亏损,并且营业收入低于1亿元,2022年6月28日,天首发展发布股票终止上市暨摘牌公告。
2022年8月,深交所对邱士杰未能恪尽职守、履行诚信勤勉义务,给予公开谴责处分。













