老牌国货公司隆力奇人去楼空 其超百家分支机构均已吊注销
发布时间:2023-02-21 文章来源:中国网
近日,老牌国货公司隆力奇人去楼空话题引发关注。企查查APP显示,隆力奇品牌关联公司为江苏隆力奇集团有限公司,成立于1996年7月,注册资本3971万元人民币,法定代表人为徐之伟,经营范围包含隆力奇牌蛇酒;食品生产加工;互联网销售等。
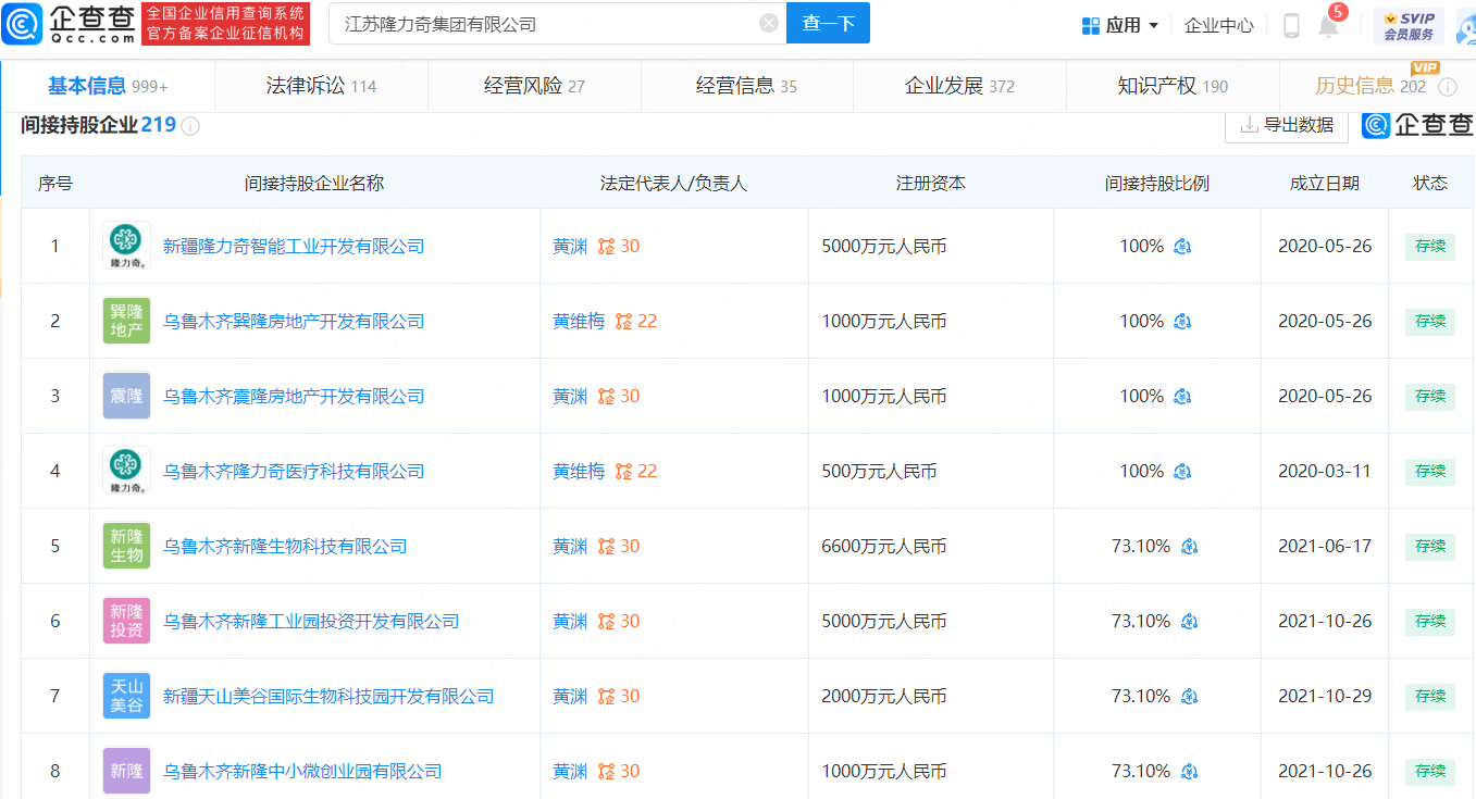
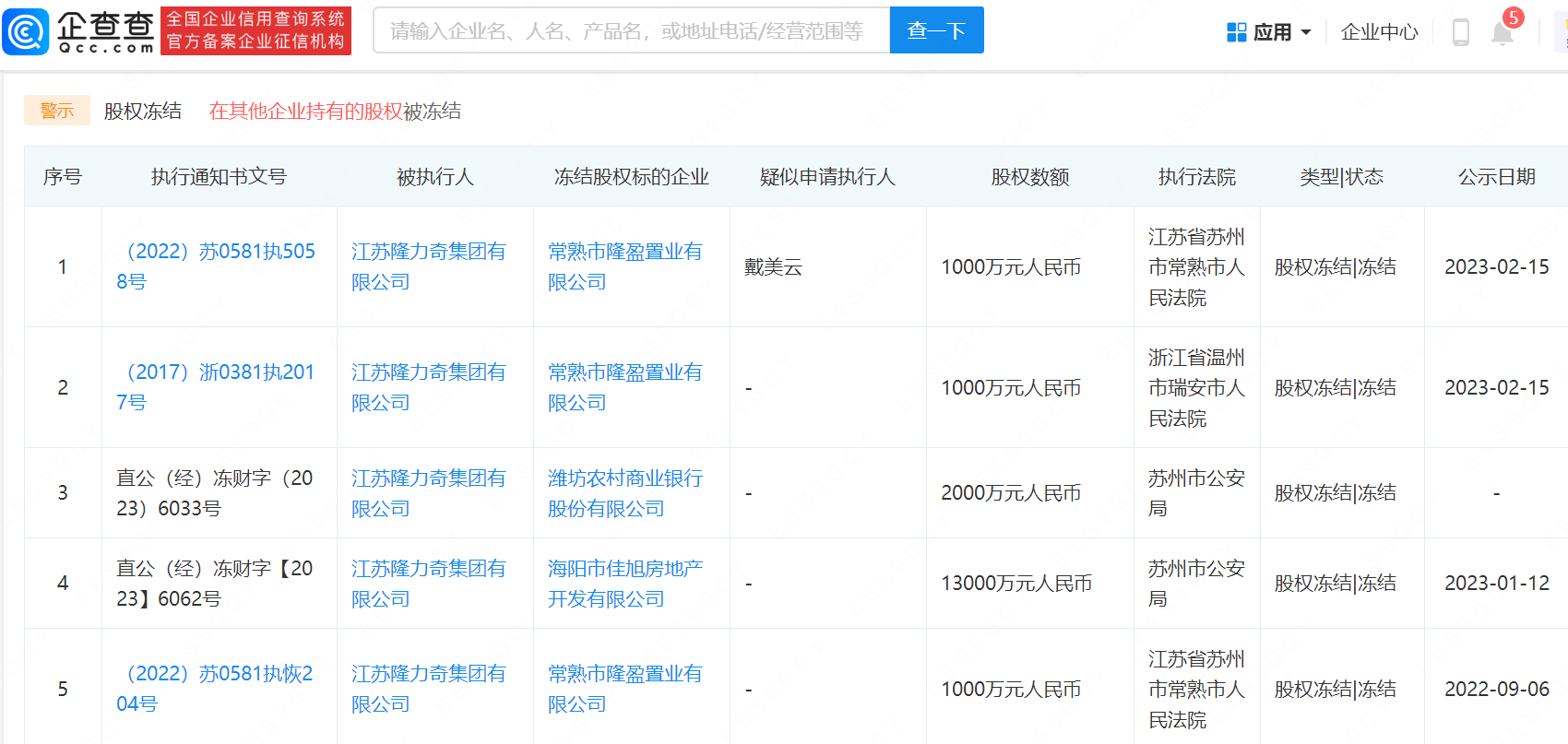
企查查信息显示,隆力奇集团公司对外投资有江苏隆力奇生物科技股份有限公司、海阳市佳旭房地产开发有限公司、潍坊农村商业银行股份有限公司等47家公司,控制企业120家,间接持股企业达219家,值得关注的是,该企业的上百家分支机构已处于吊注销状态,同时在常熟市隆盈置业有限公司、海阳市佳旭房地产开发有限公司所持有的上亿元股权被冻结。




【声明:登载此文出于传递更多信息之目的,文章内容仅供参考,不构成投资建议。】












