益鼎天养交易模式遭疑涉嫌传销 与国鼎天养竹盐有何关系?

不久前,有网友跟重庆打传防骗网反映,今年3月12日,益鼎天养全国巡回事业说明会在湖北宜昌西陵区召开。只要缴纳9900元、33300元、66600元等就能有不同的待遇,发展下线还能有加速收益。这究竟是怎么回事呢?

据官网显示,益鼎天养是美益添生物医药集团旗下公司,坐落于以全国经济中心、高水平科技创新中心、商贸物流中心和国际交往中心四大功能为支撑的国家中心城市武汉,地处具有全球影响力的创新创业中心“光谷”,是一家以“肠道微生态”为核心,集品牌、研发、平台、服务、培训于一体的高科技生物医药集团企业,致力于与人体健康直接相关的肠道菌群研究及成果转化,以科技成就品质,通过极具创新力的“微生态干预技术”对人体微生态系统实行健康管理,提供精准的营养补充方案,进而全方位提高人体健康水平,预防或逆转慢性病。

美益添集团创始人、益鼎天养董事长、生命科学专家沈鹤霄博士联合两位诺贝尔奖获得者,领衔多名相关领域专家,携手国内多所高校及医疗机构共建微生态研发中心,拥有多领域的知名专家、教授和技术研发人员;荣获数十项国家发明专利及多个奖项。

线下商品零售价900元一套;线上交易批发价450元一套,50%利润。



团购级别:分销商;县代;区代;市代;省代;总代。


那么这种模式能赚钱吗?对此有网友留言反映,该公司利用“投资可获得收益”的方式吸引投资者,并通过下线拉人的方式进行传销活动。此外,该公司有多名上级,他们以招商、众筹、购买产品等名义,向投资者收取费用,但实际上是在吸引投资者参与传销活动。

据证券人士分析称,甄别是否是合法成立的大宗商品现货交易平台,是否有合法的批准文件,是否是冒用合法的大宗商品现货交易平台。目前国家只批准大连、上海、郑州、中国金融四家期货交易所,如果在交易方式上看,与上述四家期货毫无关联而采用期货交易方式,进行期货类标准化合约交易,没有实物的现货交易和实物转移交割的都是非法的。而非法传销最重要的三个特征是“交入门费”、“拉人头组成层级”、“团队计酬”,参与者需要先入金购买商品,属于典型的“交入门费”行为;直接和间接获得分享收益具有三层“拉人头”层级;“团队计酬”则是由低买高卖、发展下线获益的形式实现,这种方式本身不是以扩大销售业绩为目标,而是以发展人员的数量为目标。

据企查查显示,益鼎天养运营方为武汉益鼎天养生物科技有限公司,注册资本为2000万元,李翔担任法人,美益添生物医药(武汉)有限公司为大股东,彭文武持股36.50%,沈鹤霄担任执行董事。

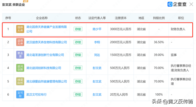
值得注意的是,彭文武还担任多家公司高管,包括湖北国鼎天养健康产业发展有限公司(简称:国鼎天养)、湖北绿爱自然健康管理有限公司、湖北葛圣源创新竹业有限公司等。
据网络舆情显示,国鼎天养曾被媒体质疑涉嫌虚假宣传以及涉嫌传销。据媒体发布的信息显示,其运营的鼎惠商城销售的九鼎竹盐宣传治疗胆囊炎、鼻炎、高血压、脑血栓、哮喘等各种疾病。
此外,国鼎天养竹盐现货的模式也遭到质疑,零售价:900元;批发价:450元,利润:50%。
购买900元一单,15万封顶,每月质押签到一单900元,起步投入2250元。规则:购一配4倍递减释放8%每天释放。挂卖:满足一单900元才能挂卖。
一、动态收益:
直推:10%加速释放
间推:20%加速释放
二、团队收益
团队收益名称考核业绩要求静杰+动杰释放比业绩加速比全网加权分红,现金月结平级一代计费:
分销商15+5(小区)20人4+1=5倍8%
县级代产生2个分销级60人4+2-6倍8%
区级代产生3个具级300人4+3=7倍8%1%
市组代产生3个区级1500人0+8信8%0.50x
省级代产生3个市级8000人0+9倍8%0.30x
总代产生3个省级30000人0+10倍8%0.20%
本网还注意到,售卖竹盐类的企业也遭到市监局的打击。据北青网健康频道报道,“天赐竹盐”此前运营公司是北京九烤粹健康食品有限公司(现已注销),如今收款方为广州九烤粹健康食品有限公司。2020年9月28日,中国裁判文书网公布一则题为《澧县市场监督管理局与北京九烤粹健康食品有限公司申请保全案件执行裁定书》(简称:《执行裁定书》)。

据《执行裁定书》显示,申请执行人澧县市场监督管理局在查处北京九烤粹健康食品有限公司涉嫌组织、策划传销一案中,为防止北京九烤粹健康食品有限公司转移或隐匿涉案的违法资金,澧县市场监督管理局于2020年9月7日向本院申请冻结北京九烤粹健康食品有限公司在金融机构的存款1000万元或等值其他财产。
对此,本网呼吁广大消费者发现借竹盐开展虚假宣传以及涉嫌传销活动行为请及时向有关监管部门举报。












