“火山邑动”董事长来自眼波视界:托管充电宝收益达1.6倍?


眼波视界,前世今生


(图片来源:企查查)
值得一提的是,王秋常此前还曾因未按时履行法律义务被福建省厦门市思明区人民法院申请强制执行,执行标的为89460元,案号:(2014)思执行字第05851号。
(图片来源:企查查)

在管理层方面,担任火山邑动董事长的人名为谢少雄,而在多年前,此人扮演的角色还是眼波(厦门)科技有限公司、厦门眼波视界数字技术有限公司的董事长,主营项目为“眼波视界。”
早在2021年,眼波视界被媒体曝出涉嫌传销的事件已然闹得沸沸扬扬。

微商电商调研在当时也曾先后以《眼波视界:关联企业深陷负面旋涡,所售护眼仪当真是眼疾患者的福音?》、《运作模式涉传屡遭曝光,扬言做大健康领导品牌的眼波视界还能走多远?》为题发表过报道,对该项目进行过曝光。
截至目前,谢少雄已不止一次被法院列为被执行人。
(图片来源:企查查)

关联企业,问题重重
关于项目背景,与火山邑动联手的中安晟鼎自然不得不提。2023年3月18日,“未来·已来 聚势共赢”暨2023年火山邑动资本新时代财富峰会在厦门举行,在本次大会中,火山邑动正式宣布与中安晟鼎达成战略合作,据悉,该公司旗下的项目与充电桩有关。


中安晟鼎(厦门)新能源科技有限公司拥有国有企业的背景,该公司成立于2022年10月8日,法定代表人为陈连英,监事为李立国,独资股东为中财国资(北京)企业管理有限公司,据企查查显示,中财国资的认缴出资日期同样在2072年。
(图片来源:企查查)

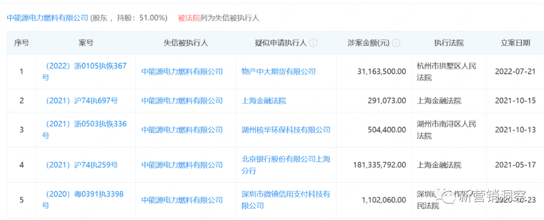
调查发现,在以往的数年间,中财国资公司的大股东中能源电力燃料有限公司曾被法院列为失信被执行人达20多次。
(图片来源:企查查)

围绕着中财国资(北京)企业管理有限公司的大股东传出的破产重整信息早已令人有所耳闻。
(图片来源:企查查)




调查发现,这家公司也曾因未按时履行法律义务被法院申请强制执行,执行标的为9702元,案号:(2020)闽0211执2571号。
(图片来源:企查查)

顺带一提,如今已是毁誉参半的自媒体大V龚文祥为了表达对该项目的支持,还曾专门发过朋友圈,据相关报道显示,此人也出席了2023年火山邑动资本新时代财富峰会。

而后,在龚文祥千人论坛当中,火山邑动同样也是盛装出席。

揭底模式,多重收益
接下来,我们再来关注一下火山邑动推行的奖金制度该如何解读,以及参与者如何通过该平台赚钱。






复购收益同样相当可观,以投资30万元为例,复购第55天,收益翻倍,复购91天后,每天可提现7200元,42天即可收回30万元本金,24台充电宝可累计获得72万元的产业分润收益,减去本金,纯收益达到42万元。



据官方公众号介绍,充电宝套餐所包含的路途熊共享充电宝已在全国布局超过5万台,预计2023年将在全国投放10万台以上。
自该项目启动以来,选择投资其中的网友也已是越来越多。


股票收益,预估市值?
为了进一步达到招商效果,火山邑动还把股票收益摆在了广大投资者的面前。正如前文所述,用户购买10万元的套餐时,可获得平台配送的香港主板上市公司股票,前3000名配送5000股,后7000名配送3000股(4月17日活动结束)。


(图片来源:百度)

显而易见,该公司目前的市值与火山邑动的课件资料提到的2023年12月将达到100亿到250亿的预估市值相差悬殊。

神奇饮品,激活细胞?


(图片来源:官方微信小程序)

据知情人透露,火山邑动苏打水这个项目将在2023年5月正式启动。

眼下,在一些反传自媒体发布的《崩盘跑路和即将出事的平台》名单当中,“火山邑动”已然榜上有名。












