演员宋祖儿被曝避税4500W:名下3家公司注销恐被约谈
8月31日,演员宋祖儿火速冲上了热搜,起因是因为她被人举报了,这个人是她原先的员工,不知道在职期间发生过什么,导致其居然在离职后,主动对其进行了举报,因此一时之间网友们都纷纷对这件事充满了好奇。

宋祖儿被曝避税4500w
对于宋祖儿被曝避税4500w这件事,一开始大家还是不相信的,但是看到内容后,大家也不得不相信,因为根据知情人所发布的举报受理单和内情,说明这件事是真实存在的,但具体真实度,还是需要有关部门调查,因此很快宋祖儿被曝避税4500w,就冲上了热搜。


这让不少网友好奇,究竟事情是真是假,从知情人的说法中,是因为宋祖儿对其前员工不好,所以对方对其进行了实名举报,并提交了一系列的证据和相关信息,并且还指出宋祖儿多次以拆分合同的形式避税。
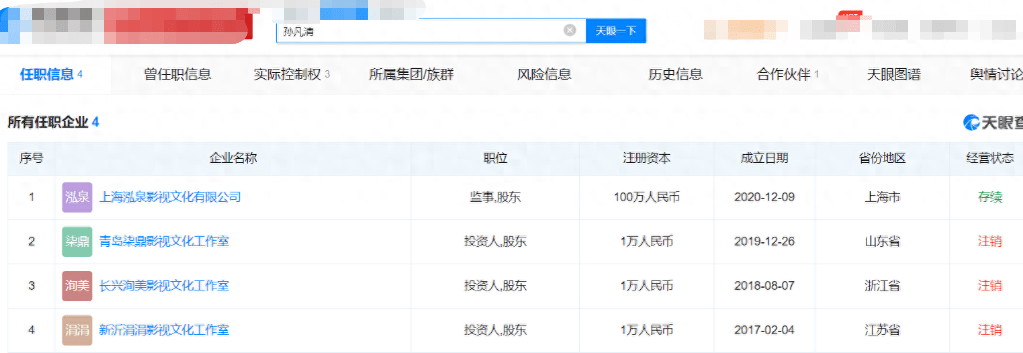
名下3家公司注销恐被约谈
因为这样可以很好的避免个税和附加税的增加,但事情远不止这些,因为根据内容,我们还可以得知,宋祖儿已经注销了名下的3家公司,这样就可以用工作室的名义承担业务,使得个人所得变成了经营款。


这一点大家原本是不相信的,但是经过在相关网站的查询,大家发现宋祖儿名下3家公司注销恐被约谈,之所以这么说,是因为其名下的3家公司确实是注销了,因此无疑为知情人的说法增添了一大证据。

而且根据知情人的晒图,大家能看到事情是被受理状态了,所以接下来,宋祖儿恐被约谈,毕竟事情与她息息相关,只有她主动配合,才能尽快的得出事情的真相,因此被约谈恐怕是在所难免的。


对此网友觉得做的没错,如果宋祖儿没有相关事情的话,那就算约谈也不会有事,但是相反的话,则会使得事情发生翻天覆地的变化,因为这意味着此前她所拍摄的多部作品,都有可能会无法上映。

因为我们现在能知道的,其名下《无忧渡》《阅读课》《折腰》《艰难的制造》四部剧还未上映,如果出现问题,很有可能作品就会无法上映,而且其上映的作品也会受到影响,连带着作品的出品公司也很难解决困境。
正午阳光受牵连
尤其是与宋祖儿有着多部作品合作的,正午阳光受牵连最大,因为一旦事情坐实,那么未来其名下的作品要不被删减,要不就是直接下架,所以正午阳光多部作品受牵连下架的话,对其公司本身,会造成很大的影响。


所以根据知情人的说法,现在的正午阳光方面,十分的焦头烂额,并不知道要如何解决这样的情况,但网友却觉得这件事就应该查明白,如果没是还好,如果是事实,那就应该承担相应的责任,而不是只在乎眼前的损失。












