卷入承兴国际诈骗案:案涉近17亿元 湘财证券能否脱身?
近日,一则涉及16.78亿的10起诉讼公告,把湘财证券推到了“风口浪尖”。
据公告显示,这十起诉讼的原告都是云南国际信托有限公司(下称:云南信托),而湘财证券作为被告之一,被云南信托以侵权责任纠纷为案由,主张连带赔偿损失,包括提前回购价款及违约金以及受理费、保全费等诉讼费用。
此次湘财证券与云南信托“对簿公堂”,案涉4年前一起逾300亿元的承兴国际(2662.HK)诈骗案。此前,湘财证券与云南信托旗下资管与信托产品均“踩雷”承兴国际控股,其中湘财证券损失9亿余元,云南信托损失15亿余元。之后,湘财证券在2019年推出了一份“3322”兑付方案,以第三方债权转让的形式接盘了该资产,以解决投资者的本金兑付问题,而云南信托与投资人之间的兑付故事仍在继续。
值得一提的是,云南信托也连续在年报中强调了此事,例如,在2022年报中,云南信托表示:云涌系列项目可能无法收回信托本金,存在不能向投资者分配信托利益的风险。目前,有关云涌系列项目的(11起)民事诉讼,仍需等待法院的进一步通知。
为了尽快兑付投资者,近日,云南信托起诉了云涌系列项目的代销方湘财证券,以及苏宁易购、承兴国际实控人罗静等“付款方”。
时至今日,承兴国际诈骗案余波仍在发酵,湘财证券能否脱身?
1、案涉近17亿,湘财证券再次卷入“承兴国际诈骗案”余波
9月9日,苏宁易购发布的一则重大诉讼公告内容显示,近日,公司分支机构苏宁易购集团股份有限公司苏宁采购中心(下称“苏宁易购采购中心”)作为被告之一,收到南京市中级人民法院送达的共计10起诉讼通知,案涉金额约为16.78亿,目前该案处于一审阶段。
原告云南信托以侵权责任纠纷为案由,认为苏宁易购采购中心等造成了云南信托经济损失,要求该公司连带赔偿云南信托的全部损失。
苏宁易购采购中心表示,本案与罗静等人涉嫌合同诈骗罪(即承兴国际诈骗案)有关,而上述合同诈骗案已经在2022年11月做出判决。根据判决书内容,本案中云南信托主张的重大财产损失与苏宁易购采购中心无关。

图源:易维视
此外,苏宁易购也对本案进行了自查,原告云南信托诉请公司承担侵权责任不能成立。因此,苏宁易购将积极应诉抗辩。初步判断本案不会对苏宁易购损益产生影响。
同样作为被告之一的还有湘财证券。云南信托要求湘财证券以及苏宁公司等被告,按照日万分之五的利率,支付自 2019 年 7 月 5 日起暂计至 2020 年 3 月 13 日的提前回购价款及违约金。
对此,湘财证券方表示,上述案件涉及的信托产品,是公司作为代销机构的,曾有投资者对云南信托、湘财证券等机构提起过诉讼。但在已生效的判决中,法院均未支持相关要求湘财证券的连带或赔偿等诉讼请求。
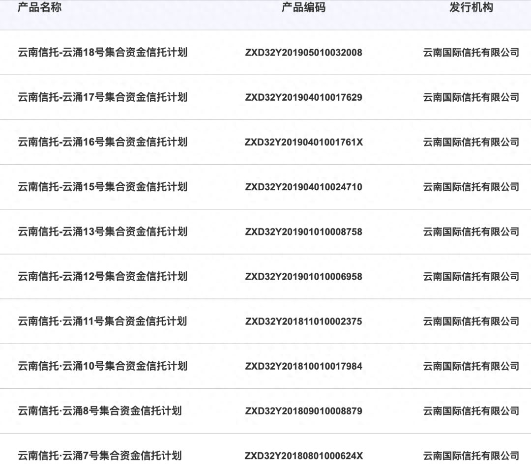
此前,云南信托管理的云涌系列信托项目,主要投向广州承兴(已更名为“广东中诚实业控股有限公司”)和广东康安贸易有限公司(下称“广东康安”)持有的以苏宁易购采购中心作为付款人的应收账款,罗静为融资方的实际控制人,实收信托规模合计15.83 亿元。湘财证券作为代销方,其代销规模超14亿。
其中,云涌系列信托项目共计11 个信托产品,分别为云涌1号、7号、8号、10号、11号、12号、13号、15号、16号、17号以及18号,成立时间从2018年8月起至2019年7月,产品期限均为12个月。产品到期时间为2019年8月——2020年7月。

图源:中国信托登记截图
这个系列的最后一款产品云涌18号,于2019年5月开始募集。不幸的是,前脚刚把钱打给融资方,2019年6月罗静就被警方刑事拘留,至此承兴国际诈骗案“爆发”,云涌系列产品“踩雷”。
目前,云涌系列信托计划因融资人未按照合同约定还款,根据合同约定自动延期,并且云南信托方面也没有给出具体的兑付方案。据2022年财报显示,云南信托已将云涌系列项目信托资产认定为次级类资产,即存在较大风险或违约风险的资产。9月7日,云南信托公布了云涌7号的延期公告。8月14日,发布了云涌1号的延期公告。
值得一提的是,云南信托为了早日挽回投资者损失,专门为云涌系列项目成立了风险处置小组。除了积极推进诉讼之外,还制定了投资者接待方案以及对云涌系列项目按照信托合同约定进行延期、聘请专业律师协助处理法律诉讼事务等措施,尽最大努力维护投资者信托财产安全。
2、连续4年“偏爱”罗静
因为云涌系列信托项目暴雷,湘财证券作为其代销机构也“惹”上了不少官司。
2022年底,裁判文书网公布了一则由湘财证券、云南信托作为被告的一审民事裁定书。起因是2018年9月、2019年5月,湘财证券先后向投资人李女士推荐了云南信托的云涌17号、8号、16号信托项目,之后李女士在湘财证券上海营业部开设了证券资金账户,并将资金存在湘财证券指定的银行账户,三起信托项目累计认购金额为1500万元。
之后,随着承兴国际诈骗案爆发,云涌系列信托产品暴雷。李女士认为云南信托、湘财证券、以及信托保管人招商银行北京分行等机构没有及时对投资者履行信息披露义务,此前也没有对采购协议、应收账款债权转让通知等文书的真实性进行核查,导致自己投资的1500万元及其信托收益损失,因此诉至法院。

图源:易维视
除了作为云南信托云涌系列项目的代销方之外,湘财证券的金汇系列资管产品也“踩雷”了承兴国际诈骗案。
根据中国证券投资基金业协会官网显示,湘财证券金汇系列资管产品共有22期,成立时间在2015年2月至2018年5月之间,截至目前该产品全部都已正常清算或提前清算。
据《中国经济周刊》此前报道,金汇系列产品主要投向罗静旗下的广州承兴(已更名为“广东中诚实业控股有限公司”)的应收账款融资。其中,金汇25、26、27号资管产品”规模约为5.57亿元。期限最久的是湘财金汇2号,该产品成立日期是2015年10月,而到期时间则是2023年10月,目前已提前清算。
那么,以承兴国际诈骗案爆发的2019年6月时间为节点,湘财证券从2015年2月成立金汇1号,连续4年为中诚实业融资。暴雷后,湘财证券寻找第三方机构接手已到期的金汇产品,并为投资者制定了“3322兑付方案”,两年半内分四次付清投资人的本息回款,每次回款比例分别是:本金的30%、30%、20%、20%+利息。按时间计算,如今2年半的时间早已过去,金汇产品兑付的如何了?对此,湘财证券客服表示:购买该产品的投资者可联系开户营业部咨询兑付情况。
这里不得不提到有“商界木兰”之称、一度风光无限的“承兴国际”实控人罗静,因诈骗和行贿被判无期的案件了。
2022年,轰动一时的承兴国际诈骗案一审被划上句号。
经上海市第二中级人民法院调查,在2015年2月至2019年6月期间,罗静旗下的中诚实业、承兴国际以及广东康安利用其与京东公司、苏宁公司开展采购业务的供应链贸易背景,私刻两家公司印章,伪造合同,并通过采取冒充京东、苏宁员工身份、截留并伪造应收账款债权确认文书等方式,以应收账款债权转让及回购等方式进行融资,共计300余亿元,实造成际损失共计88亿余元。上海二中院对被告罗静判处无期徒刑,并处罚金2010万元。
不过,罗静被公安机关抓获到案后及法院庭审中,均坚持否认了合同诈骗犯罪事实,仅对其行贿的事实供认不讳。因此有业内人士曾认为:罗静基本做的是无罪辩护,预计还将进行上诉。
不过,没有等来罗静的上诉,却等来了罗静再次成为被告。在此次云南信托发起的10起诉讼里,罗静及旗下的中诚实业、广东康安均为被告之一。
3、走出“阴霾”,上半年业绩扭亏为盈
信托踩雷,诉讼不断并没有影响湘财证券的业绩稳定。
随着2023年以来市场的回暖,尤其是一季度上证指数的走高,湘财证券的经营情况好转。
财报显示,今年上半年,湘财证券的营业收入8.86亿元,虽然较2022上半年的8.88亿元有所减少,但其净利润较同期增长了386%,至1.75亿元。
不仅湘财证券业绩回暖,母公司湘财股份业绩也“由亏转盈”。据财报显示,截至今年6月末,湘财股份营业收入为12.89亿元,同比下降45.63%;净利润为1.37亿元、同比增加265.31%实现扭亏为盈。
对于净利润大幅上涨的原因,湘财股份方面表示,2023年上半年,子公司湘财证券的经纪业务、信用交易、资产管理等各项业务稳健发展,自营业务、投资银行及其子公司经营业绩较上年同期有较大增长,导致公司净利润增长。

图源:易维视
至于湘财股份营收下滑的原因,则与湘财股份回归以湘财证券为主的金融主业的变动有关。从2022年6月到2023年6月,湘财股份逐渐剥离了物业子公司、医药研发业务以及金融服务业务3个主要子公司,主要控股参股公司数量减少至9个,因此导致了其营收出现下滑。
据了解,湘财股份前身是哈高科,2020年6月,湘财证券作价超106亿元借壳哈高科登陆资本市场,上市公司也更名为湘财股份。重组后,湘财股份开始以证券业务为核心主业。
湘财证券的前身为湖南省湘财证券营业部,成立于1992年,距今已有31年。经过多次股权转让,增资扩股,目前新湖控股持有湘财证券74.12%股权,为公司第一大股东。
不过,湘财证券的上市之路并不顺利。据《新京报》报道,2011年3月底,湘财证券与财富证券筹划吸收合并,谋求登陆A股市场。后因付款方式等问题,交易未能成行。
三年之后,湘财证券登陆新三板市场,成为首家新三板挂牌券商。然而,湘财证券“A股梦”并未停止。2017年,湘财证券决定冲刺IPO,在上交所上市。进入上市辅导期后,IPO一拖再拖,后来便没了消息。之后,湘财证券从新三板摘牌。直到2020年被哈高科收购,成功借壳上市完成A股梦。
之后,湘财证券不断优化债务结构,2023上半年成功发行10亿元公司债券,进一步提升其竞争力和风险抵御能力。
未来,10起诉讼的结果还存在不确定性,你认为湘财证券胜诉概率有多大?












