风雨飘摇的华通银行:监管处罚高息揽存 股东暴雷关联交易

前两天,开甲财经发布《华通银行今年已领3张罚单,存款利率高达3.9%,曾与国美易卡等合作放贷》一文后,有读者向小编爆料,华通银行近期开展的揽储活动,3个月定期存款表面利率1.8%,但“推荐指数”2.3%(实为贴息利率),综合利率高达4.1%。不仅如此,存满7天后,支持随时支取,并派发“随机奖励”,而随机奖励就是固定贴息。
华通银行高息揽储何以如此疯狂?这与华通银行在长期处于亏损边缘,且存在股东暴雷,关联交易等风险因素有关。储户的安全性得不到保障,自然要付出更高的成本吸储。
工商资料显示,福建华通银行股份有限公司(简称“华通银行”)成立于2017年1月13日,注册资本24亿元人民币,法定代表人汪宇,股东为永辉超市(27.5%)、阳光控股(26.25%)、兴衡投资(9.9%)、信通集团(8.85%)、盼盼食品(7.0%)、三盛地产(7.0%)、三棵树(7.0%)、圣龙食品(6.5%)。
(图片截自华通银行2022年年度报告)有意思的是,华通银行成立一年多以后,其8个股东又注册成立了一个“小号”——闽商控股(平潭)有限公司(简称“闽商控股”)。
工商资料显示,闽商控股成立于2018年9月13日,注册资本2.6亿元人民币,法定代表人张一曦,股东为张轩松(29.33%,代表永辉超市)、阳光控股(28%)、兴衡投资(0.56%)、循道投资(7.47%,代表三棵树)、盼盼股份、盛世投资(7.47%,代表三盛地产)、圣龙控股(6.935)、信通集团(2.77%)。
作为华通银行的“小号”,闽商控股经营范围为投资,2022年企业年报披露,社保信息为0人。闽商控股对外投资了福建商邦传媒有限公司(简称“商邦传媒”),而商邦传媒2022年企业年报披露,社保信息为1人。
开甲财经梳理华通银行8个股东发现,其中6个股东都不好过,要么经营不善,要么暴雷,要么关联交易,要么身份存疑。
一、永辉超市刚刚扭亏为盈
根据永辉超市披露的财报,2020年、2021年、2022年及2023年前三季度,永辉超市分别实现营业收入931.99亿元、910.62亿元、900.91亿元及620.88亿元,分别实现归母净利润17.94亿元、-39.44亿元、-27.63亿元及0.52亿元。在营业收入连续小幅下降的情况下,永辉超市在连亏两年之后,在今年第三季度刚刚实现扭亏为盈。
受此影响,永辉超市的总市值也蒸发超700亿元。2020年4月28日,永辉超市(601933.SH)总市值还高达1071.89亿元,这也是永辉超市近5年市值的最高点,但截至2023年11月23日收盘,永辉超市总市值只剩下278.60亿元,三年半的时间,永辉超市市值缩水了74%。
不止总估值在缩水,永辉超市门店数量也在缩减。百科资料显示,永辉超市2018年门店总数高达1275家,2019年门店数量降至911家,2020年增至1017家,2021年增至1057家,2022年降至1033家,截至2023年11月23日,永辉超市门店降至998家。
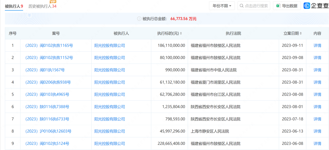
二、阳光控股被冻结25.90亿元
企查查数据显示,阳光控股共有2条失信被执行人记录,涉案总额1099.56万元。另外,阳光控股还有9条被执行记录,被执行总额6.68亿元。


截至发稿前,华通银行共有26冻结记录,其中被执行人为阳光控股的共有13条记录(数据来自企查查,12条有冻结数额),累计被冻结股权数额25.90亿元。
根据华通2022年年报披露,截至报告期末,华通银行的所有者权益余额为222509.82万元,而阳光控股持有华通银行26.25%的股份,即阳光控股持有的华通银行权益为5.85亿元。这也意味着,阳光控股持有的华通银行股权早已“资不抵债”。
三、兴衡投资与阳光控股“盘根错节”
开甲财经注意到,兴衡投资2020年企业年报披露的的企业联系电话为137XXXX4274,这与福建阳光物流有限公司(简称“阳光物流”)2020年企业年报披露的企业联系电话137XXXX4274一致。


工商资料显示,阳光物流的法定代表人为何明,而何明担任法定代表人的中民阳光国际贸易有限公司、上海皋鼎贸易有限公司的控股股东为阳光国贸集团有限公司(简称“阳光国贸”),阳光国贸的为一股股东为“龙净实业”,而龙净实业的实控人为吴洁。
百科资料显示,吴洁现任阳光集团董事长、阳光城第五届监事会副主席。
兴衡投资2019年企业年报披露的企业联系电话为138XXXX8735,使用过该电话的有西藏思汇锦工贸有限公司、阳光金服投资集团有限公司(简称“阳光金服”)等10家企业。工商资料显示,阳光金服的唯一股东为阳光龙净集团有限公司。工商资料显示,阳光龙净的法定代表人及控股股东为林腾蛟(阳光控股的实控人)。
四、信通集团被限制高消费
信通集团共有2条被执行记录,被执行总额19.66万元。另外,信通集团有1条被限制高消费记录,涉案金额为10.68万元。
五、三棵树为经销商贷款提供担保
今年11月4日,三棵树(603737.SH)发布《关于对外提供担保的公告》显示:近期,公司拟与华通银行签订《合作协议》,华通银行在4亿元的贷款额度内向公司经销商提供贷款。上述经销商未履行还款义务时,公司将代经销商偿还贷款,代偿金额不高于华通银行已批复的所有经销商贷款额度的10%,同时代偿累计金额不得高于人民币4000万元。
根据上述公告,华通银行拟向三棵树经销商发放的4亿元贷款已审批通过。但值得注意的是,该笔贷款虽由三棵树提供担保,但三棵树的最高代偿比例只有10%。也就是说,一旦三棵树经销商无力偿还贷款,华通银行面临无法收回90%贷款的风险。
今年5月4日,福建银保监局披露的最新行政处罚信息显示,近年来一直低调的福建首家民营银行华通银行,即因股权管理不到位等两项违规被罚100万元。
财联社记者援引资深投行人士王骥跃的观点:“银行股东不清晰主要风险在于不能显著识别关联方贷款带来的风险,表面上看是贷给了普通民营企业,但实际上是贷给了银行的关联方”。王骥跃强调,普通公司不要求披露股权代持和一致行动人协议,但金融机构按规定需要及时向监管披露。
开甲财经注意到,根据华通银行2022年报披露,该行风控总监由陆晓路女士担任,先后在建行福州分行、招行福州分行、民生银行福州分行、海峡银行从事风险管理工作。担任华通银行风控总监之前,曾任阳光金控风控总监。注:阳光金控的唯一股东为阳光龙净,而阳光龙净的实控人为林腾蛟。百科资料显示,林腾蛟现任阳光控股创始人、董事局主席。
二股东前任高管担任风控总监,这是阳光控股的有意安排,还是华通银行的独立正常选聘?
六、三盛地产实控人被立案调查
三盛地产共有4条被执行记录,被执行总额3.40亿元。另外,三盛地产有4条被限制高消费记录,涉案金额为745.71万元。
三盛集团官网披露,旗下业务板块包括三盛地产、三盛资本(三盛教育、三盛健康、三盛科技,以及金融)。其中,金融业务包括华通银行。
开甲财经注意到,三盛控股(02183.HK)至今未披露2021年、2022年经审计的年度报告。今年8月15日,三盛控股发布《复牌状况季度最新资料》显示,到期违约票据及债券的本金总额约为4.598亿元及1.70亿美元,所涉利息金额约为490万元及1520万美元。
2022年11月3日,因信息披露违规,*ST三盛(300282.SZ)原董事长林荣滨却被证监会立案调查。财报显示,2020年、2021年、2022年及2023年前三季度,*ST三盛归母净利润分别为-7.14亿元、-1.63亿元、-2.37亿元及-0.39亿元。
2023年10月9日晚,*ST三盛再次公告显示:近日,公司董事长戴德斌、原董事长林荣滨涉嫌信息披露违法被中国证监会立案。












