“风云会终端零售”多次被曝涉嫌传销 运营方盛泰生物申请注销
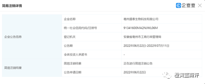
近日,本网从企查查获悉,亳州盛泰生物科技有限公司正在进行简易注销。值得注意的是,该公司是风云会终端零售以及风云会社交新零售运营方。该公司注册资本为10000万元,马国领持股100%。那么,该公司为何会主动申请注销呢?

公司申请备案注销

据悉,盛泰生物于2021年4月26日启动“风云会”平台,以“风云会”平台的产品和服务,旨在健康千万家,幸福千万家。值得注意的是,旗下有“风云宝”与“藻早廋”等系列品牌产品。该系列产品是在中医药理论的基础上,结合最新科学成果,并以严格的科学实验、标准体系为支撑研发而成的划时代的、引爆行业潮流的健康产品,相信很多的人在风云会产品中已经受益,收获健康。
值得注意的是,在不少公开媒体的宣传中不难发现,风云会的操盘手是刘长鸿,据公开信息显示,刘长鸿放弃了从事数年的事业,凭借着近十年的市场营销经验,刘长鸿的新零售事业做的风生水起……在学习能力与经营管理、营销策划上,刘长鸿都有自己独特的一套方法。他会将现代企业经营管理学体系中学到的相关知识,去结合自身企业的实际情况,建立一套独特的新型团队管理体系,并不断完善团队管理。
除此之外,在企业战略规划、经营管理实战、项目策划运作、公关活动举办、资源整合等方面,刘长鸿均有涉猎,并以“以战略思维和管控思维,开展全系统规划、全目标控制、全程序组织、全方位指挥、全功能协调、全责任承担的管理模式”为创新发展思想,每一次尝试都取得了不凡的成绩。

但也有关于刘长鸿其他的版本解释,据某自媒体报道,曾在直销行业中创造近百亿的业绩,花四年的时间云研发一款产品,集结167个团队、耗费800多万的原料在整个中国寻找方子只为研发出能真正解决大家问题的好产品。曾带领团队用浅语的名字做直销,这个项目的主体公司是安徽豪运浅语生物科技有限公司,以浅语能量水杯、浅语净水器、浅语活力酶凝胶、浅语谷道清活力酶凝胶运作市场,奖金制度分为六个层级,奖励有静态收入回本奖和动态收入量碰奖、层碰奖、管理奖、重销奖、区域服务奖、福利豪车旅游奖等。

多次变更地址以及法人
此外,据相关媒体报道,亳州盛泰公司旗下有安徽省风云会生物科技有限公司、亳州济缘生物科技有限公司、山东泽春生物科技有限公司、山东泽健药业有限公司共四家企业。从股东信息上来看,这四家公司与亳州盛泰公司并无股权联系。

涉嫌传销遭多次曝光

本网还注意到,亳州盛泰生物科技有限公司旗下的“风云会”市场运营的模式可谓是被多家媒体曝光。
据报道显示,风云会分为6个级别的代理,分别是VIP、区代、县代、市代、省代、联创,花686元购买风云会任意一套产品,就成为了VIP,成为VIP之后,拉人购买1套产品能获得100元的推荐奖,发展一个区代可以获得500元的推荐奖,复购时每套产品的价格为586元。
第二个级别是区代,晋级方式有两种,一种方式是自己花3430元一次性购买5套产品,第二种方式是自己的团队累计报单20套产品,自己直推套数不少于1套。成为区代之后每拉一个人成为VIP可以获得160元的推荐奖,每拉一个人成为区代可以获得800元的推荐奖,每拉一个人成为县代可以获得2400元的推荐奖。
第三个级别是县代,晋级的方式同样有两种,一种方式是自己一次性花10290元购买15套产品,第二种方式就是团队累计报单50套产品,自己直推套数不少于2套自己花钱报单高就只能达到县代,之后的级别就都需要团队报单累计达到相应的标准才能晋级。成为县代后,每拉一个人成为VIP可以获得220元的推荐奖,每拉一个人成为区代可以获得1100元的推荐奖,每拉一个人成为县代可以获得3300元的推荐奖。
第四个级别是市代,晋级条件是自己的团队累计报单达到180单,自己直推套数不少于3套也就是团队业绩需要达到123480元,市代每拉一个人成为VIP可以获得280元的推荐奖。每拉一个人成为区代可以获得1400元的推荐奖,每拉一个人成为县代可以获得4200元的推荐奖。
第五个级别是省代,晋级要求是团队累计报单达到600套,自己直推套数不少于4套,也就是团队业绩需要高于411600元,省代每拉一个人成为VIP可以获得340元的推荐奖,每拉一个人成为区代可以获得1700元的推荐奖,每拉一个人成为县代可以获得5100元的推荐奖。
第六个级别是联创,也是风云会级别,晋级条件要求团队累计报单达到1200套,自己直推套数不少于5,套也就是团队业绩要高于823200元。联创每拉一个人成为VIP可以获得380元的推荐奖,每拉一个人成为区代,可以获得1900元的推荐奖,每拉一个人成为县代可以获得5700元的推荐奖。
风云会还设置了平级利润,也被称为上下帮扶奖,可以拿上级和下级各15%的奖励,做到联创级别代理还有分红奖。当团队业绩在50万元以下时,联创可以拿2%的分红,业绩在51万到100万时,联创可以拿4%的分红奖,业绩在101万到200万之间时,联创可以拿6%的分红奖,业绩在201万到300万之间时,联创可以拿8%的分红奖,也记载301万到400万时,联创可以拿10%的分红奖。

除此之外还有回馈奖,联创可以拿到直推或紧缩分红奖收入的30%,比如一个联创的团队直推或紧缩分红收入是40万元,则联创可以拿12万元奖励。除了涉嫌传销之外,该平台也被不少媒体曝光产品涉嫌虚假宣传等。
安徽开展打击网络传销专项执法行动
据悉,今年4月27日至12月10日,安徽省委政法委、省市场监管局、省公安厅联合印发通知,在全省范围内开展打击传销“皖剑-2022”行动暨打击网络传销专项执法行动。

此次行动重点打击网络购物型传销、网络投资理财型传销、网络创业型传销、养老服务领域传销和线下聚集式传销。严厉打击深挖打着 “电子商务”“消费返利”等旗号,借助社交软件以人际网络营销的方式进行宣传推广的传销活动;严厉打击打着“资本运作”“股权投资”等旗号,攀附曲解金融创新战略和社会热点概念,以高额返利、创新回报为诱饵吸引群众参与的传销活动;严厉打击以“动动手指轻松赚钱”等话术吸引群众加入,从事视频点赞、视频观看、广告点击、会员卡销售的传销活动;严厉打击打着投资“养老项目”、代办“养老保险”、开展“养老帮扶”等旗号,承诺高额回报,吸引老年人参与的传销活动;严厉打击在皖残存打着“1040工程”“资本运作”“连锁销售”等旗号的聚集式传销组织和团伙,坚决捣毁传销窝点,及时教育遣返传销人员;严厉查处为传销活动提供经营场所、培训场所、仓储、人员住宿等便利条件的行为。
围绕打击、清理、巩固、宣传等重点环节,在严厉打击传销行为的同时,我省还鼓励各地创新开展“两创”工作,即开展标准化、特色化等 “无传销社区(村)”“无传销网络平台”建设试点,加强建设标准督导检查,提升建设质量和水平,进一步夯实基层传销防控基础。
随着全国各地市场监管局发布打击网络传销专项行为后,不少涉嫌网络传销的企业纷纷注销被曝光的主体公司以避免被处罚,但实际仍在暗箱操作,可谓是“百足之虫,死而不僵”。对此,本网将持续关注。












