水滴公司要赴美上市 逃不脱用爱心导流卖保险的质疑
日前,有消息称水滴公司将在未来一个季度内赴美上市,估值或达百亿美金。不过,水滴方面对此的态度却是“不予置评”。
日前,互联网保险平台——水滴公司赴美上市的消息再次传出,引发业内外广泛关注。消息称水滴公司将在未来一个季度内赴美上市,估值或达百亿美金。不过,水滴方面对此的态度却是“不予置评”。
提到水滴公司,大多数人首先想到的可能是“水滴筹”,因为经常会在朋友圈看到与之相关的大病众筹信息。事实上,水滴筹仅仅是水滴公司的其中一项业务,主要为水滴公司导流。
除此之外,水滴公司旗下还有水滴互助和水滴保险商城等业务,前者留住用户并盘活流量,后者则完成流量的转化及变现。
不过,水滴公司的这套“众筹-互助-卖保险”的闭环业务模式,也引发了不少业内外人士的质疑。

水滴公司的由来
说到水滴公司,不得不提其创始人沈鹏。沈鹏1987年出生在山东,其父亲早年便是中国人民保险公司的一名员工。
2010年,沈鹏从中央财经大学毕业后,作为第10号员工加入美团创业团队。沈鹏深得美团王兴的赏识和信任,在2011年美团成立一周年的内部会上,王兴曾以沈鹏为例,表达了自己的用人观。
在美团工作期间,沈鹏曾先后担任了多个重要岗位。2013年,沈鹏还参与创建了美团外卖,同时担任全国业务负责人。
2015年底,与大众点评合并后的美团,配送员达到十几万人,彼时沈鹏经常会遇到一些年轻同事或其家人得重病的情况。保险家庭成长起来的他,在帮同事号召筹钱的过程中,嗅出了众筹互助领域的“商机”,并再度关注到了保险。
2016年4月,沈鹏离开美团开始自己创业,于是水滴公司的运营主体北京纵情向前科技有限公司就此成立,沈鹏担任公司创始人兼CEO。

水滴公司成立后,推出的第一个业务就是水滴互助。互助的模式最早起源于美国,在互联网的时代里,网络互助模式是一种基于场景化大数据打造的互助社群。
简单来说,加入水滴互助社群后,会员如果不幸患上重大疾病或遭遇意外,可以按照“一人患病,众人均摊”的规则获得一笔医疗资金。
水滴互助上线后,发展势头非常迅猛。2016年8月,仅上线三个多月,水滴互助便迎来自己第100万位用户,成为国内首个用户数突破百万的独立互助保障平台。
看到网络互助的巨大发展空间后,水滴公司趁热打铁,上线了自己的第二个业务——“水滴爱心筹”。次年1月,“水滴爱心筹”进行品牌升级,即形成现在的“水滴筹”。自此,水滴公司的三大业务中,两个已基本成型且增长迅猛。
不过,水滴公司还有更加深远的规划。一年后,水滴公司又启动了水滴保险商城,至此公司形成走路更稳的“三条腿”模式。
彼时,水滴公司对水滴保的上线评价为“确立了健康保障领域首个成熟、场景化、生态化的商业模式,影响了整个行业的发展走向。”
用爱心导流卖保险遭质疑
对大多数从朋友圈接触到水滴的人而言,水滴公司似乎只是个公益机构,跟资本市场貌似扯不上任何关系。但事实上,水滴公司并没有人们认知中的那么“单纯”。
水滴公司在创始人沈鹏的带领下,经过五年的发展,已由水滴筹与水滴公益组成社会责任板块,由水滴保险商城与水滴互助组成了商业板块。两大板块共同搭建起了水滴公司“事前保障+事后救助”的闭环保险保障生态场景。
不过,针对此次上市传闻,外界最关心的或许是水滴公司到底靠什么赚钱?
从盈利模式来看,水滴公司目前已构建了“众筹-互助-保险”的业务闭环模式,在这一闭环模式中,定位于个人大病救助平台的水滴筹主要起到引流作用,主打网络互助的水滴互助则留住用户并盘活流量,而水滴保险商城则是整个业务模式中完成转化变现的“奶牛”。
据媒体报道,沈鹏曾在接受采访时就曾表示,希望通过互助和筹,为保险业务打下基础,因此水滴公司前两年的发展重点并不在保险业务。
去年7月,沈鹏也曾表示,水滴公司目前仍不以盈利为目的,其在指标上的优先级顺序被明确为用户规模、保费规模、盈利。
目前,从用户规模方面来看,水滴公司已通过水滴筹、水滴互助业务,积累起了一大批用户。据公开的数据显示,截至2020年6月底,水滴公司全平台(水滴筹、水滴互助、水滴保险)独立付费用户数已达3.3亿人,其中保险业务累计保障用户数超1亿,保障家庭数近6000万。
但是,水滴公司依托水滴筹等业务来聚拢大量人气,最后靠售卖保险来盈利的互联网商业模式,也引来了不少质疑。
可以看到,水滴保险商城是水滴公司最主要的收入板块。爱心捐款人士在水滴筹完成捐赠之后,会跳到保险的购买页面,因为捐款人当时看到受捐人的种种不幸,会感到“明天和意外真的不知道哪个先来”,因此为自己或家人购买保险的意愿也突然增强。
有业内人士也表示,水滴保险商城在上线前,水滴公司就已经推出了水滴互助和水滴筹,除了为商城贡献最早期的用户外,还提供了一个保险场景,把人世间的不幸都展现在了捐款用户面前,为销售保险做了铺垫。

在微博上,也有不少网友对水滴公司的上市提出质疑。不过,在种种的质疑声中,目前水滴公司似乎已经实现盈利。
据媒体报道,水滴保险商城2020年上半年每月的年化签单保费已达到10亿元左右,使得水滴公司在今年4月、5月实现了单月盈利。
资本宠儿谋上市
事实上,水滴公司上市的消息早有传闻。去年7月23日,据彭博报道,水滴公司最快在2020年年底前完成上市,估值预计为40亿至60亿美元,并正以20亿美元的估值在一级市场中融资2亿美元。
水滴公司当时回应“没有明确IPO计划,但会保持探索资本市场的可能性。”之后,水滴公司完成2.3亿美元D轮融资的消息传出。
去年10月,据IPO早知道报道,水滴公司计划2021年一季度赴美上市,募资规模在5亿美元左右。彼时水滴公司的回应也是不予置评。
实际上,作为互联网保险平台之一,水滴公司在传上市之前就已深受资本青睐。
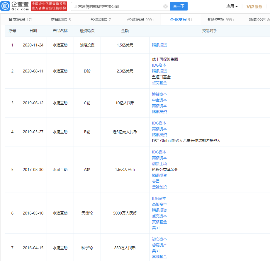
据企查查显示,水滴公司成立以来已有7轮融资历程,总额超过30亿元人民币。
2016年4月,刚成立的水滴公司便获得美团、初心资本等参与的种子轮融资,融资规模为850万元。
一个月之后,又立即得到了来自腾讯、美团点评、IDG资本、高榕资本、点亮基金、真格基金等参与的5000万元天使投资。
2017年再获1.6亿元A轮融资;2019年又先后获得约5亿元B轮融资和10亿元的C轮融资。
去年8月,水滴公司再度获得由瑞士再保险集团和腾讯联合领投,IDG资本、点亮全球基金、高榕资本等老股东跟投的2.3亿美元D轮融资。
去年11月底,水滴公司又得到腾讯投资1.5亿美元的战略投资金额。

据媒体报道,对于投资水滴公司,腾讯投资部董事总经理余海洋表示,主要是看好互联网健康险领域的市场潜力。
也就是说,抛开水滴公司旗下的水滴筹和水滴互助两大业务,最被资本看好的还是其代表互联网健康险的水滴保险业务。
不过,有分析人士表示,目前国内尚未明确网络互助平台的监管主体和监管制度,但水滴公司的业务又具有一定的金融和保险属性,如果寻求上市,海外的可能性更大。若单把保险商城业务分拆出来上市,想象空间也很有限,如果互助与众筹业务有变化,保险商城未来的获客也会受到影响。












