银城物业几日新增8起开庭公告 曾被列入经营异常名录
发布时间:2021-02-26 文章来源:犀牛财经

历来,物业服务行业都充满着很多争议,往往也是各种纠纷案件频发之地。
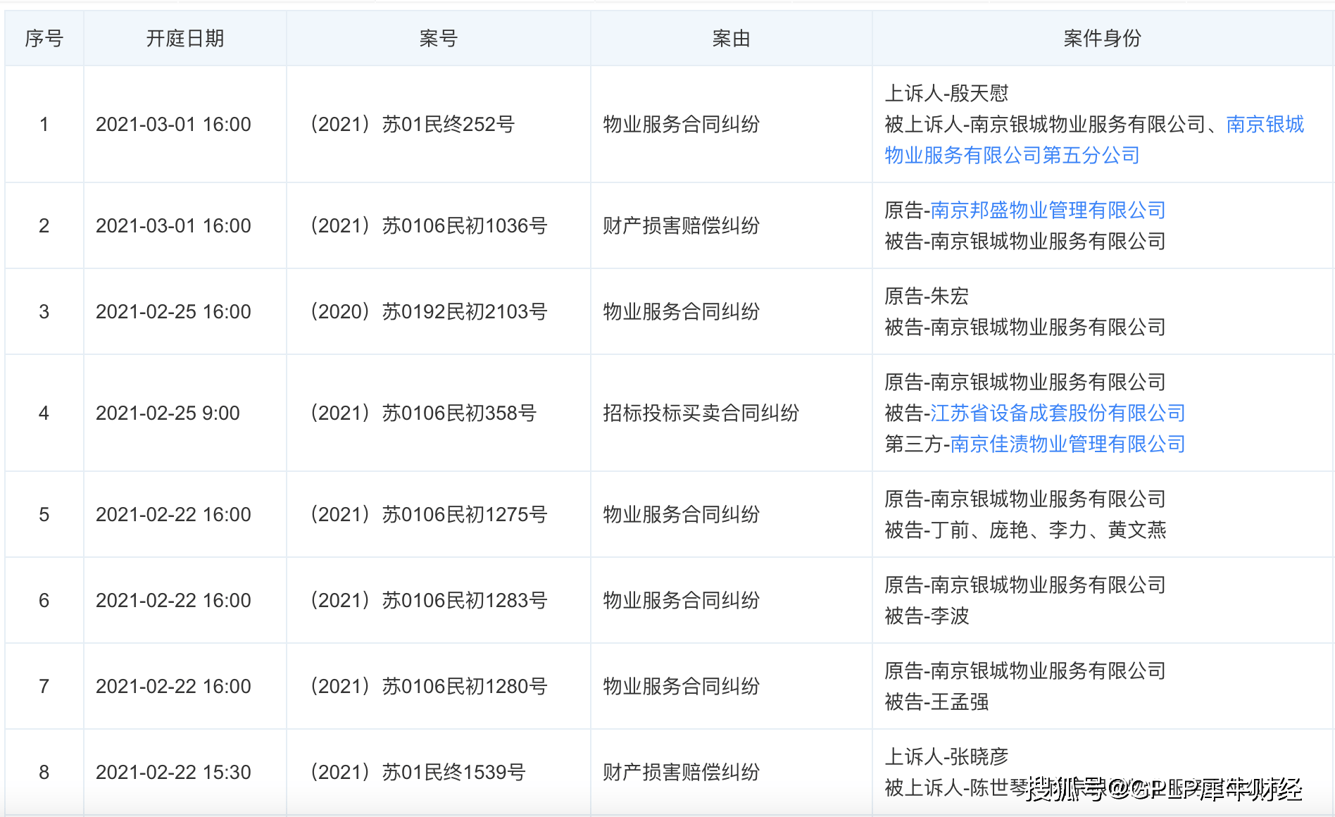
2月24日,GPLP犀牛财经了解到,南京银城物业服务有限公司(简称“银城物业”)新增多则开庭公告。2月22日到3月1日开庭的案件有8起,涉及物业服务合同纠纷、招标投标买卖合同纠纷和财产损害赔偿纠纷。

来源:天眼查APP
公开资料显示,银城物业成立于1997年,是银城地产股份有限公司投资控股的物业服务企业,经营范围包括物业管理服务、场地租赁、房地产经纪等。2018年4月24日,银城物业终止股票新三板上市申请。
据了解,银城物业曾因一则“入室抢劫案”引发极大关注。
2020年9月6日晚,位于南京栖霞区的恒基金满庭(案名“九珑天誉”)小区发生一起入室抢劫案件。 负责该小区物业服务保障的就是银城物业。受害业主表示,“入室抢劫事件”发生后,前往物业处查看监控,竟被告知小区的监控设备“全都是坏的”,以致于没能在案发后第一时间向警方提供最有用的线索。虽然,此后银城物业也进行了整改,但也陷入了舆论漩涡。
天眼查APP显示,银城物业曾涉司法案件达466起,其中物业服务合同纠纷的案件最多,高达313起,历史被执行人5次,历史被执行总金额为4.73万元。曾因未依照《企业信息公示暂行条例》第八条规定的期限公示年度报告,被列入经营异常名录。

来源:天眼查APP
【声明:登载此文出于传递更多信息之目的,文章内容仅供参考,不构成投资建议。】












