华泰汽车金融股权七折拍卖惨遭流拍 超1亿元资金未偿还

记者李娜 实习记者 罗丽云 报道
"华泰汽车金融有限公司是同类机构中唯一一家开业首年即盈利,开业两年以来连续盈利,且业务量年增长1000%的汽车金融机构。"华泰汽车金融在官网中如是介绍。
然而与开业的高光时刻形成对比的是,记者从阿里拍卖网获悉,华泰汽车金融的大股东华泰汽车集团有限公司(以下简称"华泰汽车集团")所持其33%股权司法拍卖价格较评估价打七折,却还是惨遭流拍。二拍将于12月11日开始,本次起拍价是首拍价格的八折,是评估价的五六折。另外,华泰汽车金融的股权屡遭冻结。
除了股权问题之外,华泰汽车金融债务累累。该公司同业拆借亿联银行以及三湘银行,资金总额超1亿元尚未偿还,被上述两家民营银行状告至法院。另外,自5月以来,华泰汽车金融有10条欠税公告,欠税余额达34.27万元。
经营业绩方面同样不容乐观。2019年,华泰汽车金融相关财务数据出现"大变脸"。数据显示,2019年该公司所有者权益由上一年的5.38亿元变为-1.45亿元。
记者就股权遭拍卖、超1亿元同业拆借资金未偿还等致电华泰汽车金融,多个电话均未接通,官方客服电话语音提示称,现线路全忙,建议进入微信公众号咨询业务问题,但微信客服却无人理睬。
33%股权七折拍卖惨遭流拍
华泰汽车金融的股权遭拍卖,要从其大股东华泰汽车集团的债务说起。
记者从北京市第二中级人民法院出具的执行裁定书了解到,自2019年4月18日起,华泰汽车金融的母公司华泰汽车集团未能如期偿还厦门国际银行股份有限公司北京分行债务。
而后,法院向华泰汽车集团、天津华泰汽车销售有限公司、鄂尔多斯(20.830, 1.89, 9.98%)市华泰汽车车身有限公司发出执行通知,责令被执行人接到执行通知后立即履行债务偿还的义务,但被执行人华泰汽车集团、天津华泰汽车销售有限公司、鄂尔多斯市华泰汽车车身有限公司未按执行通知履行相关义务。
因此,法院冻结、划拨被执行人天津华泰汽车销售有限公司、鄂尔多斯市华泰汽车车身有限公司出质予厦门国际银行的全部股票权利及其所产生的收益权利。厦门国际银行股份有限公司北京分行在上述范围内就贷款项下质押物及其处置价款享有优先受偿权。
于是,近日,因司法执行北京市第二中级人民法院处置华泰汽车集团有限公司持有华泰汽车金融有限公司(90%)的33%股权。中通诚(天津)房地产土地资产评估有限公司(下称"中通诚")采用市场法对前述股权进行了评估,评估价格为14301.08万元。
阿里拍卖网显示,11月16日,该笔股权拍卖起拍价为10010.756万元,相当于在评估价的基础上打了七折,保证金1000万元,加价幅度50万元。
记者了解到,此次拍卖方式为设有保留价的增价拍卖方式,保留价等于起拍价,至少一人报名且出价不低于起拍价,方可成交。结果显示,拍卖共计获得4780人次围观,13人对此设置了提醒,然而,即使起拍价已经是在评估价的基础上打了七折,最终本场拍卖还是遭流拍。

二拍将于12月11日开始,本次起拍价为8008.6048万元,是首拍价10010.756万元的八折,同时是评估价14301.08万元的五六折。

资料显示,华泰汽车金融是一家经中国银行(3.240, 0.00, 0.00%)业监督管理委员会批准专营汽车金融业务的非银行金融机构,于2015年2月13日正式对外开展业务。公司注册资本金5亿元人民币,大股东华泰汽车集团有限公司(下称"华泰集团")持股90%,另外一位股东渤海银行股份有限公司持股10%。
值得注意的是,国家企业信用信息公示系统显示,华泰汽车集团多次被列入被执行人,从而导致华泰汽车金融拥有多达27条股权冻结信息。

超1亿元同业拆借资金未偿还
除了股权遭折价拍卖却无人问津之外,华泰汽车金融同业拆借亿联银行以及三湘银行的超1亿元资金也尚未偿还。
记者从亿联银行三季报中获悉,截至今年9月末,华泰汽车金融拖欠亿联银行借款本金 6820 万元及相应利息、罚息。亿联银行于2020年8月20日在长春市中级人民法院向华泰汽车金融提起诉讼,于2020 年11月4日进行了第一次开庭审理。
亿联银行工作人员告诉记者:"与华泰汽车金融的案件为同业拆借纠纷业务,目前在诉讼状态中,要求华泰汽车金融向亿联银行履行借款偿还义务。"
另外,记者从裁判文书网案件获悉,2019年7月26日,华泰汽车金融向三湘银行同业拆借人民币4900万元。截至今年6月,三湘银行向华泰汽车金融发放贷款4900万元,但华泰汽车金融仅偿还了720万元,尚欠三湘银行借款本金4180万元及截至2020年2月5日的利息1928380元、罚息206977.50元。

法院判决结果显示,华泰汽车金融应于判决生效之日起十日内偿还原告三湘银行借款本金4180万元及截至2020年2月5日的利息1928380元、罚息206977.50元,并自2020年2月6日起,以欠款本金4180万元为基数,按照年利率8.5%的标准向三湘银行支付利息、按照年利率4.05%的标准向三湘银行支付利息逾期罚息,至本息全部清偿之日止。
记者从中国执行信息公开网上获悉,今年11月10日,华泰汽车金融因未按时履行上述三湘银行的债务偿还义务被长沙市中级人民法院强制执行,执行标的达44241834元。

值得关注的是,记者从企查查获悉,今年8月31日,广州农商行因借款合同纠纷,将华泰汽车金融以及华泰汽车集团告至法院,12月15日,该纠纷案件将开庭审查。

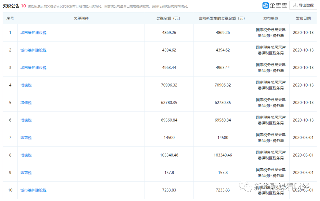
令人大跌眼镜的是,除了背负银行债务外,华泰汽车金融还欠税务部门的债。企查查显示,自5月以来,华泰汽车金融有10条欠税公告,欠税余额达34.27万元。

债务累累的同时,华泰汽车金融交出的成绩单不容乐观。资产负债情况显示,2017年-2019年,华泰汽车金融的资产总额分别为16.10亿元、23.67亿元、9.45亿元,负债总额分别为10.82亿元、18.29亿元、10.89亿元,所有者权益分别为5.28亿元、5.38亿元、-1.45亿元,不仅2019年资产负债出现缩表,所有者权益变为负值,且2018年该公司净利润仅为1037.53万元。












