东方金钰退市:300亿市值灰飞烟灭 多家A股也面临摘牌
曾经市值逼近300亿元的“翡翠第一股”,正式迎来在A股市场的最后一个交易日。
行情数据显示,退市金钰(600086.SH)在A股市场的股价定格在0.16元,市值仅剩下2.16亿元,几年时间市值累计蒸发近300亿元。
01
“翡翠第一股”谢幕:股价暴跌逾99% 市值蒸发近300亿
退市金钰这家公司在未被决定终止上市和实施退市风险警示前,有一个更为人熟知的股票简称——东方金钰。
2015年7月顶峰时,东方金钰市值一度接近300亿元,如今市值为2.16亿元,仅剩下一个零头,股价和市值下跌幅度均超过99%。从年线上看,自2016年开始,公司股价连续跌了6年,期间多个年份股价跌超50%。

东方金钰的退市也让投资者损失不小。截至去年三季度末,公司股东户数还有约5.8万户。

值得注意的是,东方金钰股票在被实施退市风险警示前为沪股通标的,曾有一些北上沪股通资金持仓。公司公告也提示,由于目前公司股票已被调出沪股通标的,沪股通投资者可以选择在退市整理期出售所持公司股票,但不可以买入。沪股通投资者如选择继续持有,后续进入股转系统后可能无法进行转让。
数据显示,沪股通持有东方金钰股票一度超过700万股,持有市值一度超过7000万元,但截至2021年3月3日,持股量已降至27股,持股市值降至4.86元。


02
成也翡翠玉石 败也翡翠玉石
资料显示,东方金钰是珠宝首饰行业上市公司,公司前身为多佳股份,于1997年上市。公司股票被A股股民称为“翡翠第一股”,公司在公开场所宣传时也常自称“中国翡翠上市公司第一家”。

图片来源:中国财经图库
东方金钰此番被强制退市是因触及面值退市标准。不过,其之所以股价会走到这个地步,还是源于公司主业凋零导致连续亏损。
资料显示,东方金钰押注翡翠玉石,最终也栽在了翡翠玉石上。
从2018年开始,东方金钰陆陆续续曝出债务到期未能清偿。
2018年7月25日,公司公告称,截至2018年7月25日,公司及子公司到期未清偿的债务共计9.16亿元。至2019年11月18日,公司到期未清偿债务合计达到58.14亿元。
与此同时,这家公司却存在巨额的玉石存货。2019年上半年末,公司存货余额高达90.27亿元,其中黄金金条及饰品存货余额较少,仅1.59亿元,珠宝玉石的存货余额则高达88.11亿元。手握巨额珠宝玉石却难以变现,还不了债,令市场震惊。
值得注意的是,东方金钰还与曾经的“股神”徐翔有一丝关联。据中国经营报曾经的报道,2015年7、8月份,徐翔在二级市场全部抛售买入的东方金钰,获利近10亿元,参与定增的账面浮盈则高达17.9多亿元。随着徐翔出事,其涉嫌操纵证券市场案牵出了东方金钰,之后该股股价一步步坠入深渊。
根据东方金钰曾经的披露的数据,公司2017年营收超过90亿元,不过此后数年急剧萎缩,净利润也急剧下滑,已陷入连续亏损。

公司此前发布的业绩预告显示,预计2020年度归属于上市公司股东净利润约为亏损19.5亿元~24.5亿元。对于2020年大幅预亏的原因,东方金钰称,是受金融去杠杆政策及其他因素叠加影响,公司融资出现困难,资金流动性紧张,到期债务无法按期偿还,导致出现严重的债务违约现象,并由此引发公司部分账户资产被查封、冻结,债权人申请诉讼或仲裁等一系列问题。经公司财务部初步统计,2020年全年计提应付债权人大额利息及罚息。此外,公司按照应收账款信用风险评估公司应收账款减值,公司部分客户因欠款时间较长预计无法收回,需要计提坏账准备。另外,预计部分翡翠产品存在减值迹象,需要计提存货跌价准备。
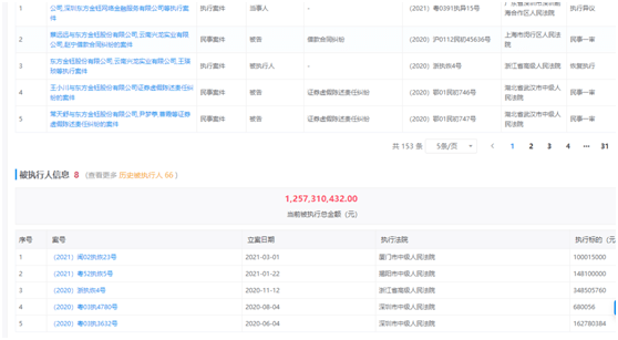
企查查数据显示,东方金钰已被多家法院列为被执行人,当前被执行总金额超过12亿元。

03
多家A股公司也将面临摘牌命运
除了东方金钰外,还有多家A股公司面临股票被摘牌的命运。
*ST 天夏(000662.SZ)因连续20个交易日的股票收盘价均低于1元,触及面值退市规定,2021 年 2 月 18 日,深交所决定公司股票终止上市,证券简称变为天夏退。
2021年2月26日,天夏退进入退市整理期,预计最后交易日期为2021年4月9日(最后交易日期为预计时间,公司后续将根据国家法定节假日安排另行通知)。
行情数据显示,进入退市整理期后,天夏退股价连续8个交易日跌停,今天股价打开跌停,收盘下跌4.17%,成交量激增。

*ST工新(600701.SH)在暂停上市后,因2020年度归属于上市公司股东的净利润为-20.24亿元,2020年末归属于上市公司股东的净资产为-59.77亿元,均为负值,触及强制终止上市规定,2021年3月5日,公司收到上交所《关于哈尔滨工大高新技术产业开发股份有限公司股票终止上市的决定》,公司股票计划将于2021年3月15日进入退市整理期交易。
同上面部分退市股相似,之前一段时间,一些低价股也跌到1元以下,陷入面值退市危机。
不过,由于近期A股市场风格有所切换,低于1元面值的公司数量大幅减少,部分前期股价低于1元的公司股票,如*ST宏图、ST东网、ST德豪、ST瑞德、ST庞大、*ST中天等,股价重新回到1元以上,暂时解除面值退市危机。












