皓元医药核心竞争力堪忧 第一大供应商曾为失信被执行人

过去的一年,IPO可谓业绩惊人,2020年上市新股IPO募资总额达4700亿元,创下10年新高,较2019年增长超过85.56%。从募资去向来看, 2020年半导体、计算机和医药生物等新兴产业成募资"热点"。
位于长三角经济中心的上海皓元医药股份有限公司(简称:皓元医药)于1月8日申报,拟上交所冲科上市,保荐机构为民生证券。本次计划发行不超过1,860 万股股票,占比25%;拟使用募资金6.5亿元用于安徽皓元药业有限公司年产121.095吨医药原料药及中间体建设项目(一期)、补充流动资金、上海皓元医药股份有限公司上海研发中心升级建设项目、安徽皓元药业有限公司生物医药研发中心建设项目。
皓元医药此次IPO或仍面临不少问题,股东新余诚众棠持有的股份冻结;核心产品平均7成来自外购成品再开发;产品涉及第三方专利风险;境外收入占比6成左右,销售费用率高于同行平均值约2-4倍;存货周转率低于同行,计提比例高于同行;供应商或空壳,第一大供应商曾成为历史失信被执行人;竞争激烈,市场份额仅0.06%。
股东新余诚众棠持有的股份冻结
截至招股说明书签署日,安戌信息持有皓元医药43.92%股份,为公司控股股东。协荣国际持有安戌信息80%的股权,郑保富、高强分别持有协荣国际50%的股权。郑保富、高强通过协荣国际控制安戌信息,并通过安戌信息支配皓元医药43.92%的表决权。2015年9月22日,郑保富、高强签署《一致行动协议书》,两人在重大决策上保持一致行动。报告期内,郑保富一直担任公司董事长、总经理,高强一直担任公司董事、副总经理职务,同时权衡财经iqhcj注意到郑保富和高强均持有香港特别行政区永久性居民身份证。
此外值得注意的是皓元医药存在一位股东所持有的股权全部被冻结的情况,而被冻结的原因是因为涉嫌集资诈骗。新余诚众棠持有发行人148.1490万股股份、虎跃永沃持有发行人148.1490万股股份,持股比例分别为2.6578%。新余诚众棠的执行事务合伙人暨基金管理人东方汇富同时持有虎跃永沃原基金管理人杭州虎跃投资管理有限公司50.20%的股权。
由于新余诚众棠有限合伙人宁波梅山保税港区金轩江投资管理合伙企业(有限合伙)、宁波梅山保税港区诚本泓投资管理合伙企业(有限合伙)、宁波梅山保税港区诚莱利投资管理合伙企业(有限合伙)、宁波梅山保税港区诚意泓投资管理合伙企业(有限合伙)实际控制人韦杰控制的金诚财富集团有限公司涉嫌集资诈骗、非法吸收公众存款被立案调查,新余诚众棠持有的发行人148.149万股股份(占股份总数的 2.66%)被冻结,冻结时间自 2019年8月21日起至2021年8月20日。
核心产品平均7成来自外购成品再开发
皓元医药是一家专注于小分子药物研发服务与产业化应用的平台型企业,具体产品包括应用于药物开发前端的分子砌块和工具化合物以及药物开发后端的原料药和中间体两大类。2017年-2020年1-6月皓元医药的营业收入分别为1.74亿元、3亿元、4.09亿元和2.49亿元;净利润分别为0.15亿元、0.18亿元、0.73亿元和0.45亿元,营业收入与净利润增长迅速。

权衡财经iqhcj注意到2017-2020年1-6月,公司的分子砌块和工具化合物业务营业收入分别为0.81亿元、1.51亿元、2.36亿元和1.39亿元,营收占比分别为46.71%、50.41%、58.49%和56.23%;原料药和中间体业务分别实现营业收入0.93亿元、1.48亿元、1.67亿元和1.08亿元,营收占比分别为53.29%、49.59%和41.51%。分子砌块和工具化合物贡献了接近六成收入,且所占比重近三年逐年递增;而原料药和中间体收入占比近三年逐年递减。
从毛利率上看,2017年-2020年1-6月年分子砌块和工具化合物的毛利率分别为67.71%、68.29%、70.70%和68.17%;原料药和中间体毛利率分别为38.44%、34.78%、38.83%和40.85%。

遗憾的是,皓元医药对外销售的分子砌块和工具化合物产品中较高比例来自于外购成品再开发。公司对外销售的分子砌块中,外购产品种类占比分别为71.78%、83.55%、85.65%和86.53%,逐年增加;公司对外销售的工具化合物中,外购产品种类占比分别为66.69%、70.18%、73.35%和73.69%。如果未来皓元医药的实验室合成产能长期低于分子砌块和工具化合物业务的增长需求,而外购分子砌块和工具化合物产品的供应稳定性、质量和及时性等方面出现不利变化,将影响发行人分子砌块和工具化合物业务的市场竞争能力。同时皓元医药也称具备产业化潜力的主要为皓元医药自主合成的品种,但是目前,皓元医药在售的工具化合物种类约为10000种,其中自主合成的工具化合物种类约为2600种。经评估申请并取得授权的发明专利29项,其中工具化合物合成方法专利为9项,占公司工具化合物产品种类比仅为0.09%。
产品涉及第三方专利风险
外购比例如此之高,一旦涉及到专利授权之类问题,则对其业绩构成必然影响显著。皓元医药的分子砌块和工具化合物业务存在销售部分第三方专利期内产品的情形,截至2020年6月末,发行人在售的工具化合物产品中涉及第三方专利期内产品数量为3,230 个,占发行人在售的工具化合物产品数量的比例为26.84%。

皓元医药第三方专利期内的分子砌块和工具化合物产品销售,在美国和中国的销售金额较大。注意的是,知识产权和药物研发均为具有高度专业性的领域,各个国家专利保护例外的法律规定或相关判例在内涵和外延的界定上存在一定的差异。专利法规发生变动,可能会对相关业务的收入及毛利贡献产生较大影响。
境外收入占比6成左右,销售费用率高于同行平均值约2-4倍
分子砌块和工具化合物所服务的终端客户涵盖全球大部分生物医学研究机构及医药公司,包括:辉瑞(Pfizer)、礼来(Lilly)、默沙东(MSD)、艾伯维(Abbvie)、吉利德(Gilead)等跨国医药巨头;美国国立卫生研究院(NIH)、哈佛大学、上海药物所、上海有机所、北京大学、清华大学等科研院所及高等院校;以及药明康德、康龙化成、睿智化学等知名 CRO 公司。皓元医药称由于客户相对分散和海外客户采购习惯等,公司也与 Thermo Fisher、Sigma-Aldrich、eMolecules、Namiki 等海外知名药物研发试剂专业经销商建立了稳定的合作关系。
皓元医药在美国和香港地区拥有子公司,主要负责分子砌块和工具化合物产品的境外推广和销售,报告期内境外子公司收入规模不断扩大,同时,公司的出口收入金额较大,报告期内公司境外销售金额占比分别为38.23%、41.40%、41.46%和41.69%,如果将公司通过境内经销商销往境外终端客户的收入穿透计算,则公司境外收入占比将提升至60%左右。
权衡财经iqhcj注意到2017年-2020年1-6月皓元医药销售费用分别为1856.44万元、3225.02万元、4714.24万元和2473.64万元,销售费用率分别为10.67%、10.74%、11.53%和9.94%,远高于同行业可比上市公司平均销售费用率4.05%、3.32%、3.10%和2.69%,在可比上市公司中最高。对此皓元医药称,公司的销售费用率高于同行业平均水平,主要原因一方面是公司分子砌块和工具化合物业务面向客户群体众多,订单处理量大,需要较多的销售人员,职工薪酬金额和占比较大;另一方面,公司在Google、Baidu等知名互联网平台进行分子砌块和工具化合物产品的线上推广,线上推广的模式也导致销售费用率高于同行业平均水平。

公司分子砌块和工具化合物的主要境外市场包括美国、欧盟、日韩等,上述国家和地区生物医药产业发展较为领先,对公司分子砌块和工具化合物产品的新颖性和技术支持能力要求较高;公司原料药和中间体的主要境外市场包括日韩、欧盟、印度等,公司原料药和中间体产品在境外市场的销售情况取决于公司或合作方药品注册申请进度、产品质量标准及成本等因素。同时,公司境外收入可能受到贸易政策变化等因素的影响。如果未来境外子公司所在国家或地区或出口国的政治经济形势、经营环境产业政策、法律政策等发生不利变化,或者发行人的产品和技术不能有效维持在境外市场的竞争地位,或者因为发行人国际化管理能力不足导致在正常经营过程中出现违约、侵权等情况引发诉讼或索赔,将会对发行人的经营产生不利影响。
存货周转率低于同行,计提比例高于同行
2017年至2020年6月30日,皓元医药存货金额分别为0.93亿元、1.19亿元、1.50亿元和1.73亿元,占公司资产总额的比例分别为48.32%、39.13%、27.65%和27.64%,占公司流动资产的比例分别为53.55%、46.99%和35.29%和36.20%,金额较大,增长速度较快。对此皓元医药称由于公司业务处于快速发展阶段,且公司的分子砌块和工具化合物业务的开展亦需要大量开发和储备品种众多的产品,存在存货不能及时变现的风险。
权衡财经iqhcj注意到,报告期各期末,库存商品金额分别为5036.29万元、6615.73万元、7825.64万元和9141.54万元,占存货的比例分别为54.37%、55.53%、52.17%和52.70%,主要为可直接对外出售的分子砌块和工具化合物、中间体和原料药产品,库存商品占存货账面价值的比例保持在50%以上,是存货的主要组成部分。2017年至2019年,库存商品账面价值的复合增长率为24.05%,报告期内,可比上市公司存货周转率均值分别为2.01、2.13、2.08和0.93,皓元医药同期存货周转率分别为1.26、1.37、1.30和0.68,公司存货周转率低于同行业可比上市公司。
报告期各期末,公司存货跌价准备的金额分别为1,601.98 万元、2,597.43 万元和 3,556.04 万元,存货跌价准备占存货余额的比例分别为 14.75%、17.90%和 19.16%,计提比例在同行业上市公司中处在较高的水平。
供应商或空壳,第一大供应商曾成为历史失信被执行人
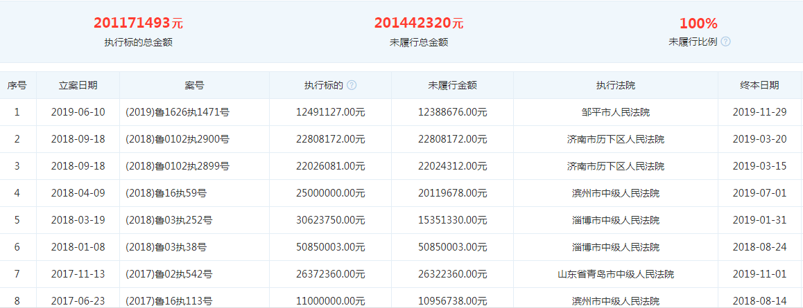
2017年-2020年1-6月皓元医药向第一大供应商山东邹平大展新材料有限公司采购金额合计0.97亿元。查天眼查显示,此供应商12次成为历史执行人,1次成为历史失信被执行人,4次被限制消费。涉及众多金融借款合同纠纷。还曾遭到2次环保处罚。

2017年为皓元医药前五大供应商之一杭州欧内医药科技有限公司成立于2015年7月,2017年皓元医药向其采购金额为394.91万元。查其2017年年报显示社保缴纳人数为3人,查企信网,杭州欧内已经处于注销状态。

权衡财经iqhcj注意到还有两家公司成立不久就成了皓元医药大供应商。2018年皓元医药向其第二大供应商杭州灵运医药科技有限公司采购交易金额为1114.46万元,查公开资料杭州灵运医药科技有限公司成立于2018年1月,也就是成立当年就贡献了千万的采购金额,不得不让人质疑。查其年报显示2018年社保缴纳人数为8人,2019年为3人,2019年已不在皓元医药前五大供应商之列。
皓元医药与安徽实特医药科技有限公司于2019年11月11日签订675万元医药中间体的采购合同,根据公开资料显示,安徽实特医药科技有限公司成立于2019年9月2日,社保缴纳人数为0人,仅仅成立2个月或不具备生产能力,但此合同却显示已经履行完毕。

更有意思的是,权衡财经iqhcj注意到安徽实特医药科技有限公司与皓元医药子公司注册地址重合。安徽实特医药科技有限公司注册地址为"安徽省马鞍山市慈湖高新区霍里山大道北段1669号3栋",而皓元医药全资孙公司安徽乐研生物医药科技有限公司注册地址也在"安徽省马鞍山市慈湖高新区霍里山大道北段1669号3栋"。
综上所述,皓元医药的供应商确实不让人省心,皓元医药目前尚未完成自有的规模化生产工厂的建设,部分产品的规模化生产主要通过委外生产的方式完成,如果未来生产经营过程中委外生产的产品在质量、价格、供货及时性以及外协供应商本身的经营稳定性等方面发生较大变化,而公司在短期内又无法寻找到合适的替代供应商或通过自身投入亦不能按期达成相应生产能力,则将对公司生产经营造成一定影响。
此外,皓元医药本身也曾受到行政处罚,2017年10月30日,皓元生物收到上海市公安局浦东分局出具的《行政处罚决定书》(沪公(浦)行罚决字〔2017〕2001723518 号),因民警在企业检查中发现皓元生物未将"三正丁胺"剧毒化学品存放在按照国家有关规定设置相应的技术防范设施的剧毒化学品专用仓库内,罚款2,000元。
值得注意的是皓元医药募集资金投资项目之一为安徽皓元年产121.095 吨医药原料药及中间体建设项目(一期),拟投入募集资金5亿元,皓元医药称募集资金投资项目建成后将形成自有的规模化产能。权衡财经注意到安徽皓元2019年末和2020年1-6月均处于亏损状态,净利润分别为-289.53万元和-232.72万元。
皓元医药的国外竞争对手既有 Sigma-Aldrich,美国 Tocris Bioscience 这样的集团已上市的公司,也有 Cayman Chemical、Santa Cruz Biotechnology 这类进入市场三、四十年的老牌企业,这些跨国龙头企业面向全球布局,产品线几乎覆盖了基础研究、医疗诊断和生物制药生产链的各个环节,公司与国外国际巨头相比营业收入规模较小,产品种类和市场份额都差距较大,招股书资料显示,皓元医药市场份额仅为0.06%。
2020年11月9日皓元医药科创板IPO遭暂缓审议,此次能否顺利,皓元医药如何在激烈的竞争中求得自身的不断发展,权衡财经iqhcj和大家共同关注。












