龙迅半导体闯关失利:压着最低线申报 核心研发人员仅3名

对于绝大多数未上市公司来说,IPO是梦想,但随着资本市场的改革不断推进,近期IPO申报企业主动撤回的现象似乎愈演愈烈。
“撤回潮”中,不乏半导体企业的身影。《华夏时报》记者注意到,半导体企业龙迅半导体(合肥)股份有限公司(以下简称“龙迅半导体”)就在这场撤回潮中。
上交所受理龙迅半导体科创板IPO申请三个月后,该公司主动撤回。离实现梦想一步之遥却打“退堂鼓”,引人深思。对于“撤退”原因,本报记者3月22日给龙迅半导体发去采访函,截至发稿时,并未得到回应。
有半导体投资人士表示,虽然国内资本市场推行注册制加速了半导体企业登陆资本市场融资,但并不意味着监管放松了审核。
压着最低门槛申报IPO
天眼查APP显示,龙迅半导体成立于2006年,是一家注册于中国合肥经济技术开发区的从事集成电路设计、研发和销售的国家级高新技术企业。公司主营业务为高清视频信号处理和高速信号传输芯片及相关IP的研发、设计和销售。
该公司《首次公开发行股票并在科创板上市招股说明书(申报稿)》(下文简称“招股书”)显示,报告期内,公司营业收入均来自于主营业务,公司产品已进入海康威视、大华股份、立讯精密等境内外知名客户的供应链体系。
目前,龙迅半导体已获得境外专利27项(其中发明专利27项),境内专利57项(其中发明专利44项),集成电路布图设计专有权85项,软件著作权55项。
尽管龙迅半导体称自己成立十多年开发了一系列具有自主知识产权的核心技术和芯片产品,但从业绩上看,龙迅半导体盈利能力一般,造血能力相对羸弱。2017年至2020年上半年,该公司实现的营业收入分别为7,711.36万元、8,070.67万元、1.05亿元、4,775.80万元,实现归母净利润分别为1,047.29万元、2,521.90万元、3,377.87万元、779.48万元。
根据《华夏时报》记者了解,龙迅半导体所在的行业领域竞争激烈,公司业务相对单一的龙迅半导体核心业务优势并不明显。
按照上交所规定,龙迅半导体上市选择的标准为“预计市值不低于人民币10亿元,最近一年净利润为正且营业收入不低于人民币1亿元”,可见,龙迅半导体是压着最低线进行的申报。
龙迅半导体存在前五名供应商采购过度集中现象。该公司招股书显示,龙迅半导体向前五名供应商采购金额合计为4,274.55万元、3,965.41万元、3,796.58万元和2,979.00万元,占同期采购总额的98.49%、95.19%、95.32%和93.97%,占比较高。客户方面,龙迅半导体向前五名客户的合计销售金额分别为4,746.53万元、4,564.46万元、5,675.46万元和2,352.01万元,分别占当期营业收入比例为61.55%、56.56%、54.29%和49.25%。
报告期各期末,龙迅半导体存货账面价值分别为2,308.34万元、3,304.97万元、3,094.36万元和4,099.61万元,存货规模较大,占总资产的比重分别为27.35%、30.90%、15.96%和20.22%;同期存货周转率分别为1.62次/年、0.98次/年、1.12次/年和0.50次/年,低于同行业可比上市公司。
从招股书中可以看到,龙迅半导体的晶圆制造及封装测试均自境外采购。而据本报记者了解,目前全球产能异常紧缺,在国际贸易摩擦不确定性尚未消除的环境下,公司出货率及毛利率存在可能无法得到有效保障的风险。
关于未来的发展战略,龙迅半导体表示,公司将以增长型战略为主基调,更加深入的加强与国际著名客户以及重要SoC芯片公司的合作,掌握前瞻性的技术方向和客户需求,在实施募投项目的同时,开发符合市场需求、更高规格的升级产品。
龙迅半导体未回复有关为何撤回的采访函。
北京半导体投资人士向《华夏时报》记者介绍,主动撤回和被动撤回是不一样的,如果是审核不通过再撤回,其中暴露出的问题可能会被视作IPO违规,会被纳入诚信清单,而主动撤回则不会留下案底。因此权衡利弊得失,企业主动撤回也可以说是一种更明智的选择。而企业撤单的主要原因多为现场督导发现问题、财报数据打架等。
核心研发人员仅3人
注册制下,监管机构对IPO企业的审核并未放松。
去年10月,证监会发布的《首发企业现场检查规定(征求意见稿)》,将本就存在的IPO现场检查落实到纸面上。意见稿对检查方式、检查手段及各方责任等做出了明确规定。如果现场检查发现企业信息披露和中介机构执业存在违法违规行为,将被依法依规采取自律监管措施、采取行政监管措施、给予行政处罚,或移送有关部门。
当下,二级市场的半导体底色持续在加深,尤其是科创板。2019年来,许多半导体企业启动上市日程。据本报记者观察,半导体企业备受市场追捧的原因是其“故事性”,尤其是芯片设计企业。在当下上市公司中,芯片设计企业较多。
接受《华夏时报》记者采访的投行人士表示,由于科创板属性没有量化标准,加上IPO申报材料的真实性、充分性也无法量化,这种模糊可能导致一些企业存在侥幸心理。
此次龙迅半导体冲击科创板,拟募集资金3.15亿元,用于建设投资高清视频信号处理与控制芯片开发和产业化项目、高速信号传输芯片开发和产业化项目、研发中心升级项目。
龙迅半导体表示,募集资金扣除发行费用后,将全部用于与公司主营业务相关的投资项目。但具体评价这些项目的价值能否有3.15亿元,业界人士告诉记者,这些项目很难被量化。
集成电路设计行业属于技术密集型行业,对高素质研发人员依赖程度较高,优秀的研发人员需要较长时间的技术积淀和经验积累才能参与或主导集成电路产品研发与设计。《华夏时报》记者发现,截至2020年6月30日,该公司研发员工94人,占员工总人数的 68.12%,核心技术人员3人,占员工总人数的2.17%。公司研发人员中,本科学历以上82 人,占研发员工总人数的87.23%。研发人员中研究生学历人数并不明确。

图为龙迅半导体3名核心技术人员

图为公司研发人员说明
此外,在招股书中,龙迅半导体表示了对人才流失的恐惧,记者在其招股书期权一览中发现,该公司员工流动性大,离职人员较多。

图为招股书期权一览的内容
企业发展与公司掌舵人密不可分。按照最初计划,本次发行完成后,该公司实际控制人、董事长、总经理陈峰持股54.55%。
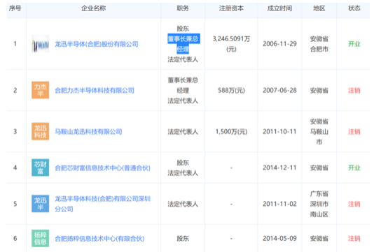
天眼查资料显示,陈峰旗下6公司中有4家处于注销状态。

图为陈峰旗下的公司












