包头农商行连续四年业绩“过山车” 2020年净利润为“0”

《中国科技投资》杨永洁
2020年净利润断崖式下跌至“0”,包头农商行去路何解?
近日,北京银信长远科技股份有限公司(以下简称“银信科技”)发布2020年年报,年报中同时公布了参股公司包头农村商业银行股份有限公司(以下简称“包头农商行”)的相关数据。该公司年报中显示,包头农商行在2020年净利润为“0”元。在此之前,该行净利润曾经历“大起大落”。针对该行净利润剧烈波动的情况,业内人士分析称,银行加大不良资产处置、拨备计提等均会对利润带来影响,包头农商行经营水平有待提高。
除此之外,包括包头农商行第一大股东之一的东旭科技发展有限公司(以下简称“东旭科技”)等四名股东的股权被冻结。相关人士认为,银行股东股权频频被冻结,与其盈利能力下降存在直接关联,变动和不稳定的股权或对银行稳健经营产生不利影响。
暴涨暴跌的净利润
近日,包头农商行第一大股东之一的银信科技发布了2020年年报,年报显示2020年包头农商行营业收入为10.29亿元,营业利润为65.88万元,而该行2020年全年净利润为“0”元。

*包头农商行利润情况,截图自银信科技2020年年报
对于商业银行来说,净利润为“0”实属罕见。值得注意的是,近四年来包头农商行营业利润及净利润几度“暴涨暴跌”。包头农商行官网仅公布2018年及2019年年报,数据显示,2018年,该行营业利润为266.06万元,净利润为70.86万元,较2017年分别同比下跌98.81%、99.63%。彼时,包头农商行在其年报中解释原因为计提拨备及金融机构往来业务减少所致。

*包头农商行近四年利润情况,根据银行历年年报制图
而包头农商行2019年年报显示,截至2019年底,该行全年的营业利润为8955.23万元,净利润为7456.7万元,较2018年年底同比暴涨3265.87%、10423.13%。彼时年报称主要原因为“计提拨备较上年减少导致留存利润增加”。据最新数据显示,包头农商行在2020年全年营业利润仅为65.88万元,净利润降为0元,同比降幅100%。
为何包头农商行利润波动如此剧烈?光大银行市场部分析师周茂华向记者分析道,主要受三方面因素影响:一是近年该行加大不良资产处置;二是拨备计提;三是成本收入比超过六成以及不良贷款持续上升等,“这反映出该行经营水平有待提升”,周茂华说。
针对包头农商行2020年净利润为“0”,周茂华表示,主要为突发疫情冲击导致当地经济下滑,导致该行营收下滑、不良贷款上升,该行不良计提和加大不良贷款处置导致利润被侵蚀。
拨备大幅增加,最主要原因是不良资产的增加。年报数据显示,2018年包头农商行不良贷款余额为5.87亿元,不良贷款率高达4.92%;2019年该行不良贷款余额升至6.07亿元,不良贷款率为4.79%,较2018年微降0.13个百分点。
在拨备覆盖率方面,年报数据显示,2018年和2019年包头农商行拨备覆盖率分别为101.73%、120.89%,在监管指标处徘徊。不过,2020年5月,银保监会印发《关于阶段性调整中小商业银行贷款损失准备监管要求的通知》,对中小商业银行贷款损失准备监管要求进行阶段性调整。相关机构拨备覆盖率监管要求由120%~150%调整为100%~130%,这给部分银行留出了不少空间。
周茂华分析道,中小银行存在一些共性问题,比如内部治理不够完善、经营水平整体不高、竞争力不强、负债来源较弱等。“中小银行未来发展方向是明确的,就是要凭借区位优势,主责主业,深耕区域市场,服务区域实体经济发展。”周茂华补充,中小银行需加快健全内部管理制度、完善治理结构、建立科学合理考核机制,加大不良处置,提升风控和经营能力;银行本质是服务行业,应为当地客户提供有多元、个性化、高质量的服务产品,增强客户粘性,同时拓宽融资渠道。
股东股权频频遭冻结
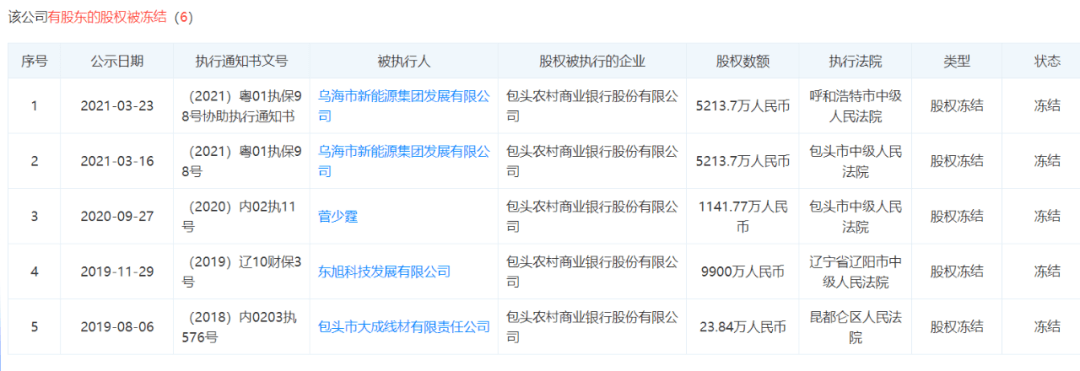
除净利润下跌外,包头农商行存在部分股东股权被冻结的情况。天眼查官网信息显示,包头农商行目前有四名股东股权被冻结,其中东旭科技为该行第一大股东之一,持股占比9.88%,截止目前,该股东持有的包头农商行9900万元股权被冻结。另外,包头农商行第九大股东乌海市新能源集团发展有限公司有超1亿元股权被冻结。

*图片来源:包头农商银行2019年年报

*包头农商行股东股权冻结情况,截图自天眼查官网
除此之外,菅少霆及包头市大成线材有限责任公司两名股东持有的包头农商行的股权亦遭冻结,股权数额分别为1141.77万元、23.84万元。
在中央财经大学金融教授杨长汉看来,银行股权被冻结,很多时候与银行盈利能力下降、资产质量劣变直接关联。对于优质股权,股东一般会“惜售”。
北京语言大学经济研究院研究员麒鉴向记者表示,银行频现股东股权被冻结的情况,主要还是股东的质量原因,银行应在对股东进行选择时,提高对银行股东的甄别能力,“股权被冻结,可能会出现异常变动和不稳定,从而对银行的稳健经营产生不利的影响。”
麒鉴补充,虽然农村商业银行的发展快,但农村商业银行的差异性非常巨大,投资价值的差异性也比较大。数量众多、发展快速、类型较多、参差不齐,是导致农村商业银行资本金遭减持的重要原因。
值得注意的是,包头农商行在其2019年年报中披露关联交易和重大关联交易情况,在关联法人发生、交易余额占银行资产0.5%以上的关联交易中,东旭集团有限公司贷款余额为1.85亿元。天眼查股权穿透图显示,东旭集团有限公司为东旭科技第一大股东,持股80%。
2018年3月25日,央行行长易纲在中国发展高层论坛2018年会上指出,“少数野蛮生长的金融控股集团存在着风险,抽逃资本、循环注资、虚假注资,以及通过不正当的关联交易进行利益输送等问题比较突出,带来跨机构、跨市场、跨业态的传染风险。”
中央财经大学教授李国平向记者表示,关联交易应注意三方面:一是信息披露是否充分;二是关联交易是否公允,例如质押率是否公允;三是尽职调查是否充分。李国平补充道,关联交易主要是交易条件可能不公允,存在利益输送的可能,导致银行遭受损失,“例如,贷款利率显著低于市场利率;或者,关联公司已无偿债能力,便会导致呆账。”
针对相关问题,记者致函包头农商行,截至发稿,未获回复。












