2018年以来,城投平台的非标风险大规模暴露,其中贵州省的风险城投和非标产品数量最多,而遵义成了非标风险“第一重灾区”。012.55亿非标违...
2021年,可能有更多房企爆雷。01业绩腰斩近日,中国金茂 (HK:00817)公告称,因受房地产市场调控等因素影响,部分联营及合营企业项目...
今天我们来聊聊这两天地产圈的大瓜:浓眉大眼的中国金茂发公告自行"暴雷",预计2020年净利润同比下滑40%-50%!01...
近日,中国金茂控股集团有限公司(00817.HK,以下简称“中国金茂”)突发业绩预警,预计2020年全年盈利下降约40%-50%,该消息导致...
继2019年被曝强制全员卖房后,近日时代中国再因大幅裁员被推上风口浪尖。2021年房企将面临来自经营、负债以及再融资等方面更大的压力。01裁...
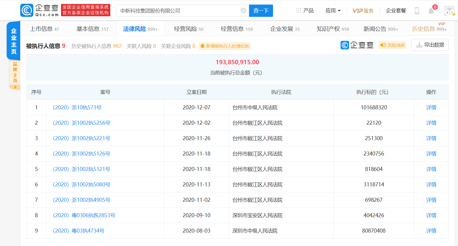
企查查APP显示,12月7日,*ST中新(603996)新增一项被执行人信息,执行法院为台州市中级人民法院,案号为(2020)浙10执573...
上证报中国证券网讯(记者 孔子元)*ST中新公告,公司实控人江珍慧女士于2020年12月24日被台州海关缉私分局采取刑事拘留强制措施,202...
最袖珍IPO,被证监会否决了。1个客户、29名员工、补贴占营收最高90%,2月25日晚,证监会官网公布了该消息。去年10月25日,中国证监会...
近日,中淳高科拟主板IPO,募集13亿元用于多个项目的扩建及技改,但《经理人》梳理其招股书发现,其存在着不少“瑕疵”。2月9日,宁波中淳高科...
每经AI快讯 亚太药业(SZ 002370,收盘价:3.59元)2月28日晚间发布公告称,2021年2月26日,公司收到中国证券监督管理委员...
深圳千福之家涉嫌非法集资:采取会员制模式
当代系旗下睿通致和兑付风险调查:投资千万
水滴招股书曝风险:创始人被追讨10亿 保
友信金服旗下好分期违规套路贷 资金端人人
百融云创旗下榕树贷涉高利贷 蓝海银行借其
金辉控股降负债秘密:非控股权益暴增2.2
“假保单案”牵出人保寿险年金险悬疑 营销
武汉睿通致和私募产品未兑付背后:“当代系
惠州“CP长者屋”爆雷涉嫌违法 碧桂园或
水滴赴美IPO:9成营收来自保险佣金 公
杭州米友圈科技涉嫌传销 山东淄博法院冻结
惠州养老机构“长者屋”爆雷:千名老人亿元