中国经济网北京2月25日讯(记者 张海蛟) 近日,重庆市渝北区住房和城乡建设委员会公示行政处罚决定书显示,对重庆融筑房地产开发有限公司(以下...
中国经济网北京2月25日讯木林森(002745.SZ)昨日晚间发布公告显示,2021年2月24日,股东义乌和谐明芯股权投资合伙企业(有限合伙...
中国经济网北京2月25日讯西部超导(688122.SH)昨日晚间披露的公告显示,中信金属股份有限公司(以下简称“中信金属”)拟减持西部超导不...
中国经济网北京2月25日讯 据上海证券交易所官网昨日消息,上海证券交易所决定终止江苏国光信息产业股份有限公司(简称"国光信息&qu...
中国经济网北京2月25日讯 据深交所创业板官网近日消息,深交所决定终止对恒伦医疗科技股份有限公司(以下简称“恒伦医疗”)首次公开发行股票并在...
中国经济网北京2月25日讯 据深交所创业板官网昨日消息,深交所决定终止对江苏华鹏智能仪表科技股份有限公司(以下简称“华鹏仪表”)首次公开发行...
中国经济网北京2月25日讯 据深圳证券交易所官网昨日消息,深圳证券交易所决定终止浙江德宝通讯科技股份有限公司(简称"德宝股份&qu...
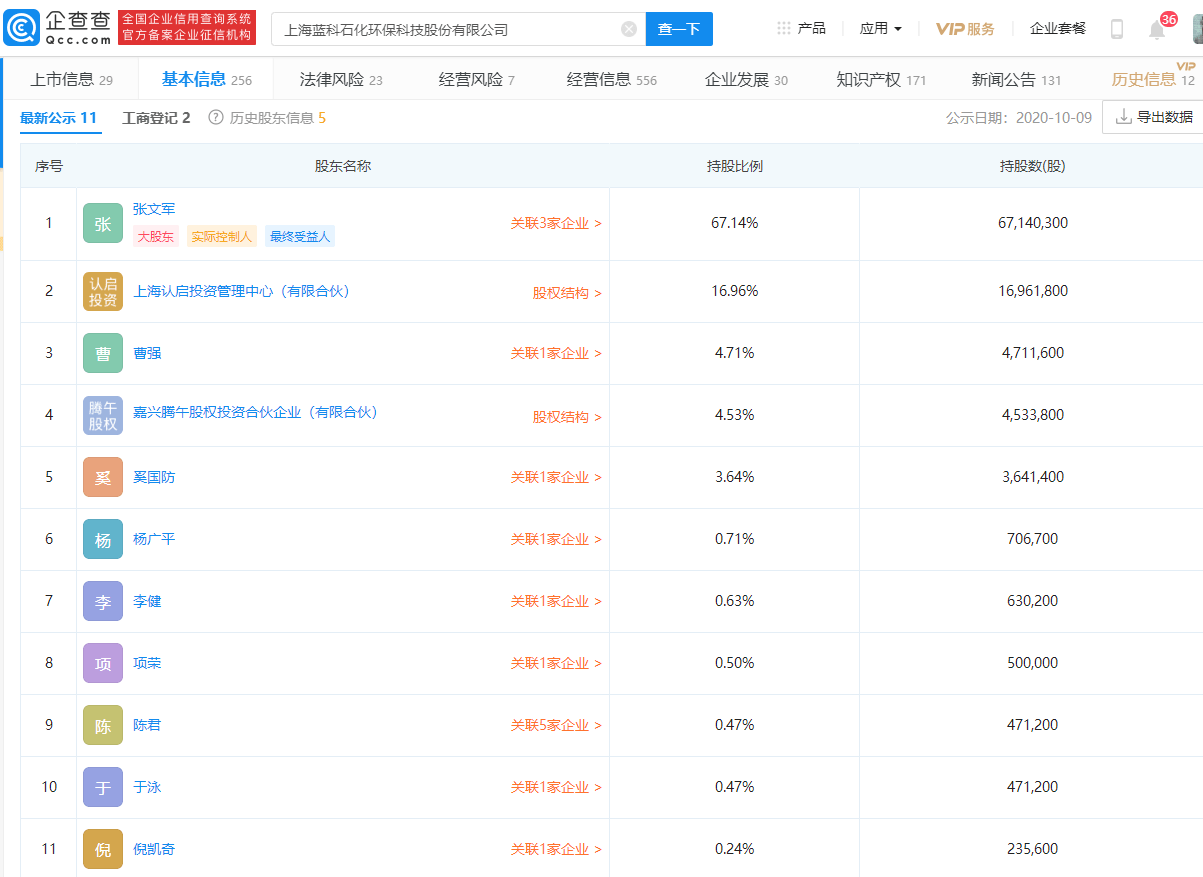
2月24日,上交所网站显示,蓝科环保、德威华泰和国光信息3家科创板申报企业审核状态更新为“终止”,均为主动撤单。21世纪经济报道记者注意到,...
年报亏损,研发费用偏低,此前还收到民事诉讼,在区域的局限性和终端消费市场的滞销的影响下,兰州黄河或发展滞后。近期,啤酒上市公司兰州黄河企业股...
经营评价被降级,公司产品审核现问题被通报,五年四次增资,复星保德信问题重重,同时其成立至今尚未能摆脱亏损的泥潭。作为一家中外合资的寿险公司,...
深圳千福之家涉嫌非法集资:采取会员制模式
当代系旗下睿通致和兑付风险调查:投资千万
水滴招股书曝风险:创始人被追讨10亿 保
友信金服旗下好分期违规套路贷 资金端人人
百融云创旗下榕树贷涉高利贷 蓝海银行借其
金辉控股降负债秘密:非控股权益暴增2.2
“假保单案”牵出人保寿险年金险悬疑 营销
武汉睿通致和私募产品未兑付背后:“当代系
惠州“CP长者屋”爆雷涉嫌违法 碧桂园或
水滴赴美IPO:9成营收来自保险佣金 公
杭州米友圈科技涉嫌传销 山东淄博法院冻结
惠州养老机构“长者屋”爆雷:千名老人亿元